GM Service Manual Online
For 1990-2009 cars only

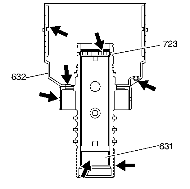
    Object Number: 10644  Size: SH
  1. Inspect the input clutch housing assembly (632) for the following:
  2. • Plugged feed passages
    • Worn or damaged splines
    • Input shaft bushing (631) wear
    • Seal ring groove nicks or burrs
    • Cracks or blocked fluid passages in the input shaft
    • Damage or wear to the thrust bearing (723) in the input clutch housing
  3. With the ball check valve assembly in its seated position in transmission fluid, inspect the assembly for leaks.

  4. Object Number: 399739  Size: SH
  5. Inspect the input clutch piston (636) for the following:
  6. • Cracks or damage to seal grooves
    • Wear on piston lugs
  7. Inspect the input clutch spring and retainer assembly (637) for a damaged cage and distorted or missing springs.
  8. Inspect the third clutch piston housing (639) for damage.
  9. Inspect the third clutch spring retainer and guide assembly (643) for a damaged cage and distorted or missing springs.
  10. Important: Do not attempt to reuse the third clutch piston and seal assembly.

  11. Replace the third clutch piston and seal assembly (642).

  12. Object Number: 10647  Size: SH
  13. Inspect the input shaft thrust bearing assembly (644) for damage or wear.