GM Service Manual Online
For 1990-2009 cars only
Makes
🢒
Buick
🢒
2001
🢒
LeSabre
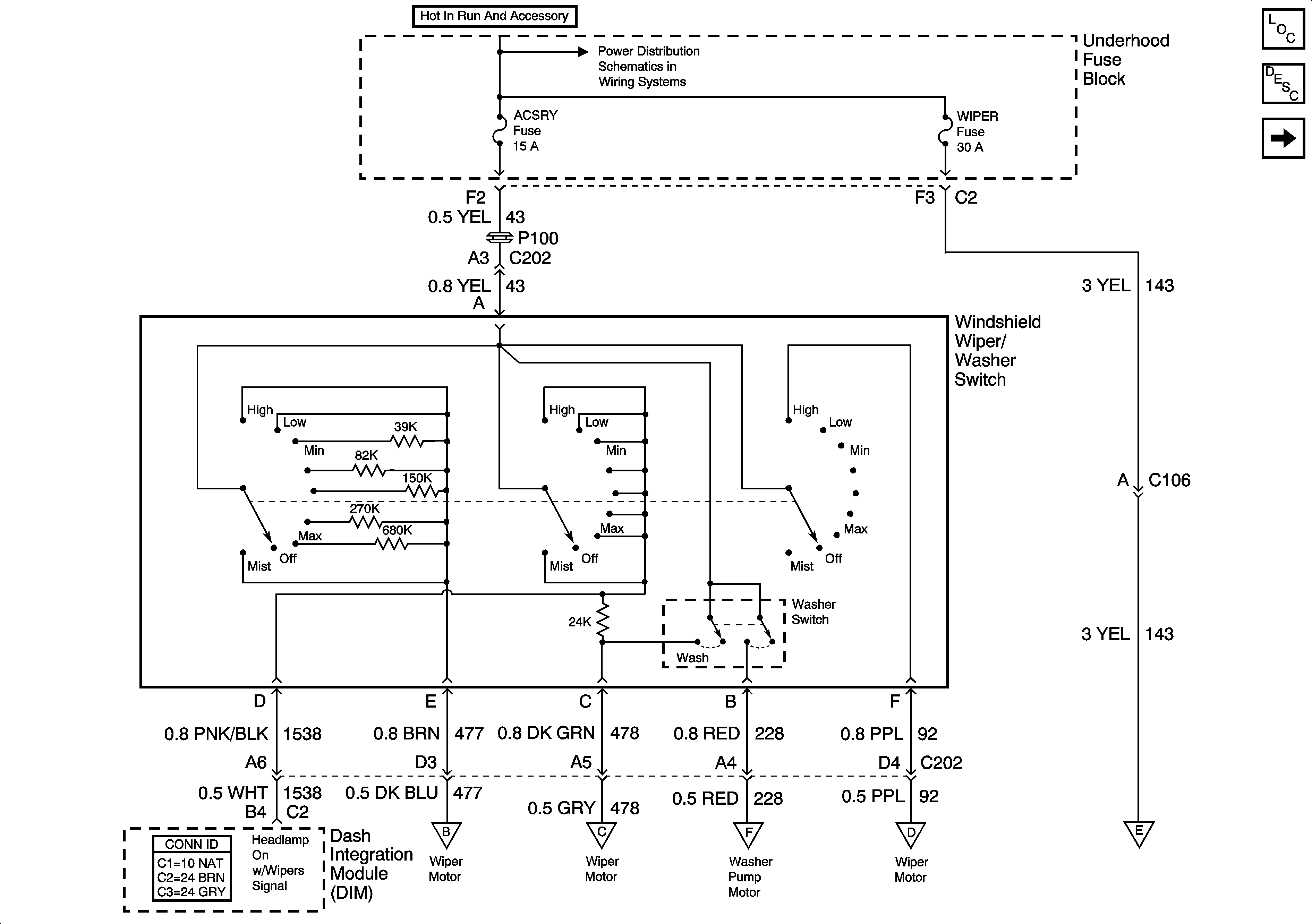
🢒 Wiper/Washer Switch and Fuse
Wiper/Washer Switch and Fuse
Wiper/Washer Switch and Fuse
Wiper/Washer System Components
Wiper/Washer System Circuit Description
Wiper/Washer Motor
AIR, C/LTR, AUX PWR, WSW, ACCY Fuses and ACCY Relay (Underhood Fuse Block)
Wiper/Washer Motor
Handling ESD Sensitive Parts Notice