GM Service Manual Online
For 1990-2009 cars only
Makes
🢒
Buick
🢒
2002
🢒
LeSabre
🢒
Transmission/Transaxle
🢒
Shift Lock Control
🢒 Shift Lock Control Schematics
Figure
1:
A/T Shift Lock Control Solenoid: Class 2
Master Electrical Component List
Automatic Transmission Shift Lock Control Description and Operation
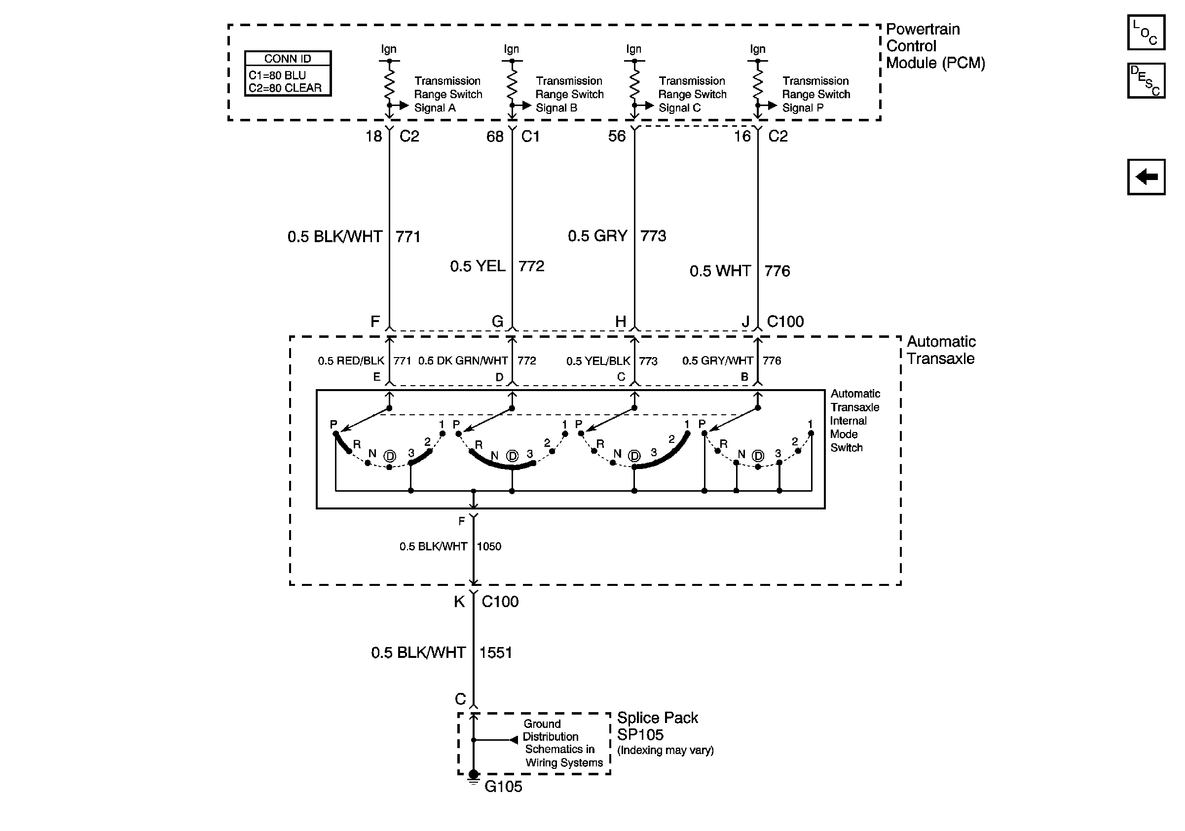
Internal Mode Switch Inputs
G200 (1 of 2)
Serial Data Class 2
IGN SW and NSBU Fuses (Rear Fuse Block)
IGN SW and NSBU Fuses (Rear Fuse Block)
Figure
2:
Internal Mode Switch (IMS) Inputs
Master Electrical Component List
Automatic Transmission Shift Lock Control Description and Operation
Automatic Transmission Shift Lock Control Solenoid: Class 2
G104 and G105