GM Service Manual Online
For 1990-2009 cars only
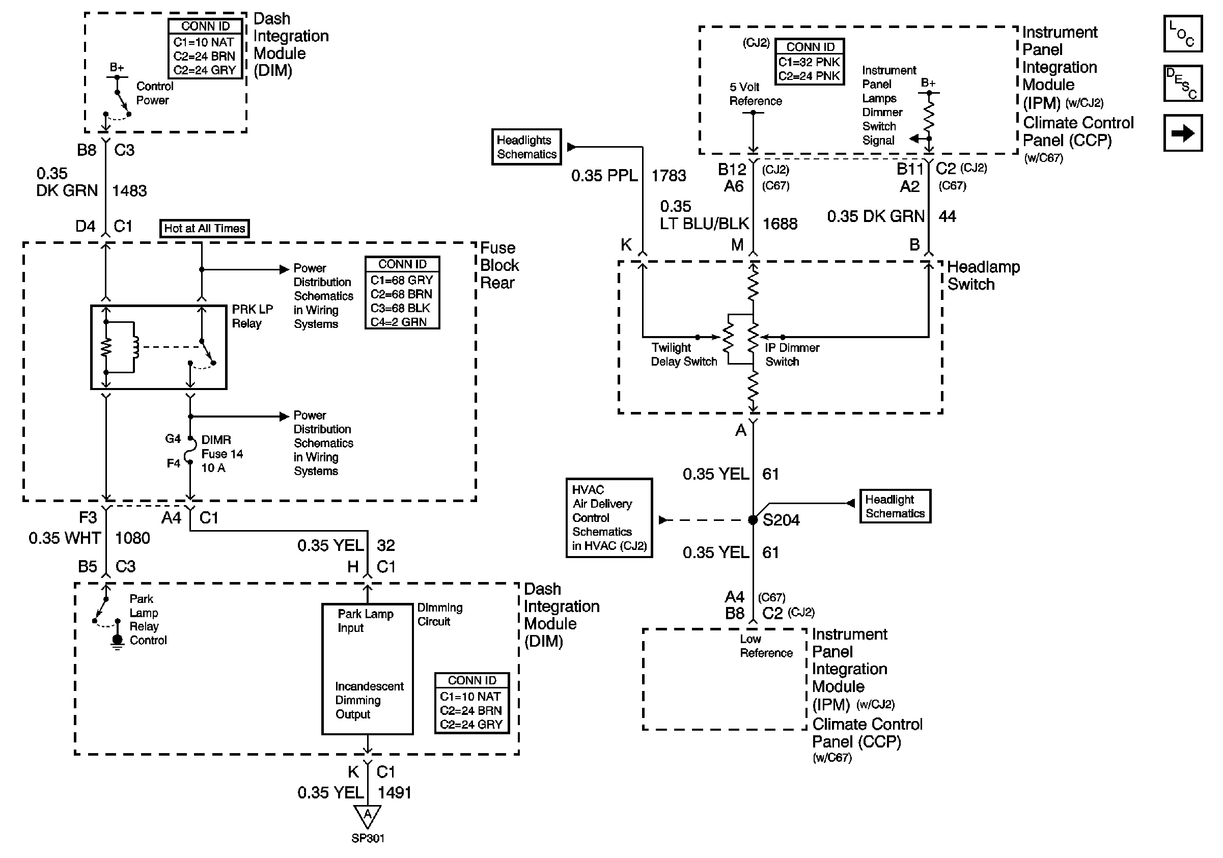
Figure 1:

Dimming Control


Object Number: 686220  Size: FS
Master Electrical Component List
Instrument Panel And Console Dimming
Headlamp Switch and Sunload Sensor Assembly (w/CJ2)
Temperature Sensors (w/CJ2)
Instrument Panel And Console Dimming
PRK LP Relay, LP PK L, LP PK R, and DIMR Fuses (Fuse Block Rear)
PRK LP Relay, LP PK L, LP PK R, and DIMR Fuses (Fuse Block Rear)
G203 and G204 (Utility w/ Manual A/C)
Figure 2:

Instrument Panel And Console Dimming


Object Number: 686225  Size: FS
Master Electrical Component List
Steering Wheel Controls Dimming
Dimming Control
Steering Wheel Controls Dimming
G201
G201
G200 (2 of 2)
Dimming Control
Figure 3:

Steering Wheel Controls Dimming


Object Number: 686235  Size: FS
Master Electrical Component List
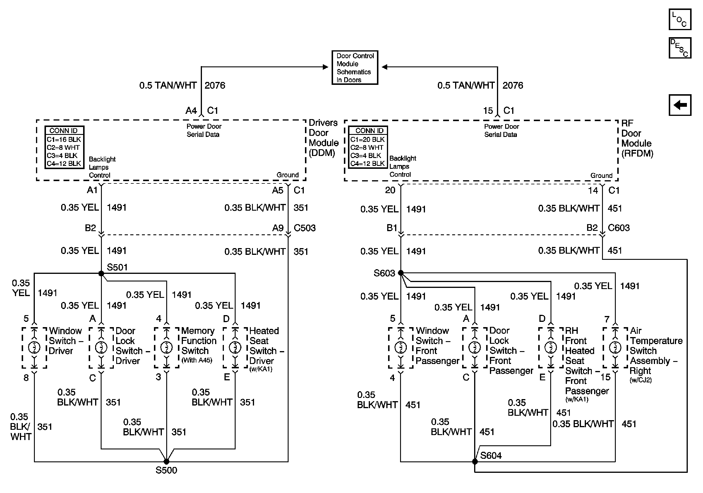
Front Doors Dimming
Instrument Panel And Console Dimming
G200 (1 of 2)
G200 (1 of 2)
Instrument Panel And Console Dimming
Figure 4:

Front Doors Dimming


Object Number: 686240  Size: FS
Master Electrical Component List
Steering Wheel Controls Dimming
Driver Door