GM Service Manual Online
For 1990-2009 cars only
Makes
🢒
Buick
🢒
2002
🢒
LeSabre
🢒 Rear Window Defogger
Rear Window Defogger
Rear Window Defogger
Master Electrical Component List
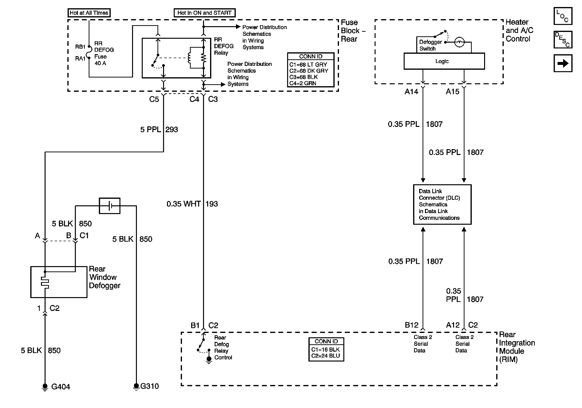
Defogger Schematics (w/CJ2)
Serial Data Class 2
ELC, RR DEFOG and TRK/REL Relays, RR DEFOG and ALDL Fuses (Fuse Block Rear)
ELC, RR DEFOG and TRK/REL Relays, RR DEFOG and ALDL Fuses (Fuse Block Rear)