GM Service Manual Online
For 1990-2009 cars only
Makes
🢒
Buick
🢒
2002
🢒
LeSabre
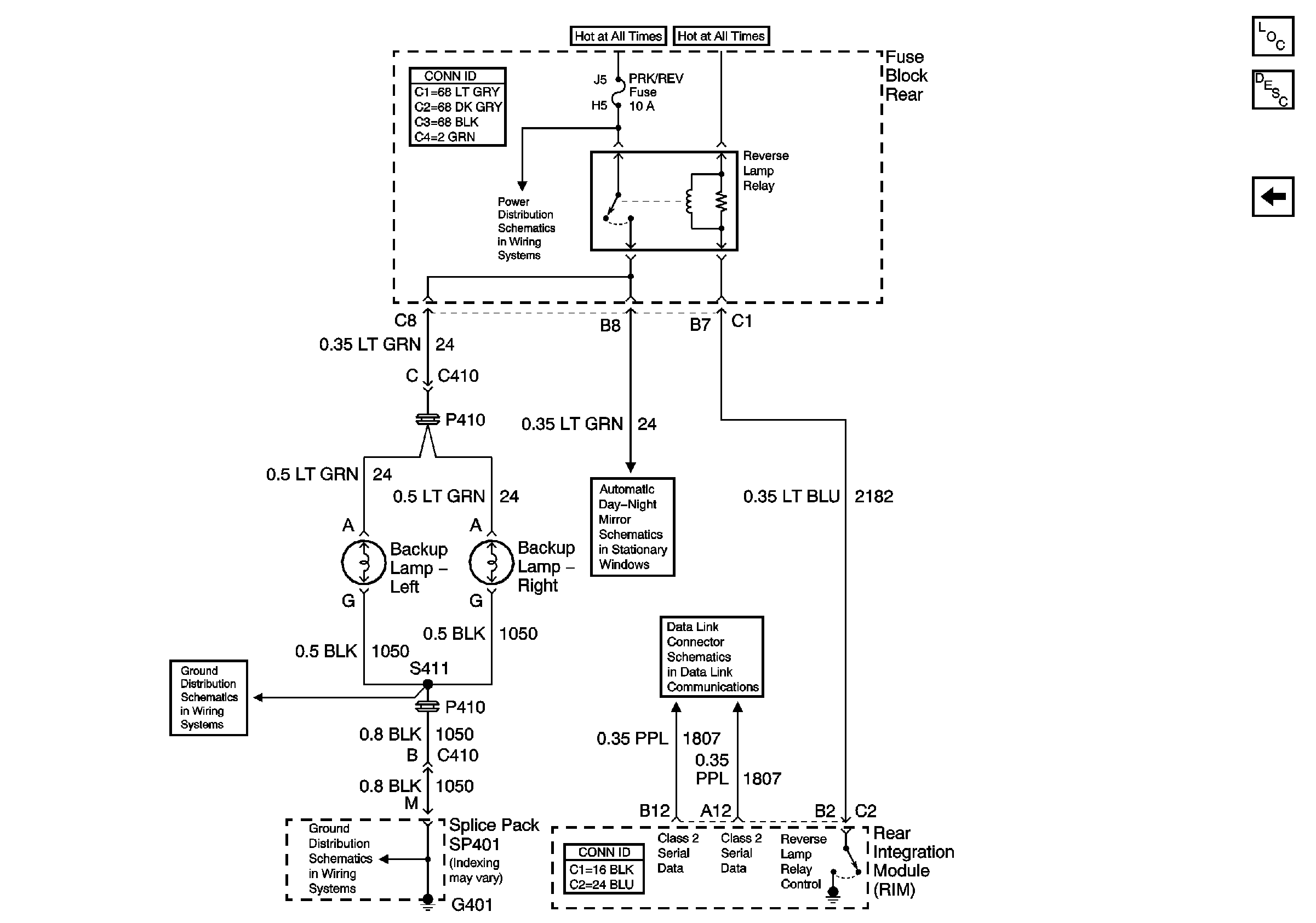
🢒 Backup Lights
Backup Lights
Backup Lights
Master Electrical Component List
Passengers Side Exterior Lamps
Serial Data Class 2
G401 (1 of 2)
G401 (1 of 2)
Inside Rear View Mirror (w/DD7 or w/DD8)
IGN SW and NSBU Fuses (Fuse Block Rear)