GM Service Manual Online
For 1990-2009 cars only
Figure 1:

Audio Systems Power and Grounds


Object Number: 887770  Size: FS
Master Electrical Component List
Radio Speaker Output
G200 (2 of 2)
G200 (2 of 2)
G301 (2 of 2)
Serial Data Class 2
Serial Data Class 2
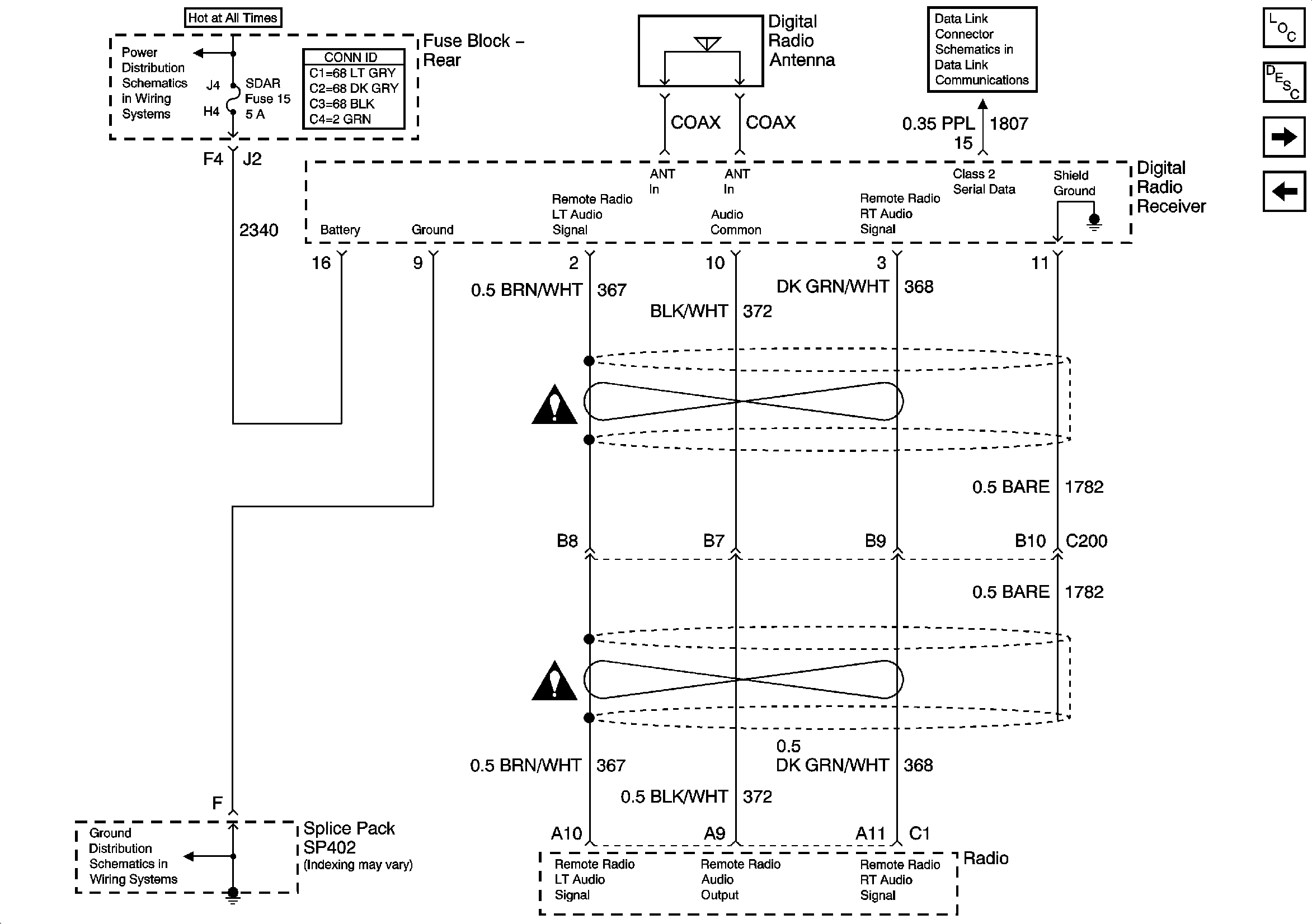
Figure 2:

Digital Radio Reciever (U2L)


Object Number: 870077  Size: FS
Master Electrical Component List
Radio Speaker Output
Audio Systems Power and Grounds
Audio Systems Power and Grounds
Figure 3:

Radio Speaker Output


Object Number: 685321  Size: FS
Master Electrical Component List
Antenna Module
Audio Systems Power and Grounds
Entertainment Schematic Icons
Entertainment Schematic Icons
Entertainment Schematic Icons
Entertainment Schematic Icons
Entertainment Schematic Icons
Entertainment Schematic Icons
Entertainment Schematic Icons
Figure 4:

Antenna Module


Object Number: 685327  Size: FS
Master Electrical Component List
Radio Speaker Output