GM Service Manual Online
For 1990-2009 cars only
Makes
🢒
Buick
🢒
2003
🢒
LeSabre
🢒
Body and Accessories
🢒
Body Control System
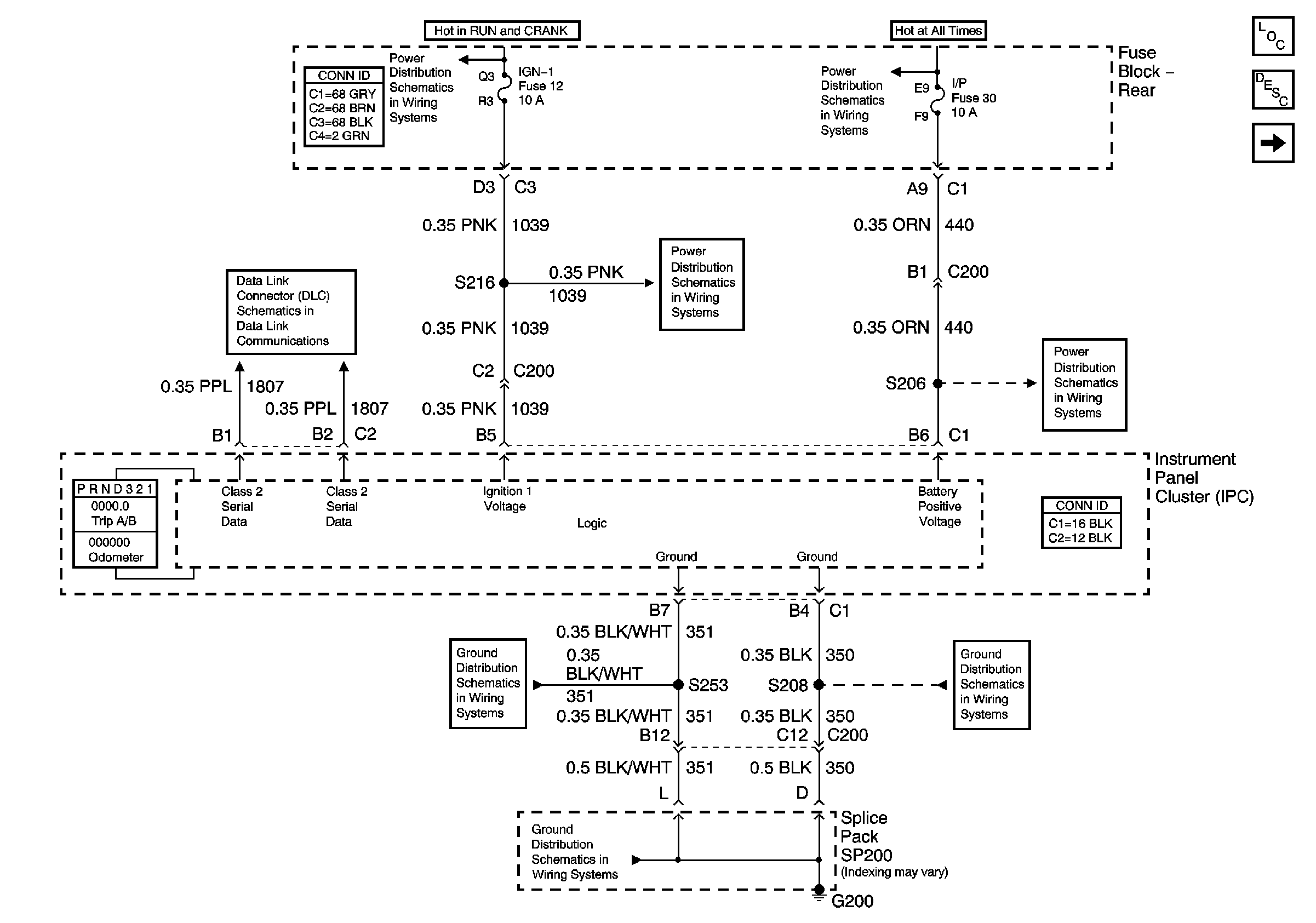
🢒 Instrument Cluster Schematics
Figure
1:
Power , Ground and Class 2
Master Electrical Component List
Gauges
IGN-1, VENT SOL, and SIR Fuses (Fuse Block Rear)
IP, CIGAR, AUX PWR and C/LTR Fuses and CIGAR Relay (Fuse Block Rear)
Serial Data Class 2
IGN-1, VENT SOL, and SIR Fuses (Fuse Block Rear)
IP, CIGAR, AUX PWR and C/LTR Fuses and CIGAR Relay (Fuse Block Rear)
G200 (1 of 2)
G200 (2 of 2)
G200 (1 of 2)
Figure
2:
Gages
Master Electrical Component List
Indicators
Power, Ground andClass 2
Head up Display Schematic
CCM, PCM Controls and Vehicle Speed Input
Serial Data Class 2
Fuel Controls - Fuel Pump Controls
Figure
3:
Indicators
Passengers Side Exterior Lamps
Master Electrical Component List
DIC Switch (w/U2E)
Gauges
Indicators and Traction Control Switch
Park Brake Switch and Brake Fluid Level Sensor
Serial Data Class 2
Module Power, Ground, Serial Data and MIL