GM Service Manual Online
For 1990-2009 cars only
Makes
🢒
Buick
🢒
2003
🢒
LeSabre
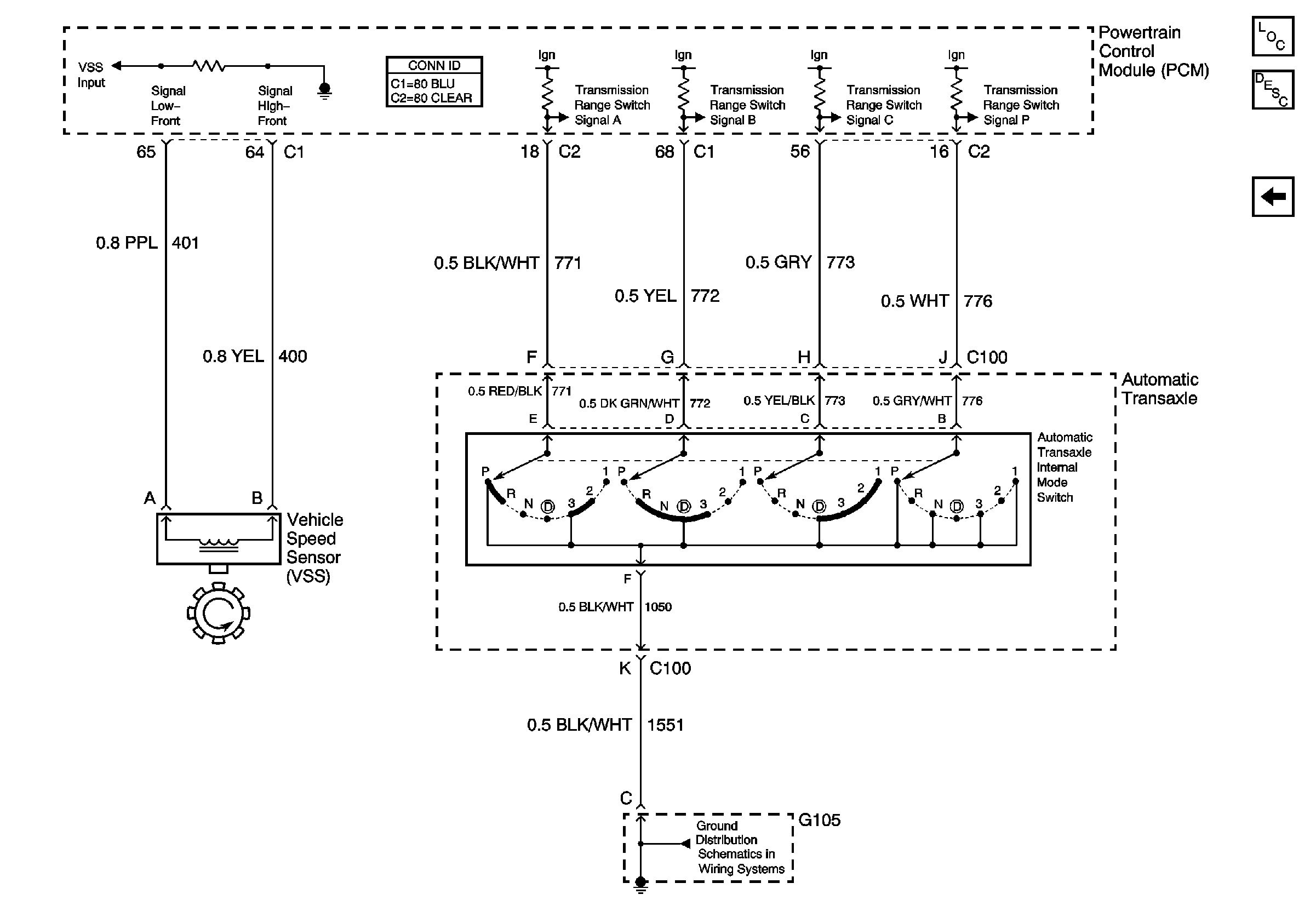
🢒 Internal Mode Switch Inputs
Internal Mode Switch Inputs
Internal Mode Switch Inputs
Master Electrical Component List
Automatic Transmission Shift Lock Control Description and Operation
Automatic Transmission Shift Lock Control Solenoid: Class 2
G104 and G105