GM Service Manual Online
For 1990-2009 cars only
Makes
🢒
Buick
🢒
2003
🢒
LeSabre
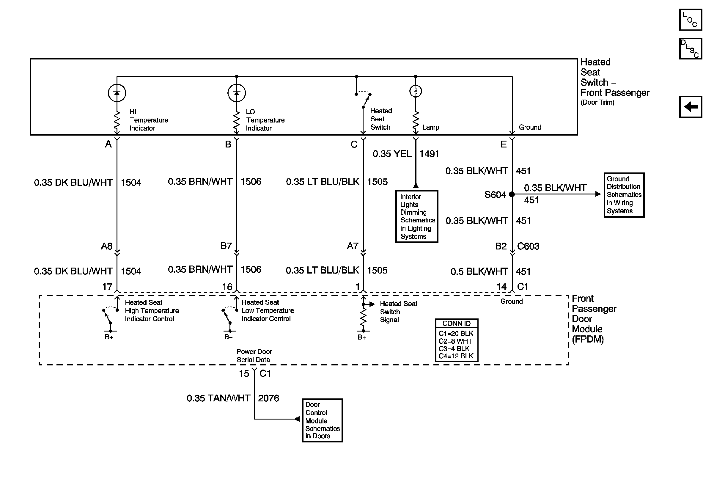
🢒 Front Passenger Front Heated Seat Switch
Front Passenger Front Heated Seat Switch
Front Passenger Front Heated Seat Switch
Master Electrical Component List
Driver Front Heated Seat Switch
Dimming Control
Power Door Serial Data