GM Service Manual Online
For 1990-2009 cars only
Makes
🢒
Buick
🢒
2004
🢒
LeSabre
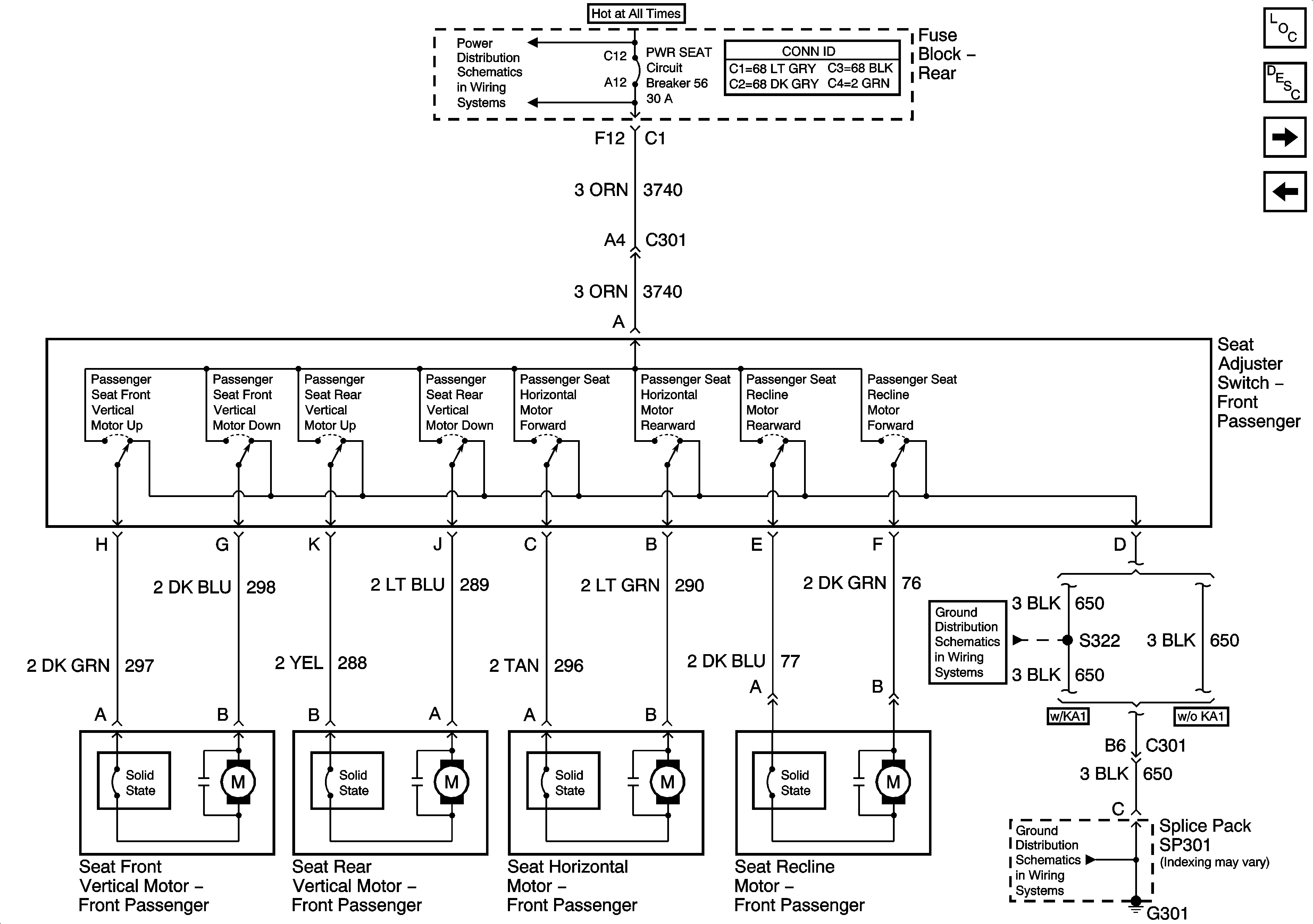
🢒 Front Passenger Seat Switch and Motors (w/AG2 and w/A81)
Front Passenger Seat Switch and Motors (w/AG2 and w/A81)
Front Passenger Seat Switch and Motors (w/AG2 and w/A81)
Master Electrical Component List
Front Passenger Front Heated Seat Module
Front Passenger Seat Switch and Motors (w/AG2)
G201
G201
PWR WDO and PWR SEAT Circuit Breakers (Fuse Block Rear)