GM Service Manual Online
For 1990-2009 cars only
Figure 1:

Interior Lamp Relay


Object Number: 887776  Size: FS
Master Electrical Component List
Interior Lighting Systems Description and Operation
Door Actuator Switches
Drivers Side Courtesy Lamps
Passenger Side Courtesy Lamps
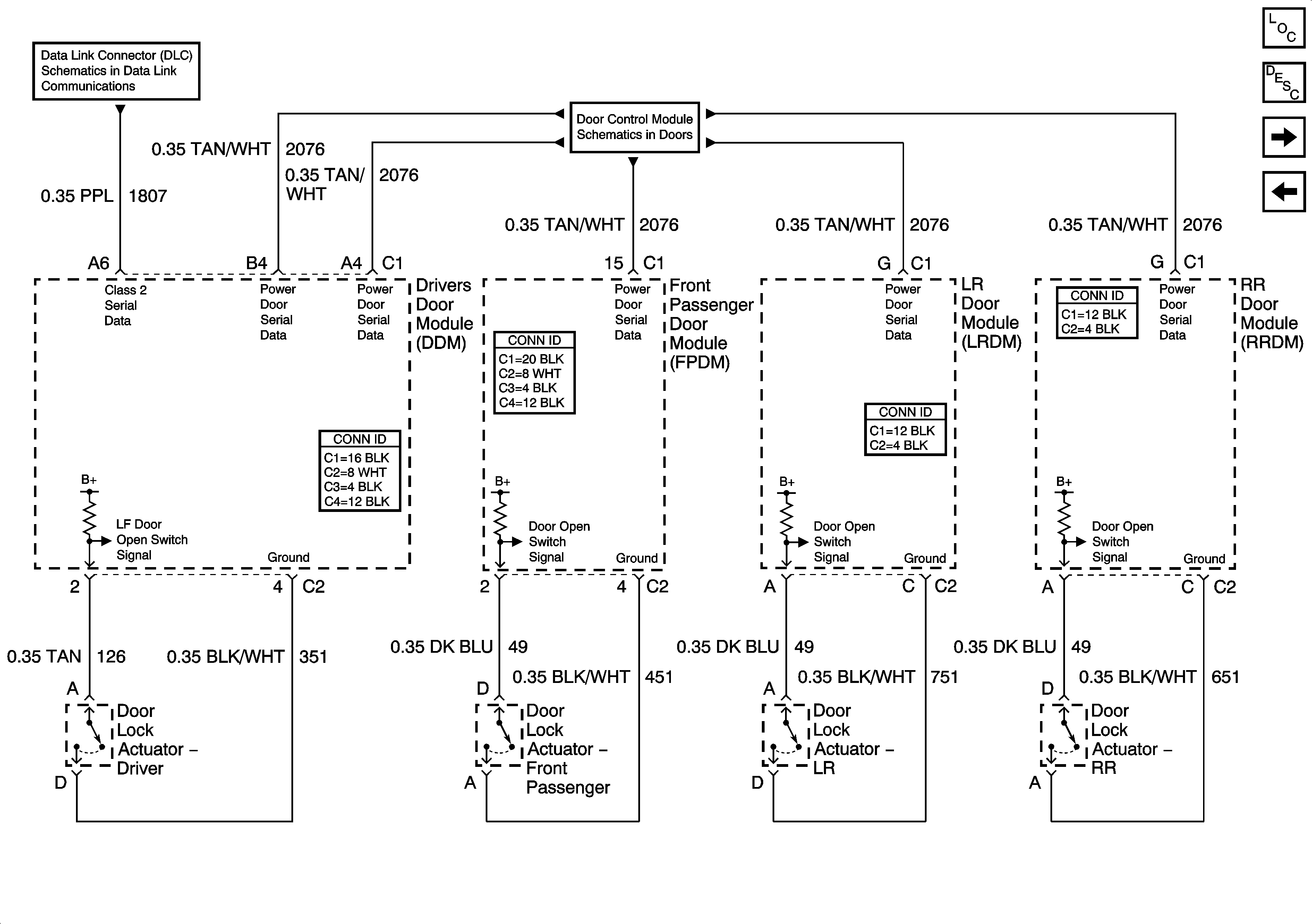
Figure 2:

Door Actuator Switches


Object Number: 1545421  Size: FS
Master Electrical Component List
Interior Lighting Systems Description and Operation
Drivers Side Courtesy Lamps
Interior Lamp Relay
Serial Data Class 2
Power Door Serial Data
Figure 3:

Driver Side Courtesy Lamps


Object Number: 686208  Size: FS
Master Electrical Component List
Interior Lighting Systems Description and Operation
Passenger Side Courtesy Lamps
Door Actuator Switches
Interior Lamp Relay
Courtesy/Reading Lamps and Vanity Mirrors
G401 - 2 of 2
Passenger Side Courtesy Lamps
Courtesy/Reading Lamps and Vanity Mirrors
Figure 4:

Passenger Side Courtesy Lamps


Object Number: 686213  Size: FS
Master Electrical Component List
Interior Lighting Systems Description and Operation
Courtesy/Reading Lamps and Vanity Mirrors
Drivers Side Courtesy Lamps
Interior Lamp Relay
G201
G201
Drivers Side Courtesy Lamps
Figure 5:

Courtesy/Reading Lamps and Vanity Mirrors


Object Number: 686216  Size: FS
Master Electrical Component List
Interior Lighting Systems Description and Operation
Passenger Side Courtesy Lamps
Drivers Side Courtesy Lamps
Drivers Side Courtesy Lamps
G402