GM Service Manual Online
For 1990-2009 cars only
Makes
🢒
Buick
🢒
2005
🢒
LeSabre
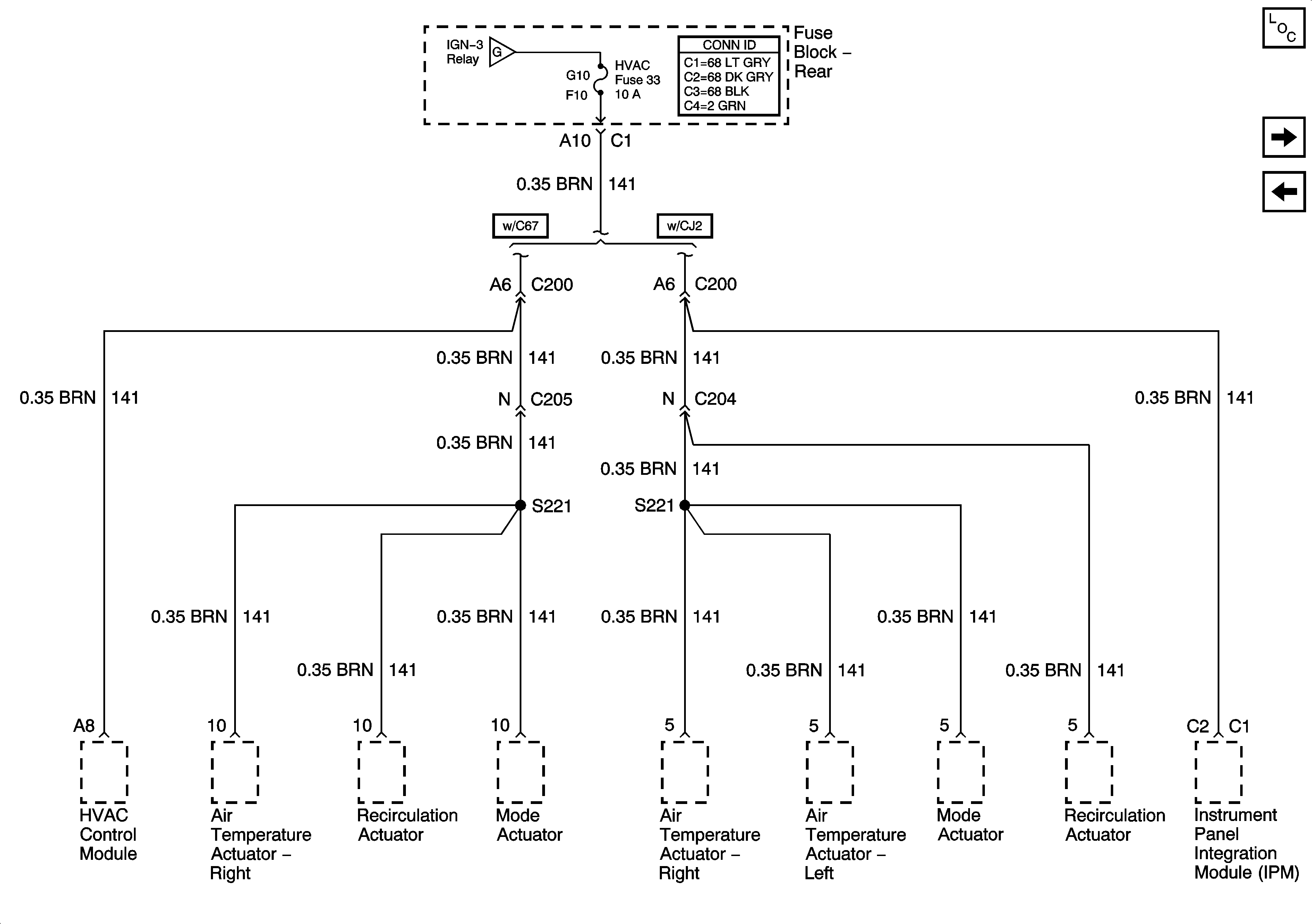
🢒 Block Rear - HVAC Fuse
Block Rear - HVAC Fuse
Rear Fuse Block - HVAC Fuse
Master Electrical Component List
Block Rear - HVAC BLO and AUDIO Fuses, RAP and F/PMP Relays
Fuse Block Rear - IGN-3 and ABS Fuses
Fuse Block Rear - IGN-3 and ABS Fuses