GM Service Manual Online
For 1990-2009 cars only

Underhood Noise, Loose or Out of Position Power Steering Outlet Hose or (P/S) Fluid Leak from Power Steering Outlet Hose (Replace or Properly Route and Secure the Power Steering Outlet Hose)

Subject:Underhood Noise, Loose or Out of Position Power Steering Outlet Hose, or (P/S) Fluid Leak from Power Steering Outlet Hose (Replace or Properly Route and Secure the Power Steering Outlet Hose)

Models:2006 Buick Lucerne
with Power Steering Pump (RPO L26)



Condition

Some customers may comment on an underhood noise, an out of position or loose power steering outlet hose, or a power steering fluid leak.

Cause

If the power steering outlet hose retainer is loose, and the power steering outlet hose is out of position, it may cause the power steering outlet hose to rub against the steering gear boot.

Correction

Inspect the power steering outlet hose. Replace power steering outlet hose or properly route and secure power steering outlet hose.


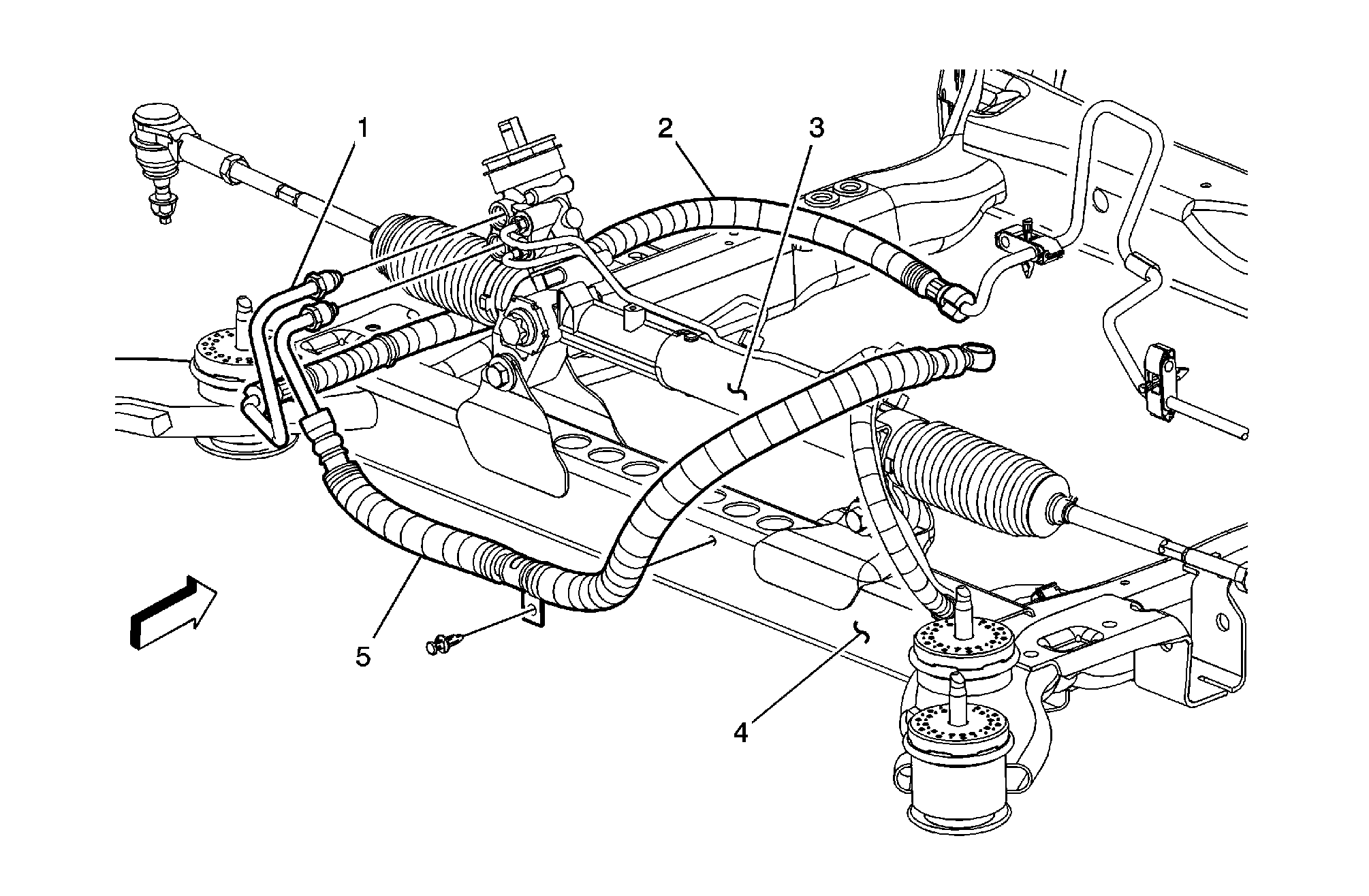
Object Number: 1759914  Size: SH
(1)Power Steering Outlet Hose
(2)Power Steering Outlet Hose
(3)Power Steering Gear
(4)Frame
(5)Power Steering Inlet Hose

    Object Number: 802323  Size: SH
  1. Inspect the power steering outlet hose and power steering outlet hose retainers.
  2. • If the power steering outlet hose is loose or out of position, but there is no power steering fluid leak or damage to the power steering outlet hose, properly route, secure, and install the power steering outlet hose and power steering outlet hose retainers. Ensure the power steering outlet hose retainers are not out of position and seated firmly into frame.
    • If the power steering outlet hose is cut, scraped, or damaged, replace the hose. Refer to step 2.
    • If fluid is leaking from the power steering outlet hose, replace the hose. Refer to step 2.
  3. Remove the power steering outlet hose from vehicle. Replace it with a new power steering outlet hose, P/N 25756516. Refer to Power Steering Return Hose Replacement in SI.
  4. Inspect the routing of the power steering outlet hose to ensure that the hose will not rub against the steering gear boot. Ensure the power steering outlet hose and power steering outlet hose retainers are not loose or out of position.

Parts Information

Part Number

Description

Qty

25756516

Power Steering Outlet Hose

1

Warranty Information

For vehicles repaired under warranty, use:

Labor Operation

Description

Labor Time

E8623

Hoses, Power Steering Hydraulic Return -- Replace

Use Published Labor Operation Time

E9434

Inspect and Reroute Hose, Power Steering Hydraulic Return

0.5 hr