GM Service Manual Online
For 1990-2009 cars only

Object Number: 1680861  Size: MF

Callout

Component Name

Fastener Tightener Specifications: Refer to Fastener Tightening Specifications .

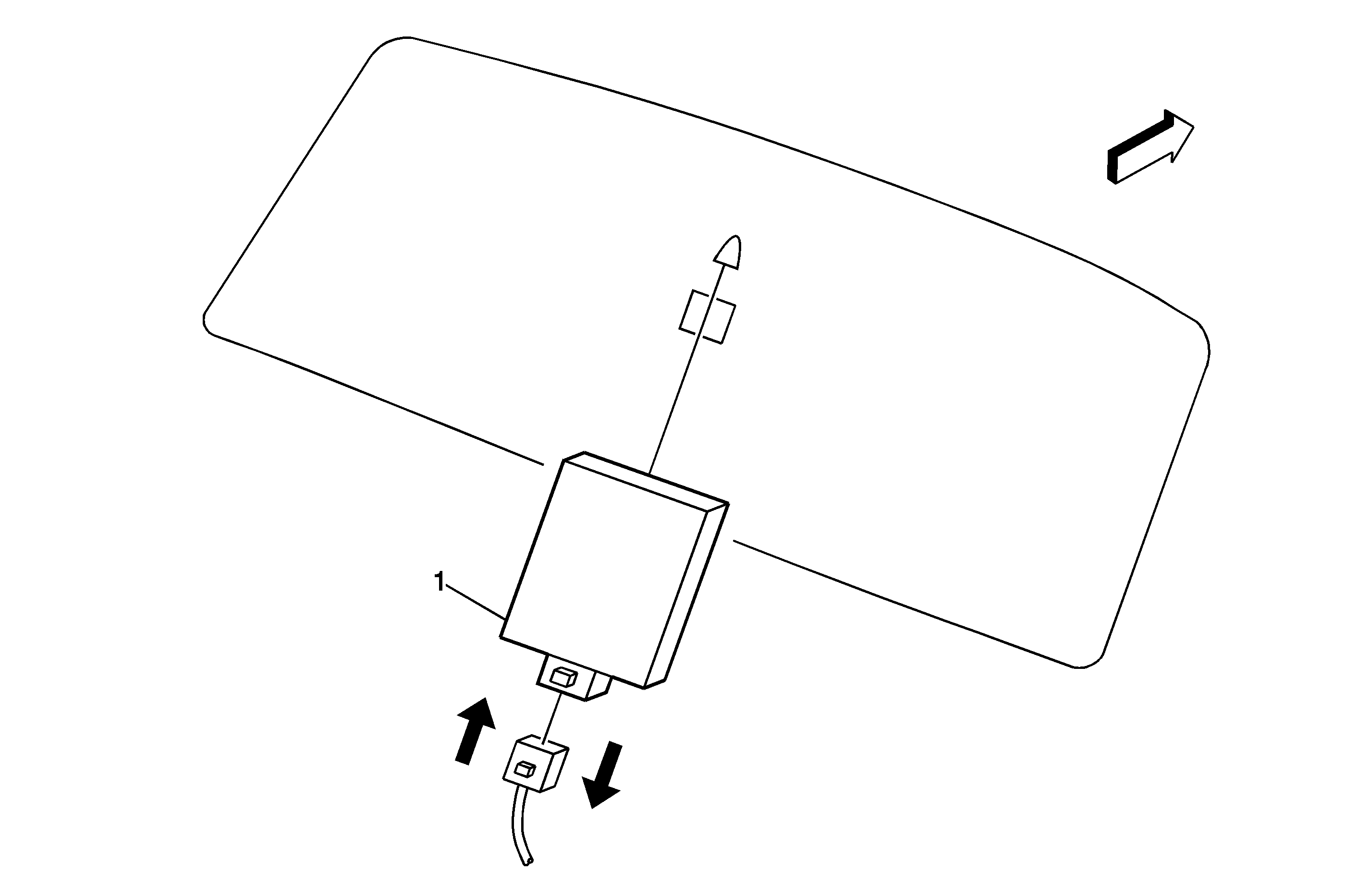
1

Windshield Outside Moisture Sensor

Tip

  1. Disconnect the electrical connector.
  2. Unclip the sensor from the windshield.