GM Service Manual Online
For 1990-2009 cars only
Makes
🢒
Buick
🢒
2008
🢒
Lucerne
🢒
Engine
🢒
Cruise Control
🢒 Cruise Control Schematics
Figure
1:
ON/OFF Switch
Master Electrical Component List
Cruise Control Description and Operation
Control Module References
Indicators
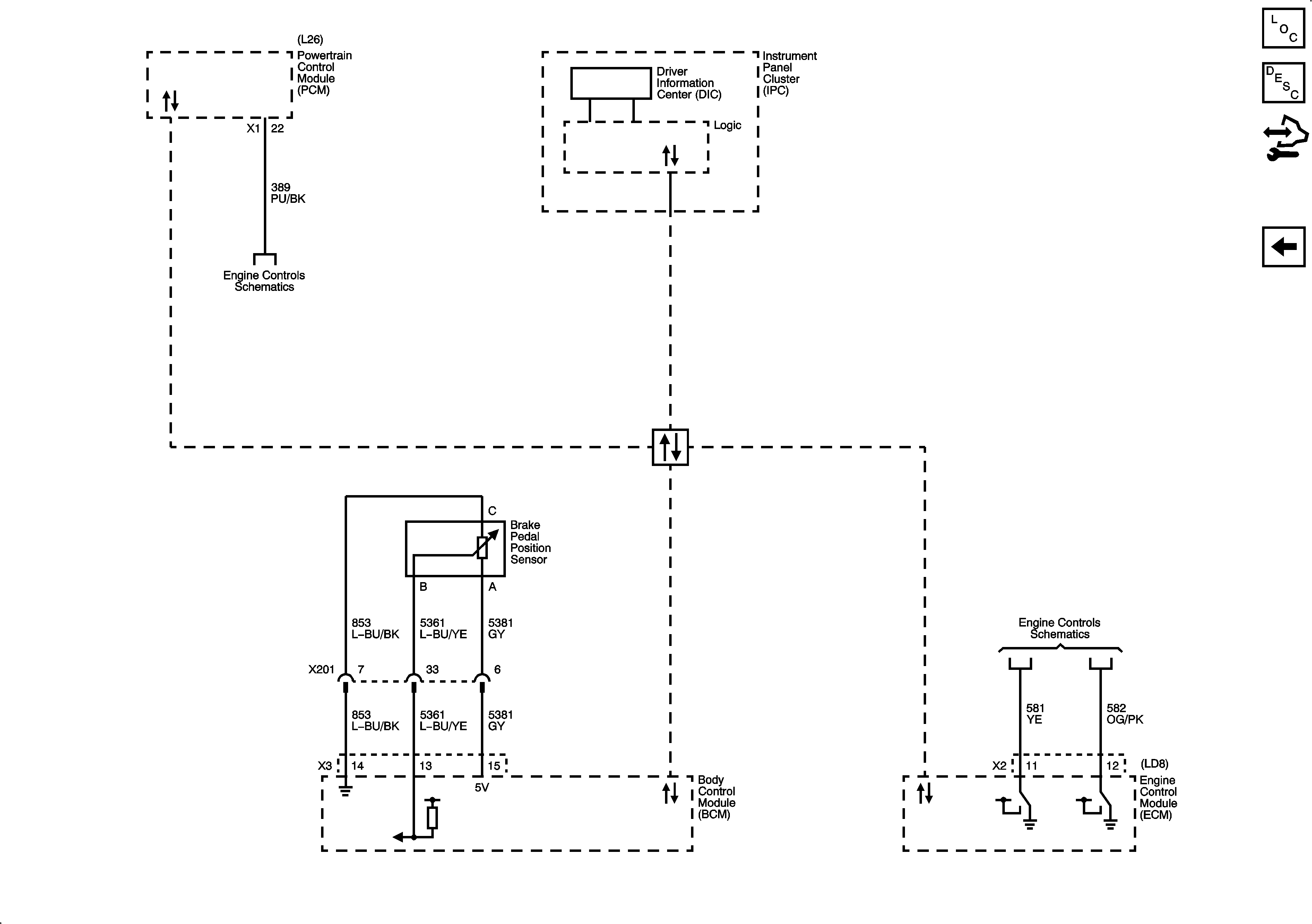
Figure
2:
Indicators
Master Electrical Component List
Cruise Control Description and Operation
Control Module References
ON/OFF Switch