GM Service Manual Online
For 1990-2009 cars only
Connector 1: X100 Body Harness to Wiper Harness
Connector 2: X101 Engine Harness to Transmission Harness (4T65-E)
Connector 3: X101 Engine Harness to Transmission Harness (4T80-E)
Connector 4: X108 Engine Harness to Knock Sensor Jumper Harness (L26)
Connector 5: X109 Engine Coolant Temperature (ECT) Sensor Jumper Harness to Engine Harness (L26 without NU6)
Connector 6: X110 Engine Harness to Ignition Control Module (ICM) Harness (L26)
Connector 7: X111 Engine Harness to Body Harness
Connector 8: X113 Forward Lamp Harness to Left Front Head Lamp Assembly Harness
Connector 9: X114 Forward Lamp Harness to Right Front Head Lamp Assembly Harness
Connector 10: X120 Forward Lamp Harness to Body Harness
Connector 11: X138 Engine Harness to Engine Jumper Harness (LD8/L37)
Connector 12: X139 Engine Harness to Ignition Coil Harness (LD8/L37)
Connector 13: X140 Engine Harness to Ignition Coil Harness (LD8/L37)
Connector 14: X161 Engine Harness to Starter Harness (LD8/L37)
Connector 15: X200 Body Harness to I/P Harness
Connector 16: X201 Body Harness to I/P Harness
Connector 17: X202 I/P Harness to HVAC Harness
Connector 18: X203 I/P Harness to Steering Column Harness
Connector 19: X205 Body Harness to Steering Column Harness
Connector 20: X206 Body Harness to HVAC Harness
Connector 21: X217 Steering Column Harness to Body Harness
Connector 22: X208 I/P Top Pad Harness to I/P Harness
Connector 23: X210 I/P Harness to Inflatable Restraint I/P Module Jumper Harness
Connector 24: X216 Body Harness to I/P Harness
Connector 25: X217 Steering Column Harness to Body Harness
Connector 26: X219 I/P Harness to Ashtray Lamp Harness (AN3)
Connector 27: X240 Steering Wheel Heater Jumper (NR7)
Connector 28: X276 Steering Column Harness to Inflatable Restraint Steering Wheel Module Coil
Connector 29: X277 Inflatable Restraint Steering Wheel Module Coil to Steering Wheel Harness
Connector 30: X304 Body Harness to Left Inflatable Restraint Roof Rail Module Harness (AY0)
Connector 31: X305 Body Harness to Right Inflatable Restraint Roof Rail Module Harness (AY0)
Connector 32: X308 Rear Wheel Speed Sensor Harness to Body Harness
Connector 33: X309 Body Harness to Fuel Tank Harness
Connector 34: X311 Left Inflatable Restraint Side Impact Module Harness to Body Harness (AY0)
Connector 35: X312 Right Inflatable Restraint Side Impact Module Harness to Body Harness (AY0)
Connector 36: X314 Body Harness to the Right Front Seat Harness (AG2/AH8)
Connector 37: X315 Body Harness to Left Front Seat Harness (AG1/AE8)
Connector 38: X321 Headliner Harness to Body Harness
Connector 39: X325 Body Harness to Body Control Module Harness
Connector 40: X326 Body Harness to Body Control Module Harness
Connector 41: X335 Negative Battery Cable Harness to Body Harness
Connector 42: X340 Console Harness to Body Harness (A51)
Connector 43: X350 Right Front Seat Back to Recline Motor (AH8)
Connector 44: X351 Left Front Seat Back to Recline Motor (AE8/A45)
Connector 45: X352 Left Front Seat Back to Recline Motor (AH8)
Connector 46: X354 Front Passenger Seat to Lumbar Motor (AE8)
Connector 47: X397 Sunroof Harness to Body Harness (CF5)
Connector 48: X399 Sunroof Harness to Headliner Harness (CF5)
Connector 49: X445 Rear Shelf Harness to Body Harness
Connector 50: X494 Rear Fascia Harness to Body Harness (UD7)
Connector 51: X495 Rear Fascia Harness to Body Harness (without UD7)
Connector 52: X497 Center High Mounted Stop Lamp Harness to Body Harness
Connector 53: X498 Body Harness to Left Tail Lamp Assembly Harness
Connector 54: X499 Body Harness to Right Tail Lamp Assembly Harness
Connector 55: X500 Body Harness to Left Front Door Harness
Connector 56: X501 Left Front Door Harness to Left Front Door Trim Harness
Connector 57: X600 Body Harness to Right Front Door Harness
Connector 58: X601 Right Front Door Harness to Right Front Door Trim Harness
Connector 59: X700 Left Rear Door Harness to Left Rear Door Trim Harness
Connector 60: X710 Body Harness to Left Rear Door Harness
Connector 61: X800 Right Rear Door Harness to Right Rear Door Trim Harness
Connector 62: X810 Body Harness to Right Rear Door Harness
Connector 63: X900 Body Harness to Right Auxiliary Tail Lamp Assembly Harness
Connector 64: X901 Body Harness to Left Auxiliary Tail Lamp Assembly Harness

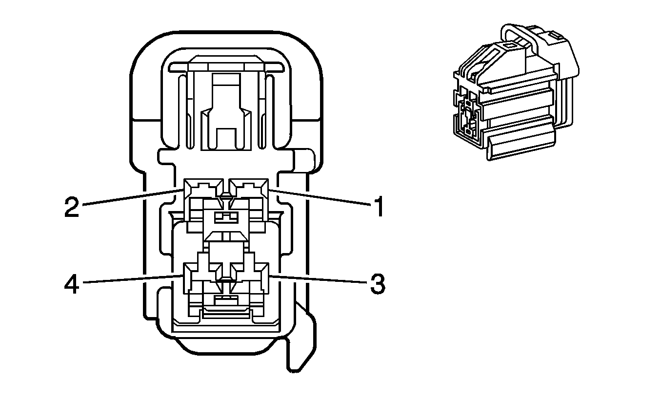
X100 Body Harness to Wiper Harness


Object Number: 1715265  Size: CH

Object Number: 1707500  Size: CH

Connector Part Information

  • OEM: 7283-5571-30
  • Service: See Catalog
  • Description: 4-Way F YESC Series (D-GY)

Connector Part Information

  • OEM: 7282-5571-30
  • Service: See Catalog
  • Description: 4-Way M YESC Series (D-GY)

Terminal Part Information

  • Pins: 1, 3, 4
  • Terminal/Tray: 7116-4151-02/9
  • Core/Insulation Crimp: C/1
  • Release Tool/Test Probe: 12094430/J-35616-4A (PU)
  • Pins: 2
  • Terminal/Tray: 7116-4150-02/9
  • Core/Insulation Crimp: E/1
  • Release Tool/Test Probe: 12094430/J-35616-4A (PU)

Terminal Part Information

  • Pins: 1, 3, 4
  • Terminal/Tray: 7114-4151-02/9
  • Core/Insulation Crimp: C/1
  • Release Tool/Test Probe: 12094430/J-35616-5 (PU)
  • Pins: 2
  • Terminal/Tray: 7114-4150-02/9
  • Core/Insulation Crimp: E/1
  • Release Tool/Test Probe: 12094430/J-35616-5 (PU)

X100 Body Harness to Wiper Harness

Pin

Wire

Circuit

Function

Pin

Wire

Circuit

Function

1

1 BK

150

Ground

1

1 BK

150

Ground

2

1 YE/PU

196

Windshield Wiper Motor Park Switch Signal

2

1 YE

196

Windshield Wiper Motor Park Switch Signal

3

1 D-GN

95

Windshield Wiper Motor Low Speed Control

3

1 D-GN

95

Windshield Wiper Motor Low Speed Control

4

1 PU

92

Windshield Wiper Motor High Speed Control

4

1 PU

92

Windshield Wiper Motor High Speed Control

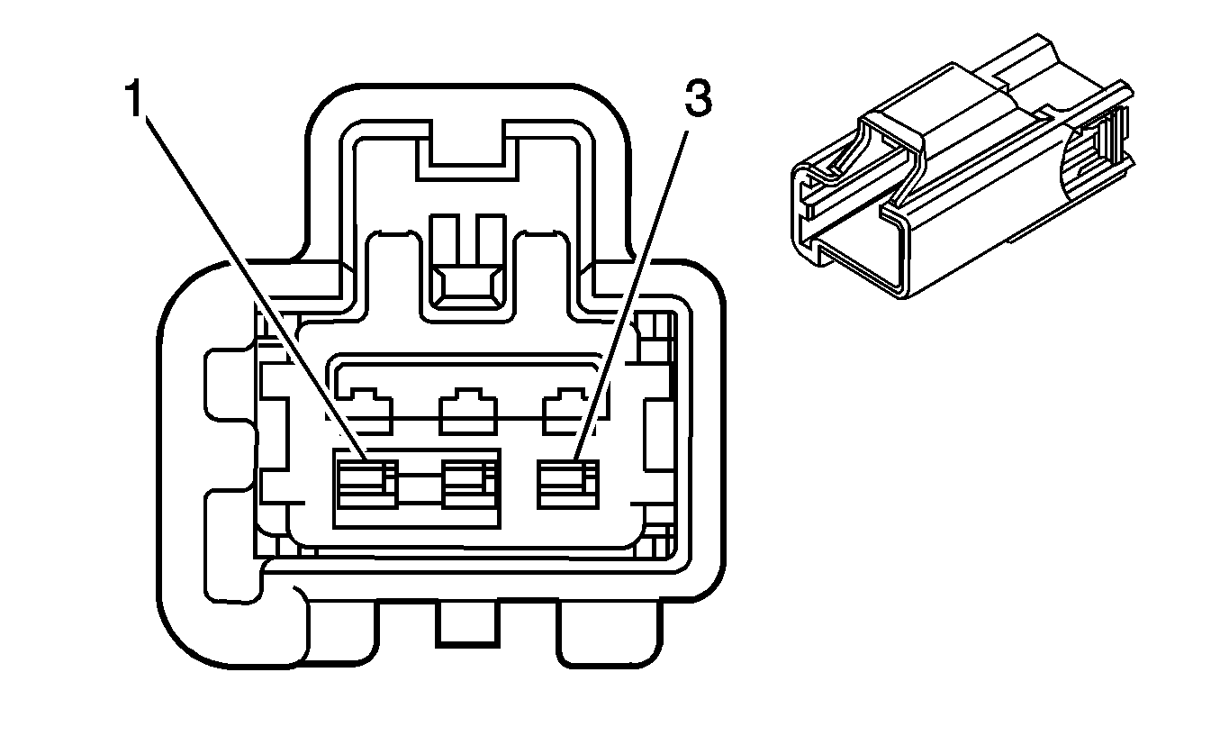
X101 Engine Harness to Transmission Harness (4T65-E)


Object Number: 1067511  Size: CH

Object Number: 553616  Size: CH

Connector Part Information

  • OEM: 15305235
  • Service: 15305235
  • Description: 20-Way F Micro-Pack 100 W Series (BK)

Connector Part Information

  • OEM: 15443073
  • Service: Non-Serviceable
  • Description: 20-Way M Micro-Pack 100 W Series Lock Assist/Seal (GY)

Terminal Part Information

  • Terminal: 12084913
  • Core/Insulation Crimp: C
  • Release Tool/Test Probe: See Terminal Repair Kit

Terminal Part Information

  • Terminal: See Terminal Repair Kit
  • Core/Insulation Crimp: See Terminal Repair Kit
  • Release Tool/Test Probe: See Terminal Repair Kit

X101 Engine Harness to Transmission Harness (4T65-E)

Pin

Wire

Circuit

Function

Pin

Wire

Circuit

Function

A

0.5 L-GN

1222

1-2 Shift Solenoid Valve Control

A

0.5 L-GN

1222

1-2 Shift Solenoid Valve Control

B

0.5 OG

1223

2-3 Shift Solenoid Valve Control

B

0.5 YE

1223

2-3 Shift Solenoid Valve Control

C

0.5 OG/WH

1228

Pressure Control (PC) Solenoid Valve High Control

C

0.5 PU

1228

Pressure Control (PC) Solenoid Valve High Control

D

0.5 L-BU/WH

1229

PC Solenoid Valve Low Control

D

0.5 L-BU

1229

PC Solenoid Valve Low Control

E

0.5 PK

539

Ignition 1 Voltage

E

0.5 RD

839

Ignition 1 Voltage

F

0.5 TN/WH

771

Transmission Range Signal A

F

0.5 RD/BK

771

Transmission Range Signal A

G

0.35 YE

772

Transmission Range Signal B

G

0.35 D-GN/WH

772

Transmission Range Signal B

H

0.5 GY

773

Transmission Range Signal C

H

0.5 YE/BK

773

Transmission Range Signal C

J

0.5 WH/BK

776

Transmission Range Signal P

J

0.5 GY/WH

776

Transmission Range Signal P

K

0.5 BK/WH

1551

Ground

K

0.5 BK/WH

1050

Ground

L

0.5 D-GN

1227

Transmission Fluid Temperature (TFT) Sensor Signal

L

0.5 BN

1227

Transmission Fluid Temperature (TFT) Sensor Signal

M

0.5 TN/OG

452

Low Reference

M

0.5 GY

452

Low Reference

N-R

--

--

Not Used

N-R

--

--

Not Used

S

0.5 OG/BK

1230

Input Speed Sensor (ISS) High Signal

S

0.5 BK

1230

Input Speed Sensor (ISS) High Signal

T

0.5 TN/BK

422

Torque Convertor Clutch Pulse Width Modulated (TCC PWM) Solenoid Valve Control

T

0.5 TN

418

Torque Convertor Clutch Pulse Width Modulated (TCC PWM) Solenoid Valve Control

U

0.5 WH/BK

1804

TCC Release Switch Signal

U

0.5 WH

1804

TCC Release Switch Signal

V

0.5 D-BU/WH

1231

ISS Low Signal

V

0.5 D-GN

1231

ISS Low Signal

W

--

--

Not Used

W

--

--

Not Used

X101 Engine Harness to Transmission Harness (4T80-E)


Object Number: 1067511  Size: CH

Object Number: 553616  Size: CH

Connector Part Information

  • OEM: 15305238
  • Service: See Catalog
  • Description: 20-Way F Micro-Pack 100 W Series, Sealed (GY)

Terminal Part Information

  • Terminal/Tray: See Terminal Repair Kit
  • Core/Insulation Crimp: See Terminal Repair Kit
  • Release Tool/Test Probe: See Terminal Repair Kit

Connector Part Information

  • OEM: 15463452
  • Service: Non-Serviceable
  • Description: 20-Way M Micro-Pack 100 W Series, Lock Assist/Sealed (GY)

Terminal Part Information

  • Terminal/Tray: See Terminal Repair Kit
  • Core/Insulation Crimp: See Terminal Repair Kit
  • Release Tool/Test Probe: See Terminal Repair Kit

X101 Engine Harness to Transmission Harness (4T80-E)

Pin

Wire

Circuit

Function

Pin

Wire

Circuit

Function

A

0.35 L-GN

1222

Shift Solenoid Valve Control A

A

0.35 L-GN

1222

Shift Solenoid Valve Control A

B

0.35 D-GN

1223

Shift Solenoid Valve Control B

B

0.35 YE

1223

Shift Solenoid Valve Control B

C

0.35 OG/BK

1228

PC Solenoid Valve High Control

C

0.35 PU

1228

PC Solenoid Valve High Control

D

0.35 L-BU/WH

1229

PC Solenoid Valve Low Control

D

0.35 L-BU

1229

PC Solenoid Valve Low Control

E

0.5 PK

539

Ignition 1 Voltage

E

0.5 RD

539

Ignition 1 Voltage

F

0.35 TN/WH

771

Transmission Range Switch Signal A

F

0.35 RD/BK

771

Transmission Range Switch Signal A

G

0.35 YE

772

Transmission Range Switch Signal B

G

0.35 BU/WH

772

Transmission Range Switch Signal B

H

0.35 GY

773

Transmission Range Switch Signal C

H

0.35 YE/BK

773

Transmission Range Switch Signal C

J

0.35 WH

776

Transmission Range Switch Signal P

J

0.35 GY/WH

776

Transmission Range Switch Signal P

K

0.5 BK/WH

1551

Ground

K

0.5 BK/WH

1551

Ground

L

0.35 YE/BK

1227

TFT Sensor Signal

L

0.35 BN

1227

TFT Sensor Signal

M

0.35 TN

2762

Low Reference

M

0.35 GY

2762

Low Reference

N-R

--

--

Not Used

N-R

--

--

Not Used

S

0.35 OG

1230

AT ISS High Signal

S

0.35 BK

1230

AT ISS High Signal

T

0.35 BN

418

TCC Solenoid Valve Control

T

0.35 TN

418

TCC Solenoid Valve Control

U

0.5 PK

539

Ignition 1 Voltage

U

0.5 WH

539

Ignition 1 Voltage

V

0.35 D-BU/WH

1231

AT ISS Low Signal

V

0.35 D-GN

1231

AT ISS Low Signal

W

0.5 GY/OG

1786

Park/Neutral Signal

W

0.5 BK

1786

Park/Neutral Signal

X108 Engine Harness to Knock Sensor Jumper Harness (L26)


Object Number: 696940  Size: CH

Object Number: 696937  Size: CH

Connector Part Information

  • OEM: 12065172
  • Service: See Catalog
  • Description: 1-Way F Metri-Pack 280 Series Sealed (BK)

Connector Part Information

  • OEM: 12065171
  • Service: See Catalog
  • Description: 1-Way M Metri-Pack 280 Series Sealed (BK)

Terminal Part Information

  • Terminal: See Terminal Repair Kit
  • Core/Insulation Crimp: See Terminal Repair Kit
  • Release Tool/Test Probe: See Terminal Repair Kit

Terminal Part Information

  • Terminal: See Terminal Repair Kit
  • Core/Insulation Crimp: See Terminal Repair Kit
  • Release Tool/Test Probe: See Terminal Repair Kit

X108 Engine Harness to Knock Sensor Jumper Harness (L26)

Pin

Wire

Circuit

Function

Pin

Wire

Circuit

Function

A

0.5 L-BU

1876

Knock Sensor 2 Signal

A

0.5 L-BU

1876

Knock Sensor 2 Signal

X109 Engine Coolant Temperature (ECT) Sensor Jumper Harness to Engine Harness (L26 without NU6)


Object Number: 537107  Size: CH

Object Number: 605500  Size: CH

Connector Part Information

  • OEM: 12052644
  • Service: See Catalog
  • Description: 2-Way F Metri-Pack 150.2 Series Sealed (BK)

Connector Part Information

  • OEM: 12162343
  • Service: See Catalog
  • Description: 2-Way M Metri-Pack 150.2 Series Sealed (BK)

Terminal Part Information

  • Terminal: See Terminal Repair Kit
  • Core/Insulation Crimp: See Terminal Repair Kit
  • Release Tool/Test Probe: See Terminal Repair Kit

Terminal Part Information

  • Terminal: See Terminal Repair Kit
  • Core/Insulation Crimp: See Terminal Repair Kit
  • Release Tool/Test Probe: See Terminal Repair Kit

X109 Engine Coolant Temperature (ECT) Sensor Jumper Harness to Engine Harness (L26 without NU6)

Pin

Wire

Circuit

Function

Pin

Wire

Circuit

Function

A

0.5 YE

410

ECT Sensor Signal

A

0.5 YE

410

ECT Sensor Signal

B

0.5 TN

2761

Low Reference

B

0.5 TN/L-BU

2761

Low Reference

X110 Engine Harness to Ignition Control Module (ICM) Harness (L26)


Object Number: 524196  Size: CH

Object Number: 1721589  Size: CH

Connector Part Information

  • OEM: 12047937
  • Service: See Catalog
  • Description: 8-Way F Metri-Pack 150 Series Sealed (BK)

Connector Part Information

  • OEM: 12047931
  • Service: See Catalog
  • Description: 8-Way M Metri-Pack 150 Series Sealed (BK)

Terminal Part Information

  • Terminal: See Terminal Repair Kit
  • Core/Insulation Crimp: See Terminal Repair Kit
  • Release Tool/Test Probe: See Terminal Repair Kit

Terminal Part Information

  • Terminal: See Terminal Repair Kit
  • Core/Insulation Crimp: See Terminal Repair Kit
  • Release Tool/Test Probe: See Terminal Repair Kit

X110 Engine Harness to Ignition Control Module (ICM) Harness (L26)

Pin

Wire

Circuit

Function

Pin

Wire

Circuit

Function

A

0.5 WH

423

IC Timing Control

A

0.8 WH

423

IC Timing Control

B

0.8 PU/WH

424

IC Timing Signal

B

0.5 TN/BK

424

IC Timing Signal

C

0.8 L-BU/BK

647

Medium Resolution Engine Speed Signal

C

0.5 L-BU/BK

647

Medium Resolution Engine Speed Signal

D

0.8 PU/WH

430

Low Resolution Engine Speed Signal

D

0.35 PU/WH

430

Low Resolution Engine Speed Signal

E

--

--

Not Used

E

0.8 WH

121

Not Used

F

0.5 TN/YE

630

Camshaft Position Signal

F

0.8 BK

630

Camshaft Position Signal

G

0.5 OG/BK

453

Low Reference

G

0.8 RD/BK

453

Low Reference

H

0.8 PK/BK

5292

Powertrain Main Relay Fused Supply

H

0.8 PK

239

Powertrain Main Relay Fused Supply

X111 Engine Harness to Body Harness


Object Number: 1844787  Size: CH

Object Number: 1713503  Size: CH

Connector Part Information

  • OEM: 13586430
  • Service: See Catalog
  • Description: 40-Way F GT 150/280 Series, Sealed (BK)

Connector Part Information

  • OEM: 13551536
  • Service: See Catalog
  • Description: 40-Way M GT 150/280 Series, Sealed (BK)

Terminal Part Information

  • Terminal/Tray: See Terminal Repair Kit
  • Core/Insulation Crimp: See Terminal Repair Kit
  • Release Tool/Test Probe: See Terminal Repair Kit

Terminal Part Information

  • Terminal/Tray: See Terminal Repair Kit
  • Core/Insulation Crimp: See Terminal Repair Kit
  • Release Tool/Test Probe: See Terminal Repair Kit

X111 Engine Harness to Body Harness

Pin

Wire

Circuit

Function

Pin

Wire

Circuit

Function

1

0.35 PU/BK

1589

Primary Fuel Level Sensor Signal

1

0.5 PU/BK

1589

Primary Fuel Level Sensor Signal

2

0.35 PU/WH

1272

Accelerator Pedal Position Low Reference

2

0.5 PU/WH

1272

Accelerator Pedal Position Low Reference

3

0.35 BN/WH

419

MIL Control

3

0.5 BN/WH

419

MIL Control

4

0.35 PU

719

Low Reference (LD8/L37 with JL4)

4

0.5 PU

719

Low Reference (JL4)

0.35 BK

719

Low Reference (L26 with JL4)

5

0.35 WH/BK

715

Lateral Accelerometer Signal (LD8/L37 with JL4)

5

0.5 WH/BK

715

Lateral Accelerometer Signal (JL4)

0.35 BK

715

Lateral Accelerometer Signal (L26 with JL4)

6

0.35 TN/WH

1310

EVAP Canister Vent Solenoid Control (LD8/L37)

6

0.5 TN/WH

1310

EVAP Canister Vent Solenoid Control

0.35 BK

1310

EVAP Canister Vent Solenoid Control (L26)

7

0.35 YE/BK

7033

Yaw Rate Diagnostic (LD8/L37 with JL4)

7

0.5 YE/BK

7033

Yaw Rate Diagnostic (JL4)

0.35 BK

7033

Yaw Rate Diagnostic (L26)

8

0.35 D-BU

716

Yaw Rate Sensor Signal (LD8/L37 with JL4)

8

0.5 D-BU

716

Yaw Rate Sensor Signal (JL4)

0.35 BK

716

Yaw Rate Sensor Signal (L26 with JL4)

9

0.35 GY/BK

1337

Yaw Rate Sensor 5-Volt Reference (LD8/L37 with JL4)

9

0.5 GY/BK

1337

Yaw Rate Sensor 5-Volt Reference (JL4)

0.35 BK

1337

Yaw Rate Sensor 5-Volt Reference (L26 with JL4)

10

0.35 OG

885

Left Rear Wheel Speed Sensor Low Reference (JL4)

10

0.5 OG

885

Left Rear Wheel Speed Sensor Low Reference (JL4)

11

0.35 GY/YE

884

Left Rear Wheel Speed Sensor Signal (JL4)

11

0.5 GY/YE

884

Left Rear Wheel Speed Sensor Signal (JL4)

12

0.35 GY/D-BU

883

Right Rear Wheel Speed Sensor Low Reference (JL4)

12

0.5 GY/D-BU

883

Right Rear Wheel Speed Sensor Low Reference (JL4)

13

0.35 BN

882

Right Rear Wheel Speed Sensor Signal (JL4)

13

0.5 BN

882

Right Rear Wheel Speed Sensor Signal (JL4)

14

0.35 GY

1056

Steering Wheel Position Sensor 5-Volt Reference (LD8/L37 with JL4)

14

0.5 GY

1056

Steering Wheel Position Sensor 5-Volt Reference (JL4)

0.35 BK

1056

Steering Wheel Position Sensor 5-Volt Reference (L26 with JL4)

15

0.35 D-GN/WH

817

Vehicle Speed Signal (JL4)

15

0.5 D-GN/WH

817

Vehicle Speed Signal (JL4)

16

0.35 L-GN

1763

Steering Wheel Position Signal A (LD8/L37 with JL4)

16

0.5 L-GN

1763

Steering Wheel Position Signal A (JL4)

0.35 BK

1763

Steering Wheel Position Signal A (L26 with JL4)

17

0.35 L-BU

1764

Steering Wheel Position Signal B (LD8/L37 with JL4)

17

0.5 L-BU

1764

Steering Wheel Position Signal B (JL4)

0.35 BK

1764

Steering Wheel Position Signal B (L26 with JL4)

18

0.35 D-BU

5370

Longitudinal Accelerometer Signal (LD8/L37 with JL4)

18

0.5 D-BU

5370

Longitudinal Accelerometer Signal (JL4)

0.35 BK

5370

Longitudinal Accelerometer Signal (L26 with JL4)

19

0.35 TN/BK

1274

Accelerator Pedal Position 5-Volt Reference

19

0.5 TN/BK

1274

Accelerator Pedal Position 5-Volt Reference

20

0.35 L-BU

1162

APP Sensor 2 Signal

20

0.5 L-BU

1162

APP Sensor 2 Signal

21

0.35 RD/WH

4640

Battery Positive Voltage

21

0.5 RD/WH

4640

Battery Positive Voltage

22

0.35 L-GN

1652

Reverse Lockout Solenoid Control (LD8/L37)

22

0.5 L-GN

1652

Reverse Lockout Solenoid Control (A51)

0.35 BK

1652

Reverse Lockout Solenoid Control (L26)

23

0.35 D-BU/WH

1161

APP Sensor 1 Signal (LD8/L37)

23

0.5 D-BU/WH

1161

APP Sensor 1 Signal

0.35 BK

1161

APP Sensor 1 Signal (L26)

24

0.35 WH/BK

1164

5-Volt Reference

24

0.5 WH/BK

1164

5-Volt Reference

25

0.35 D-BU/WH

5985

Accessory Wake up Serial Data

25

0.5 D-BU/WH

5985

Accessory Wake up Serial Data

26

0.35 BN

1271

Accelerator Pedal Position Low Reference

26

0.5 BN

1271

Accelerator Pedal Position Low Reference

27

--

--

Not Used

27

--

--

Not Used

28

0.35 TN

2501

High Speed GMLAN Serial Data Bus-

28

0.5 TN

2501

High Speed GMLAN Serial Data Bus- (JL4)

29

0.35 TN/BK

2500

High Speed GMLAN Serial Data Bus+

29

0.5 TN/BK

2500

High Speed GMLAN Serial Data Bus+ (JL4)

30-31

--

--

Not Used

30-31

--

--

Not Used

32

0.35 OG/BK

556

Steering Wheel Position Sensor Low Reference (LD8/L37 with JL4)

32

0.5 OG/BK

556

Steering Wheel Position Sensor Low Reference (JL4)

0.35 BK

556

Steering Wheel Position Sensor Low Reference (L26 with JL4)

33

0.35 TN

2759

Fuel Tank Pressure Sensor Low Reference

33

0.5 TN

2759

Fuel Tank Pressure Sensor Low Reference

34

0.35 GY

416

Fuel Tank Pressure Sensor 5-Volt Reference

34

0.5 GY

416

Fuel Tank Pressure Sensor 5-Volt Reference

35

0.35 D-GN

890

Fuel Tank Pressure Sensor Signal

35

0.5 D-GN

890

Fuel Tank Pressure Sensor Signal

36

0.35 D-GN/WH

465

Fuel Pump Primary Relay Control

36

0.5 D-GN/WH

465

Fuel Pump Primary Relay Control

37-40

--

--

Not Used

37-40

--

--

Not Used

X113 Forward Lamp Harness to Left Front Head Lamp Assembly Harness


Object Number: 632357  Size: CH

Object Number: 646396  Size: CH

Connector Part Information

  • OEM: 15326829
  • Service: See Catalog
  • Description: 6-Way F 150 Series Sealed (BK)

Connector Part Information

  • OEM: 15326833
  • Service: See Catalog
  • Description: 6-Way M 150 Series Sealed (BK)

Terminal Part Information

  • Terminal: See Terminal Repair Kit
  • Core/Insulation Crimp: Terminal Repair Kit
  • Release Tool/Test Probe: Terminal Repair Kit

Terminal Part Information

  • Terminal: Terminal Repair Kit
  • Core/Insulation Crimp: Terminal Repair Kit
  • Release Tool/Test Probe: Terminal Repair Kit

X113 Forward Lamp Harness to Left Front Head Lamp Assembly Harness

Pin

Wire

Circuit

Function

Pin

Wire

Circuit

Function

A

0.5 OG

57

Left Cornering Lamp Supply Voltage (TUH)

A

0.5 OG

57

Left Cornering Lamp Supply Voltage (TUH)

B

0.5 PU

709

Left Park Lamp Supply Voltage

B

0.5 PU

709

Left Park Lamp Supply Voltage

C

0.5 D-GN/WH

711

Left Head Lamp High Beam Supply Voltage

C

0.5 D-GN/WH

711

Left Head Lamp High Beam Supply Voltage

D

0.8 YE

712

Left Head Lamp Low Beam Supply Voltage

D

0.8 YE

712

Left Head Lamp Low Beam Supply Voltage

E

2 BK

250

Ground

E

2 BK

250

Ground

F

0.5 L-BU/WH

1314

Left Front Turn Signal Lamp Supply Voltage

F

0.5 L-BU/WH

1314

Left Front Turn Signal Lamp Supply Voltage

X114 Forward Lamp Harness to Right Front Head Lamp Assembly Harness


Object Number: 632357  Size: CH

Object Number: 646396  Size: CH

Connector Part Information

  • OEM: 15326829
  • Service: See Catalog
  • Description: 6-Way F 150 Series Sealed (BK)

Connector Part Information

  • OEM: 15326833
  • Service: See Catalog
  • Description: 6-Way M 150 Series Sealed (BK)

Terminal Part Information

  • Terminal: Terminal Repair Kit
  • Core/Insulation Crimp: Terminal Repair Kit
  • Release Tool/Test Probe: Terminal Repair Kit

Terminal Part Information

  • Terminal: Terminal Repair Kit
  • Core/Insulation Crimp: Terminal Repair Kit
  • Release Tool/Test Probe: Terminal Repair Kit

X114 Forward Lamp Harness to Right Front Head Lamp Assembly Harness

Pin

Wire

Circuit

Function

Pin

Wire

Circuit

Function

A

0.5 TN

58

Right Cornering Lamp Supply Voltage (TUH)

A

0.5 OG

58

Right Cornering Lamp Supply Voltage (TUH)

B

0.35 TN/WH

309

Right Park Lamp Supply Voltage

B

0.35 PU

309

Right Park Lamp Supply Voltage

C

0.5 L-GN/BK

311

Right Head Lamp High Beam Supply Voltage

C

0.5 D-GN/WH

311

Right Head Lamp High Beam Supply Voltage

D

0.8 TN/WH

312

Right Head Lamp Low Beam Supply Voltage

D

0.5 YE

312

Right Head Lamp Low Beam Supply Voltage

E

2 BK

250

Ground

E

2 BK

250

Ground

F

0.5 D-BU/WH

1315

Right Front Turn Signal Lamp Supply Voltage

F

0.5 L-BU/WH

1315

Right Front Turn Signal Lamp Supply Voltage

X120 Forward Lamp Harness to Body Harness


Object Number: 632344  Size: CH

Object Number: 632342  Size: CH

Connector Part Information

  • OEM: 15326842
  • Service: See Catalog
  • Description: 10-Way F 150 Series Sealed (BK)

Connector Part Information

  • OEM: 15326847
  • Service: See Catalog
  • Description: 10-Way M 150 Series Sealed (BK)

Terminal Part Information

  • Terminal/Tray: 12191819/8
  • Core/Insulation Crimp: E/A
  • Release Tool/Test Probe: 15315247/J-35616-2A (GY)

Terminal Part Information

  • Terminal/Tray: 15326269/19
  • Core/Insulation Crimp: E/4
  • Release Tool/Test Probe: 15315247/J-35616-3 (GY)

X120 Forward Lamp Harness to Body Harness

Pin

Wire

Circuit

Function

Pin

Wire

Circuit

Function

A

0.35 PK/BK

109

Hood Ajar Switch Signal (AP3/AP8)

A

0.35 PK/BK

109

Hood Ajar Switch Signal

B

0.35 L-GN/BK

735

Outside Ambient Air Temperature Sensor Signal

B

0.35 L-GN/BK

735

Outside Ambient Air Temperature Sensor Signal

C

0.35 GY/BK

1798

Low Reference

C

0.35 GY/BK

1798

Low Reference

D

0.5 TN

185

Low Washer Fluid Indicator Control

D

0.5 TN

185

Low Washer Fluid Indicator Control

E

0.35 TN/WH

309

Right Park Lamp Supply Voltage

E

0.5 BN/WH

309

Right Park Lamp Supply Voltage

F

0.5 PU

709

Left Park Lamp Supply Voltage

F

0.5 PU

709

Left Park Lamp Supply Voltage

G

0.35 PU/OG

5531

Hood Closed Switch Signal (AP3/AP8)

G

0.35 PU/OG

5531

Hood Closed Switch Signal

H

0.5 L-GN

1409

Right Front Discriminating Sensor Signal

H

0.5 D-GN

1409

Right Front Discriminating Sensor Signal

J

0.5 GY/RD

5600

Right Front Discriminating Sensor Low Reference

J

0.5 GY/RD

5600

Right Front Discriminating Sensor Low Reference

K

0.8 TN/WH

312

Right Headlamp Low Beam Supply Voltage

K

0.8 TN/WH

312

Right Headlamp Low Beam Supply Voltage

X138 Engine Harness to Engine Jumper Harness (LD8/L37)


Object Number: 632344  Size: CH

Object Number: 632342  Size: CH

Connector Part Information

  • OEM: 15326842
  • Service: 15326843
  • Description: 10-Way F 150 Series Sealed (BK)

Connector Part Information

  • OEM: 15326847
  • Service: 15326847
  • Description: 10-Way M 150 Series Sealed (BK)

Terminal Part Information

  • Terminal/Tray: 12191819/8
  • Core/Insulation Crimp: E/A
  • Release Tool/Test Probe: 15315247/J-35616-2A (GY)

Terminal Part Information

  • Terminal/Tray: See Terminal Repair Kit
  • Core/Insulation Crimp: See Terminal Repair Kit
  • Release Tool/Test Probe: See Terminal Repair Kit

X138 Engine Harness to Engine Jumper Harness (LD8/L37)

Pin

Wire

Circuit

Function

Pin

Wire

Circuit

Function

A

0.5 RD/GY

6270

Crankshaft 60X Sensor Voltage

A

0.5 PU/WH

6270

Crankshaft 60X Sensor Voltage

B

0.5 GY/BK

6272

Crankshaft 60X Sensor Low Reference

B

0.5 GY/BK

6272

Crankshaft 60X Sensor Low Reference

C

0.5 WH/BK

6271

Crankshaft 60X Sensor Signal

C

0.5 WH/BK

6271

Crankshaft 60X Sensor Signal

D

0.5 PK/WH

6259

Camshaft CAM W Supply Voltage

D

0.5 D-BU

6259

Camshaft CAM W Supply Voltage

E

0.5 BN

6266

Camshaft CAM W Ground

E

0.5 BN

6266

Camshaft CAM W Ground

F

0.5 D-BU/WH

6265

Camshaft CAM W Signal

F

0.5 D-BU/WH

6265

Camshaft CAM W Signal

G

0.5 WH/GY

1716

Knock Sensor 1 Signal

G

0.5 GY

1716

Knock Sensor 1 Signal

H

0.5 D-BU

496

Knock Sensor Signal (1)

H

0.5 D-BU

496

Knock Sensor Signal (1)

J

0.5 GY

2303

Knock Sensor 2 Signal

J

0.5 GY

2303

Knock Sensor 2 Signal

K

0.5 PK/YE

1876

Knock Sensor Signal (2)

K

0.5 L-BU

1876

Knock Sensor Signal (2)

X139 Engine Harness to Ignition Coil Harness (LD8/L37)


Object Number: 1283903  Size: CH

Object Number: 1283901  Size: CH

Connector Part Information

  • OEM: 15317367
  • Service: 15306317
  • Description: 7-Way F GT 150 Series Sealed (BK)

Connector Part Information

  • OEM: 15326553
  • Service: See Catalog
  • Description: 7-Way M GT 150 Series Sealed (BK)

Terminal Part Information

  • Pins: B
  • Terminal/Tray: 12191819/8
  • Core/Insulation Crimp: 2/A
  • Pins: A, C-G
  • Core/Insulation Crimp: E/A
  • Release Tool/Test Probe: 15315247/J-35616-2A (GY)

Terminal Part Information

  • Terminal/Tray: See Terminal Repair Kit
  • Core/Insulation Crimp: See Terminal Repair Kit
  • Release Tool/Test Probe: See Terminal Repair Kit

X139 Engine Harness to Ignition Coil Harness (LD8/L37)

Pin

Wire

Circuit

Function

Pin

Wire

Circuit

Function

A

0.5 PK/BK

5292

Ignition 1 Voltage

A

0.5 PK

5292

Ignition 1 Voltage

B

0.5 BK/WH

1451

Ground

B

0.5 BK

1451

Ground

C

0.5 BN/WH

2130

Low Reference

C

0.5 TN

2130

Low Reference

D

0.5 GN/WH

2124

IC 4 Control

D

0.5 L-BU

2124

IC 4 Control

E

0.5 L-BU/WH

2126

IC 6 Control

E

0.5 GN

2126

IC 6 Control

F

0.5 PU/WH

2128

IC 8 Control

F

0.5 RD

2128

IC 8 Control

G

0.5 RD/WH

2122

IC 2 Control

G

0.5 PU

2122

IC 2 Control

X140 Engine Harness to Ignition Coil Harness (LD8/L37)


Object Number: 1283903  Size: CH

Object Number: 1283901  Size: CH

Connector Part Information

  • OEM: 15317367
  • Service: 15306317
  • Description: 7-Way F GT 150 Series Sealed (BK)

Connector Part Information

  • OEM: 15326553
  • Service: See Catalog
  • Description: 7-Way M GT 150 Series Sealed (BK)

Terminal Part Information

  • Pins: B
  • Terminal/Tray: 12191819/8
  • Core/Insulation Crimp: 2/A
  • Pins: A, C-G
  • Core/Insulation Crimp: E/A
  • Release Tool/Test Probe: 15315247/J-35616-2A (GY)

Terminal Part Information

  • Terminal/Tray: See Terminal Repair Kit
  • Core/Insulation Crimp: See Terminal Repair Kit
  • Release Tool/Test Probe: See Terminal Repair Kit

X140 Engine Harness to Ignition Coil Harness (LD8/L37)

Pin

Wire

Circuit

Function

Pin

Wire

Circuit

Function

A

0.5 PK/BK

5291

Ignition 1 Voltage

A

0.5 PK

5291

Ignition 1 Voltage

B

0.5 BK/WH

1451

Ground

B

0.5 BK

1451

Ground

C

0.5 BN

2129

Low Reference

C

0.5 TN

2129

Low Reference

D

0.5 D-GN

2125

IC 5 Control

D

0.5 L-BU

2125

IC 5 Control

E

0.5 L-BU

2123

IC 3 Control

E

0.5 D-GN

2123

IC 3 Control

F

0.5 PU/BK

2121

IC 1 Control

F

0.5 RD

2121

IC 1 Control

G

0.5 OG

2127

IC 7 Control

G

0.5 PU

2127

IC 7 Control

X161 Engine Harness to Starter Harness (LD8/L37)


Object Number: 811182  Size: CH

Object Number: 1283862  Size: CH

Connector Part Information

  • OEM: 7283-5596-10
  • Service: 88953307
  • Description: 2-Way F 6.3 Series (D-GY)

Connector Part Information

  • OEM: 7282-5596-10
  • Service: 88953304
  • Description: 2-Way M 6.3 Series Weather Pack (D-GY)

Terminal Part Information

  • Pins: 1
  • Terminal/Tray: 7116-4142-02/10
  • Core/Insulation Crimp: D/3
  • Release Tool/Test Probe: 12094430/J-35616-42 (RD)

Terminal Part Information

  • Pins: 1
  • Terminal/Tray: 7114-4142-02/10
  • Core/Insulation Crimp: D/3
  • Release Tool/Test Probe: 12094430/J-35616-43 (RD)

X161 Engine Harness to Starter Harness (LD8/L37)

Pin

Wire

Circuit

Function

Pin

Wire

Circuit

Function

1

5 PU

6

Starter Solenoid Crank Voltage

1

5 PU

6

Starter Solenoid Crank Voltage

2

--

--

Not Used

2

--

--

Not Used

X200 Body Harness to I/P Harness


Object Number: 1576566  Size: CH

Object Number: 1576562  Size: CH

Connector Part Information

  • OEM: 7283-4190-30
  • Service: 1576566
  • Description: 43-Way F YESC Unsealed Series (BK)

Connector Part Information

  • OEM: 7282-4190-30
  • Service: See Catalog
  • Description: 43-Way M YESC Unsealed Series (BK)

Terminal Part Information

  • Pins: 8, 9, 12, 14-22, 25-30, 33-37, 38-42
  • Terminal/Tray: 7116-4100-08/9
  • Core/Insulation Crimp: E/C
  • Release Tool/Test Probe: 12094430/J-35616-2A (GY)
  • Pins: 11, 10, 13, 20, 21, 31
  • Terminal/Tray: 7116-4101-08/9
  • Core/Insulation Crimp: E/A
  • Pins: 23
  • Core/Insulation Crimp: See Terminal Repair Kit
  • Release Tool/Test Probe: 12094430/J-35616-2A (GY)
  • Pins: 32
  • Terminal/Tray: 7116-4111-02/9
  • Core/Insulation Crimp: E/A
  • Release Tool/Test Probe: 12094430/J-35616-4A (PU)

Terminal Part Information

  • Pins: 32
  • Terminal/Tray: 7114-4111-02/9
  • Core/Insulation Crimp: E/A
  • Pins: 11, 10, 13, 20-22, 31, 33
  • Terminal/Tray: 7114-4101-08/9
  • Core/Insulation Crimp: E/A
  • Pins: 8
  • Core/Insulation Crimp: See Terminal Repair Kit
  • Release Tool/Test Probe: 15315247/J-35616-3 (GY)
  • Pins: 9, 12, 14-19, 23, 25-30, 34-42
  • Terminal/Tray: 7114-4100-08/9
  • Core/Insulation Crimp: E/C
  • Release Tool/Test Probe: 15315247/J-35616-3 (GY)

X200 Body Harness to I/P Harness

Pin

Wire

Circuit

Function

Pin

Wire

Circuit

Function

1-7

--

--

Not Used

1-7

--

--

Not Used

8

0.35 PK

94

Windshield Washer Switch Signal (XA7)

8

0.35 PK

94

Windshield Washer Switch Signal (XA7)

0.35 PK

94

Windshield Washer Switch Signal (XA7)

9

0.35 WH/BK

5043

Keyword 2000 Serial Data (KB6)

9

0.35 WH/BK

5043

Keyword 2000 Serial Data (KB6)

10

0.8 BK

350

Ground (AN3)

10

0.8 BK

350

Ground

11

0.8 BK

450

Ground

11

0.8 BK

450

Ground

12

0.8 BK

350

Ground

12

0.5 BK

350

Ground

13

0.8 BK

450

Ground

13

0.8 BK

450

Ground

14

0.35 BN/WH

1571

Traction Control Switch Signal (2) (A51)

14

0.35 BN/WH

1571

Traction Control Switch Signal (2) (A51)

15

0.5 OG/PK

1840

Battery Positive Voltage

15

0.35 OG/PK

1840

Battery Positive Voltage

16-18

--

--

Not Used

16-18

--

--

Not Used

19

0.35 PK

339

Ignition 1 Voltage

19

0.35 PK

339

Ignition 1 Voltage

0.35 PK

339

Ignition 1 Voltage

20

0.8 L-BU

1960

Front Center Speaker (-) (UQA)

20

0.8 L-BU

1960

Front Center Speaker (-) (UQA)

21

0.8 YE

1860

Front Center Speaker (+) (UQA)

21

0.8 YE

1860

Front Center Speaker (+) (UQA)

22

0.35 PK/GY

3040

Battery Positive Voltage

22

0.8 PK/GY

3040

Battery Positive Voltage

23

0.35 OG/YE

5727

High Speed GMLAN Serial Data Wake Up

23

0.35 OG/YE

5727

High Speed GMLAN Serial Data Wake Up

24-25

--

--

Not Used

24-25

--

--

Not Used

26

0.35 L-GN/BK

735

Outside Ambient Air Temperature Sensor Signal

26

0.35 L-GN/BK

735

Outside Ambient Air Temperature Sensor Signal

27

0.35 OG

900

Lane Departure Warning On Signal (UFL)

27

0.35 OG

900

Lane Departure Warning On Signal (UFL)

28

0.35 OG

901

Lane Departure Warning Control (UFL)

28

0.35 OG

901

Lane Departure Warning Control (UFL)

29

0.35 GY/BK

1798

Low Reference

29

0.35 GY/BK

1798

Low Reference

30

0.35 BN/WH

419

Check Engine Indicator Control

30

0.35 BN/WH

419

Check Engine Indicator Control

31

0.8 D-GN/PU

1940

Battery Positive Voltage

31

0.8 D-GN/PU

1940

Battery Positive Voltage

32

0.8 RD/WH

1740

Battery Positive Voltage (AN3)

32

0.8 RD/WH

1740

Battery Positive Voltage

33

0.5 PK/D-BU

3140

Battery Positive Voltage

33

0.8 PK/D-BU

3140

Battery Positive Voltage

34

0.35 PU

2334

Amplifier Control (UQA)

34

0.35 PU

2334

Amplifier Control (UQA)

35

0.5 OG

1732

Electronic Control Unit 12-Volt Reference

35

0.5 OG

1732

Electronic Control Unit 12-Volt Reference

36

0.35 TN

28

Horn Relay Control

36

0.35 TN

28

Horn Relay Control

37

0.35 TN/BK

2500

High Speed GMLAN Serial Data (+)

37

0.35 TN/BK

2500

High Speed GMLAN Serial Data (+)

38

0.35 TN

2501

High Speed GMLAN Serial Data (-)

38

0.35 TN

2501

High Speed GMLAN Serial Data (-)

39

0.35 L-GN

6096

Washer Fluid Heated Control Switch Signal (XA7)

39

0.35 L-GN

6096

Washer Fluid Heated Control Switch Signal (XA7)

40

0.35 D-BU/WH

5970

Washer Fluid Heated Control Switch LED Supply Voltage (XA7)

40

0.35 D-BU/WH

5970

Washer Fluid Heated Control Switch LED Supply Voltage (XA7)

41

0.5 TN

185

Low Washer Fluid Indicator Control

41

0.35 TN

185

Low Washer Fluid Indicator Control

42

0.35 PU

6027

Brake Transmission Shift Interlock Solenoid Control (A51)

42

0.35 PU

6027

Brake Transmission Shift Interlock Solenoid Control (A51)

43

--

--

Not Used

43

--

--

Not Used

X201 Body Harness to I/P Harness


Object Number: 1576566  Size: CH

Object Number: 1576562  Size: CH

Connector Part Information

  • OEM: 7283-4190-30
  • Service: 1576566
  • Description: 43-Way F YESC Unsealed Series (BK)

Connector Part Information

  • OEM: 7282-4190-30
  • Service: See Catalog
  • Description: 43-Way M YESC Unsealed Series (BK)

Terminal Part Information

  • Pins: 1, 6, 2, 7
  • Terminal/Tray: 7116-4110-02/9
  • Core/Insulation Crimp: E/C
  • Release Tool/Test Probe: 12094430/J-35616-4A (PU)
  • Pins: 8-12, 16, 19-24, 26, 28-31, 33-40
  • Terminal/Tray: 7116-4100-08/9
  • Core/Insulation Crimp: E/C
  • Release Tool/Test Probe: 12094430/J-35616-2A (GY)
  • Pins: 13, 27
  • Terminal/Tray: 7116-4101-08/9
  • Core/Insulation Crimp: E/A
  • Pins: 29
  • Core/Insulation Crimp: See Terminal Repair Kit
  • Release Tool/Test Probe: 12094430/J-35616-2A (GY)

Terminal Part Information

  • Pins: 1, 6, 2, 7
  • Terminal/Tray: 7114-4110-02/9
  • Core/Insulation Crimp: E/C
  • Release Tool/Test Probe: 12094430/J-35616-5 (PU)
  • Pins: 13, 27
  • Terminal/Tray: 7114-4101-08/9
  • Core/Insulation Crimp: C/A
  • Pins: 26
  • Core/Insulation Crimp: See Terminal Repair Kit
  • Release Tool/Test Probe: 15315247/J-35616-3 (GY)
  • Pins: 8-12, 16, 19-24, 28-31, 33-40
  • Terminal/Tray: 7114-4100-08/9
  • Core/Insulation Crimp: E/C
  • Release Tool/Test Probe: 15315247/J-35616-3 (GY)

X201 Body Harness to I/P Harness

Pin

Wire

Circuit

Function

Pin

Wire

Circuit

Function

1

0.35 TN/BK

2500

High Speed GMLAN Serial Data (+)

1

0.35 TN/BK

2500

High Speed GMLAN Serial Data (+)

2

0.35 TN

2501

High Speed GMLAN Serial Data (-)

2

0.35 TN

2501

High Speed GMLAN Serial Data (-)

3

0.35 OG/BK

1406

Remote Tape Player Left Audio Signal

3

0.35 OG/BK

1406

Remote Tape Player Left Audio Signal

4

0.35 L-BU

1405

Remote Tape Player Audio Communication Signal

4

0.35 L-BU

1405

Remote Tape Player Audio Communication Signal

5

0.5 BARE

814

Drain Wire

5

0.5 BK/PK

814

Drain Wire

6

0.35 GY

5381

Brake Position Sensor 5-Volt Reference

6

0.35 GY

5381

Brake Position Sensor 5-Volt Reference

7

0.35 L-BU/BK

853

ABS Brake Switch Low Reference

7

0.35 L-BU/BK

853

ABS Brake Switch Low Reference

8

0.35 BN/WH

367

Remote Radio Left Audio Signal (UQA)

8

0.35 BN/WH

367

Remote Radio Left Audio Signal (UQA)

9

0.35 TN/WH

372

Remote Radio Audio (-) (UQA)

9

0.35 TN/WH

372

Remote Radio Audio (-) (UQA)

10

0.35 GY

388

Remote Radio Right Audio Signal (UQA)

10

0.35 GY

388

Remote Radio Right Audio Signal (UQA)

11

0.35 D-GN/WH

368

Remote Radio Right Audio Signal (UQA)

11

0.35 D-GN/WH

368

Remote Radio Right Audio Signal (UQA)

12

0.5 BARE

1705

Drain Wire (UQA)

12

0.5 BK/TN

1705

Drain Wire (UQA)

13

1 D-GN

2040

Battery Positive Voltage

13

1 RD/WH

2040

Battery Positive Voltage

14-15

--

--

Not Used

14-15

--

--

Not Used

16

0.5 BK

350

Ground

16

0.5 BK

350

Ground

17

0.35 PK/BK

7044

Voice Recognition Audio Low Reference (U3U/UE1)

17

0.35 PK/BK

7044

Voice Recognition Audio Low Reference (U3U/UE1)

0.5 BK

1489

Voice Recognition Audio Low Reference (without U3U/UE1)

0.5 BK

1489

Voice Recognition Audio Low Reference (without U3U/UE1)

18

0.35 GY/BK

7043

Voice Recognition Audio Signal (U3U/UE1)

18

0.35 GY/BK

7043

Voice Recognition Audio Signal (U3U/UE1)

19

0.5 BARE

813

Drain Wire

19

0.5 BK/L-BU

813

Drain Wire

20

0.5 TN

511

Left Front Low Level Audio Signal (UQA)

20

0.5 TN

511

Left Front Low Level Audio Signal (UQA)

0.8 TN

201

Left Front Low Level Audio Signal (UQ3)

0.5 TN

201

Left Front Low Level Audio Signal (UQ3)

21

0.5 D-GN/RD

1947

Left Front Low Level Audio (-) (UQA)

21

0.5 D-GN/RD

1947

Left Front Low Level Audio (-) (UQA)

0.8 GY

118

Left Front Low Level Audio (-) (UQ3)

0.5 GY

118

Left Front Low Level Audio (-) (UQ3)

22

0.5 L-GN

1948

Right Front Low Level Audio (-) (UQA)

22

0.5 L-GN

1948

Right Front Low Level Audio (-) (UQA)

0.8 PK/BK

117

Right Front Low Level Audio (-) (UQ3)

0.5 PK/BK

117

Right Front Low Level Audio (-) (UQ3)

23

0.5 L-GN/WH

512

Right Front Low Level Audio Signal (UQA)

23

0.5 L-GN/WH

512

Right Front Low Level Audio Signal (UQA)

0.8 L-GN

200

Right Front Low Level Audio Signal (UQ3)

0.5 L-GN

200

Right Front Low Level Audio Signal (UQ3)

24

0.5 BARE

1573

Front Audio Drain Wire

24

0.5 BK/WH

1573

Front Audio Drain Wire

25

--

--

Not Used

25

--

--

Not Used

26

0.35 WH

193

Rear Defog Relay Control

26

0.35 WH

193

Rear Defog Relay Control

27

1 BK

550

Ground

27

1 BK

550

Ground

28

0.35 PK/TN

2308

Passenger Air Bag Off Indicator Control

28

0.35 PK/TN

2308

Passenger Air Bag Off Indicator Control

29

0.5 PK

5165

Antenna 14V Switched Supply Voltage

29

0.5 PK

5165

Antenna 14V Switched Supply Voltage

29

0.35 PK

5165

Antenna 14V Switched Supply Voltage (UQA)

30

0.5 D-GN/WH

817

Vehicle Speed Signal (U3U)

30

0.5 D-GN/WH

817

Vehicle Speed Signal (U3U)

31

0.35 PU

5234

Passenger Seat Belt Indicator

31

0.35 PU

5234

Passenger Seat Belt Indicator

32

--

--

Not Used

32

--

--

Not Used

33

0.35 L-BU/YE

5361

Brake Apply Sensor Signal

33

0.35 L-BU/YE

5361

Brake Apply Sensor Signal

34

0.5 TN/WH

33

Brake Fluid Level Sensor Signal

34

0.5 TN/WH

33

Brake Fluid Level Sensor Signal

35

0.35 D-BU

2307

Passenger Air Bag On Indicator Control

35

0.35 D-BU

2307

Passenger Air Bag On Indicator Control

36

0.5 D-BU

546

Right Rear Low Level Audio Signal (UQA)

36

0.5 D-BU

546

Right Rear Low Level Audio Signal (UQA)

0.5 D-BU

46

Right Rear Low Level Audio Signal (UQ3)

0.8 D-BU

46

Right Rear Low Level Audio Signal (UQ3)

37

0.5 TN/RD

1946

Right Rear Low Level Audio (-) (UQA)

37

0.5 TN/RD

1946

Right Rear Low Level Audio (-) (UQA)

0.5 L-BU

115

Right Rear Midrange Speaker (-) (UQ3)

0.8 L-BU

115

Right Rear Midrange Speaker (-) (UQ3)

38

0.5 BN/WH

599

Left Rear Low Level Audio Signal (UQA)

38

0.5 BN/WH

599

Left Rear Low Level Audio Signal (UQA)

0.5 BN

199

Left Rear Midrange Speaker (+) (UQ3)

0.8 BN

199

Left Rear Midrange Speaker (+) (UQ3)

39

0.5 BN

1999

Left Rear Low Level Audio (-) (UQA)

39

0.5 BN

1999

Left Rear Low Level Audio (-) (UQA)

0.5 YE

116

Left Rear Midrange Speaker (-) (UQ3)

0.8 YE

116

Left Rear Midrange Speaker (-) (UQ3)

40

0.5 BARE

1574

Rear Audio Drain Wire (UQA)

40

0.5 BK/YE

1574

Rear Audio Drain Wire (UQA)

41-43

--

--

Not Used

41-43

--

--

Not Used

X202 I/P Harness to HVAC Harness


Object Number: 1664488  Size: CH

Object Number: 1707495  Size: CH

Connector Part Information

  • OEM: 7283-9078-80
  • Service: See Catalog
  • Description: 16-Way F 064 Series (BN)

Connector Part Information

  • OEM: 7282-9072-80
  • Service: See Catalog
  • Description: 16-Way M 064 Series (BN)

Terminal Part Information

  • Terminal/Tray: 7116-4618-02/14
  • Core/Insulation Crimp: P/P
  • Release Tool/Test Probe: J-38125-215/J-35616-64B (L-BU)

Terminal Part Information

  • Terminal/Tray: See Terminal Repair Kit
  • Core/Insulation Crimp: See Terminal Repair Kit
  • Release Tool/Test Probe: See Terminal Repair Kit

X202 I/P Harness to HVAC Harness

Pin

Wire

Circuit

Function

Pin

Wire

Circuit

Function

1

0.35 GY/BK

1798

Low Reference

1

0.35 GY/BK

1798

Low Reference

2

0.35 GY

598

5-Volt Reference

2

0.35 GY

598

5-Volt Reference

3

0.35 YE/BK

1814

Lower Mode Door Position Signal

3

0.35 YE/BK

1814

Lower Mode Door Position Signal

4

0.35 YE/WH

1318

Lower Mode Door Control B

4

0.35 YE

1318

Lower Mode Door Control B

5

0.35 TN

2273

Mode Door Control A

5

0.35 OG/WH

2273

Mode Door Control A

6

0.35 PK

339

Run/Crank Ignition 1 Voltage (C67)

6

0.35 PK

339

Run/Crank Ignition 1 Voltage (C67)

0.35 L-BU/OG

706

Recirculation Mode Valve Solenoid Control (CJ2)

0.35 L-BU

706

Recirculation Mode Valve Solenoid Control (CJ2)

7

0.35 D-GN

1614

Recirculation Door Control (CJ2)

7

0.35 D-GN/BK

1614

Recirculation Door Control (CJ2)

0.35 D-GN/WH

636

Ambient Air Temperature Sensor Signal (C67)

0.35 D-GN/WH

636

Ambient Air Temperature Sensor Signal (C67)

8

0.35 TN/BK

2274

Recirculation Door Control (CJ2)

8

0.35 OG/BK

2274

Recirculation Door Control (CJ2)

0.35 D-BU/PK

604

A/C High Pressure Recirculation Switch Signal (C67)

0.35 D-BU/WH

604

A/C High Pressure Recirculation Switch Signal (C67)

9

0.35 L-BU

733

Air Temperature Door Position Signal

9

0.35 D-BU/YE

733

Air Temperature Door Position Signal

10

0.35 L-BU/YE

1199

Air Temperature Door Control

10

0.35 D-BU/WH

1199

Air Temperature Door Control

11

0.35 YE/GY

1791

Low Reference

11

0.35 YE/OG

1791

Low Reference

12

0.35 D-BU

1646

Passenger Air Temperature Door Position Signal (CJ2)

12

0.35 D-BU

1646

Passenger Air Temperature Door Position Signal (CJ2)

13

0.35 WH/BK

1236

Passenger Air Temperature Door Control (CJ2)

13

0.35 WH/BN

1236

Passenger Air Temperature Door Control (CJ2)

14

0.35 L-BU/PU

1641

Run Ignition 3 Voltage (CJ2)

14

0.35 BN/BK

1641

Run Ignition 3 Voltage (CJ2)

15

0.35 WH

2622

Evaporator Temperature Sensor Control

15

0.35 WH

2622

Evaporator Temperature Sensor Control

16

0.35 GY/PK

754

Blower Motor Speed Control

16

0.5 GY/BU

754

Blower Motor Speed Control

X203 I/P Harness to Steering Column Harness


Object Number: 1480294  Size: CH

Object Number: 1715230  Size: CH

Connector Part Information

  • OEM: 15359287
  • Service: 15359287
  • Description: 40-Way F GT (BK)

Connector Part Information

  • OEM: 15475869
  • Service: 88988307
  • Description: 40-Way M GT (BK)

Terminal Part Information

  • Pins: A1-A4, A7, A8, B1-B6, B8, B10, B11, C1-C6
  • Terminal/Tray: See Terminal Repair Kit
  • Core/Insulation Crimp: See Terminal Repair Kit
  • Release Tool/Test Probe: See Terminal Repair Kit

Terminal Part Information

  • Pins: A1-A4, A7, A8, B1-B6, B8, B10, B11, C1-C6
  • Terminal/Tray: See Terminal Repair Kit
  • Core/Insulation Crimp: See Terminal Repair Kit
  • Release Tool/Test Probe: See Terminal Repair Kit

X203 I/P Harness to Steering Column Harness

Pin

Wire

Circuit

Function

Pin

Wire

Circuit

Function

A1

0.35 WH/BK

1073

5-Volt Reference

A1

0.35 WH/BK

1073

5-Volt Reference

A2

0.35 WH

1390

Off/Run/Crank Voltage

A2

0.35 WH

1390

Off/Run/Crank Voltage

A3

0.35 D-GN

5060

Low Speed GMLAN Serial Data

A3

0.35 D-GN/WH

5060

Low Speed GMLAN Serial Data

0.35 D-GN

5060

Low Speed GMLAN Serial Data

A4

0.35 PK

3

Run/Crank Ignition 1 Voltage

A4

0.35 PK

3

Run/Crank Ignition 1 Voltage

A5-A6

--

--

Not Used

A5-A6

--

--

Not Used

A7

0.35 L-GN

6096

Washer Fluid Heated Control Switch Signal (XA7)

A7

0.35 L-GN

6096

Washer Fluid Heated Control Switch Signal (XA7)

A8

0.35 PU

1375

Remote Radio Control Head Accessory Supply Voltage

A8

0.35 PU

1375

Remote Radio Control Head Accessory Supply Voltage

B1

0.35 BK/WH

1251

Signal Ground

B1

0.35 BK/WH

1251

Signal Ground

B2

0.35 PK

94

Windshield Washer Switch Signal

B2

0.35 PK

94

Windshield Washer Switch Signal

B3

0.35 L-BU

1714

Windshield Wiper Switch Low Signal

B3

0.35 L-BU

1714

Windshield Wiper Switch Low Signal

B4

0.35 L-GN

1715

Windshield Wiper Switch High Signal

B4

0.35 L-GN

1715

Windshield Wiper Switch High Signal

B5

0.35 YE

307

Headlamp Switch Flash To Pass Signal

B5

0.35 YE

307

Headlamp Switch Flash To Pass Signal

B6

0.35 PU/TN

524

Headlamp Dimmer Switch High Beam Signal

B6

0.35 PU

524

Headlamp Dimmer Switch High Beam Signal

B7

--

--

Not Used

B7

GY

--

Not Used

B8

0.35 TN

28

Horn Relay Control

B8

0.35 TN

28

Horn Relay Control

B9

--

--

Not Used

B9

--

--

Not Used

B10

0.35 L-BU/WH

1414

Left Front Turn Signal Switch Signal

B10

0.35 L-BU/WH

1414

Left Front Turn Signal Switch Signal

B11

0.35 D-BU/WH

1415

Right Front Turn Signal Switch Signal

B11

0.35 D-BU/WH

1415

Right Front Turn Signal Switch Signal

B12

--

--

Not Used

B12

--

--

Not Used

C1

0.35 BN

4

Accessory Voltage

C1

0.35 BN

4

Accessory Voltage

C2

0.35 PK

1884

Cruise Control Set/Coast/Resume/Accelerate Switch Signal

C2

0.35 GY/WH

1884

Cruise Control Set/Coast/Resume/Accelerate Switch Signal

C3

0.35 BN/WH

1571

Traction Control Switch Signal (2) (AN3)

C3

0.35 BN/WH

1571

Traction Control Switch Signal (2) (AN3)

C4

0.35 D-BU

1796

Steering Column Radio Control Signal

C4

0.35 D-BU

1796

Steering Column Radio Control Signal

C5

0.35 PU/WH

816

A/T Shift Lock Solenoid Supply Voltage (AN3)

C5

0.35 PU/WH

816

A/T Shift Lock Solenoid Supply Voltage (AN3)

C6

0.35 D-GN/WH

7158

Cruise Control Indicator Dimming Signal

C6

0.35 D-GN/WH

7158

Cruise Control Indicator Dimming Signal

C7-C12

--

--

Not Used

C7-C12

--

--

Not Used

D1-D8

--

--

Not Used

D1-D8

--

--

Not Used

X205 Body Harness to Steering Column Harness


Object Number: 851472  Size: CH

Object Number: 851471  Size: CH

Connector Part Information

  • OEM: 15448130
  • Service: 88953233
  • Description: 40-Way F GT 150, 280 Series (L-GY)

Connector Part Information

  • OEM: 15475870
  • Service: 88988616
  • Description: 40-Way M GT 150, 280 Series (L-GY)

Terminal Part Information

  • Pins: C1, A1, A2, B12
  • Terminal/Tray: 12191812/19
  • Core/Insulation Crimp: E/C
  • Release Tool/Test Probe: 15315247/J-35616-2A (GY)
  • Pins: C2, C4-C6, D1
  • Terminal/Tray: See Terminal Repair Kit
  • Core/Insulation Crimp: See Terminal Repair Kit
  • Release Tool/Test Probe: See Terminal Repair Kit

Terminal Part Information

  • Pins: C1, A1, A2, B6, B12, C2, C4-C6, D1
  • Terminal/Tray: See Terminal Repair Kit
  • Core/Insulation Crimp: See Terminal Repair Kit
  • Release Tool/Test Probe: See Terminal Repair Kit

X205 Body Harness to Steering Column Harness

Pin

Wire

Circuit

Function

Pin

Wire

Circuit

Function

A1

0.5 PK/YE

2640

Battery Positive Voltage

A1

0.5 PK/YE

2640

Battery Positive Voltage

A2

0.35 OG/PK

1840

Battery Positive Voltage

A2

0.35 OG/RD

1840

Battery Positive Voltage

A3-A6

--

--

Not Used

A3-A6

--

--

Not Used

A7

0.35 GY/YE

2096

Steering Column Tilt Up Switch Signal

A7

0.35 GY

2096

Steering Column Tilt Up Switch Signal (N38)

A8

1 PK

2111

Steering Column Tilt Motor Control - Up

A8

1 PK/BN

2111

Steering Column Tilt Motor Control - Up (N38)

B1

0.35 YE

2097

Steering Column Tilt Down Switch Signal

B1

0.35 YE

2097

Steering Column Tilt Down Switch Signal (N38)

B2

0.35 GY/OG

2095

Steering Column Telescope Reverse Switch Signal

B2

0.35 OG

2095

Steering Column Telescope Reverse Switch Signal (N38)

B3

0.35 GY/PK

2094

Steering Column Telescope Forward Switch Signal

B3

0.35 PK

2094

Steering Column Telescope Forward Switch Signal (N38)

B4

0.35 GY/OG

2154

Steering Column Tilt Sensor Signal

B4

0.35 OG

2154

Steering Column Tilt Sensor Signal (N38)

B5

0.35 OG/WH

2153

Steering Column Telescope Sensor Signal

B5

0.35 OG/BK

2153

Steering Column Telescope Sensor Signal (N38)

B6

0.35 GY/BK

1381

LCD Dimming Signal

B6

0.35 GY/BK

1381

LCD Dimming Signal

B7

1 TN/BU

2110

Steering Column Telescope Motor Control - Reverse

B7

1 TN

2110

Steering Column Telescope Motor Control - Reverse (N38)

B8

1 OG/GN

2098

Steering Column Telescope Motor Control - Forward

B8

1 OG/D-GN

2098

Steering Column Telescope Motor Control - Forward (N38)

B9

1 BN

41

Ignition 1 Voltage (N38)

B9

1 BN

41

Ignition 1 Voltage (N38)

B10

0.35 GY/BK

5979

Memory Function Switch Supply Voltage (N38/A45)

B10

0.35 GY/BK

5979

Memory Function Switch Supply Voltage (N38/A45)

B11

1 BK

350

Ground

B11

1 BK

350

Ground

B12

0.35 D-GN

5060

Low Speed GMLAN Serial Data

B12

0.35 D-GN

5060

Low Speed GMLAN Serial Data

C1

0.5 BK

350

Ground

C1

0.5 BK

350

Ground

C2

0.35 GY

1056

Steering Wheel Position Sensor 5-Volt Reference (JL4)

C2

0.35 GY

1056

Steering Wheel Position Sensor 5-Volt Reference (JL4)

C3

1 BN

2112

Steering Column Tilt Motor Control - Down

C3

1 BN

2112

Steering Column Tilt Motor Control - Down (N38)

C4

0.35 L-GN

1763

Steering Wheel Position Signal A (JL4)

C4

0.35 L-GN

1763

Steering Wheel Position Signal A (JL4)

C5

0.35 L-BU

1764

Steering Wheel Position Signal B (JL4)

C5

0.35 L-BU

1764

Steering Wheel Position Signal B (JL4)

C6

0.35 OG/BK

556

Steering Wheel Position Sensor Low Reference (JL4)

C6

0.35 OG/BK

556

Steering Wheel Position Sensor Low Reference (JL4)

C7

0.35 TN/RD

782

Low Reference

C7

0.35 TN/RD

782

Low Reference (N38)

C8

0.35 GY

788

5-Volt Reference

C8

0.35 GY

788

5-Volt Reference (N38)

C9-C12

--

--

Not Used

C9-C12

--

--

Not Used

D1

0.35 PU/WH

5905

Ignition Lock Cylinder Solenoid Control (A51)

D1

0.35 YE

5905

Ignition Lock Cylinder Solenoid Control (A51)

D2-D8

--

--

Not Used

D2-D8

--

--

Not Used

X206 Body Harness to HVAC Harness


Object Number: 826318  Size: CH

Object Number: 889757  Size: CH

Connector Part Information

  • OEM: 7283-1064
  • Service: 88953318
  • Description: 6-Way F 1.5 Series Weather Pack (WH)

Connector Part Information

  • OEM: 7282-1064
  • Service: 88953318
  • Description: 6-Way M 1.5 Series Weather Pack (WH)

Terminal Part Information

  • Terminal/Tray: 7116-6042/11
  • Core/Insulation Crimp: B/G
  • Release Tool/Test Probe: 12094430/J-35616-44 (YE)

Terminal Part Information

  • Terminal/Tray: See Terminal Repair Kit
  • Core/Insulation Crimp: See Terminal Repair Kit
  • Release Tool/Test Probe: See Terminal Repair Kit

X206 Body Harness to HVAC Harness

Pin

Wire

Circuit

Function

Pin

Wire

Circuit

Function

1

5 BK

450

Ground

1

5 BK

450

Ground

2

2 PK/OG

2540

Battery Positive Voltage

2

2 RD/BK

2540

Battery Positive Voltage

3-6

--

--

Not Used

3-6

--

--

Not Used

X217 Steering Column Harness to Body Harness


Object Number: 594473  Size: CH

Object Number: 684931  Size: CH

Connector Part Information

  • OEM: 15336479
  • Service: 15306186
  • Description: 4-Way F Metri-Pack 280 Series (YE)

Connector Part Information

  • OEM: 15336476
  • Service: 15306363
  • Description: 4-Way M Metri-Pack 280 Series

Terminal Part Information

  • Terminal/Tray: See Terminal Repair Kit
  • Core/Insulation Crimp: See Terminal Repair Kit
  • Release Tool/Test Probe: See Terminal Repair Kit

Terminal Part Information

  • Terminal/Tray: 12034047/2
  • Core/Insulation Crimp: E/A
  • Release Tool/Test Probe: 12094430/J-35616-5 (PU)

X217 Steering Column Harness to Body Harness

Pin

Wire

Circuit

Function

Pin

Wire

Circuit

Function

A1

0.5 TN

3021

Steering Wheel Module Stage 1 High Control

A1

0.5 TN/L-BU

3021

Steering Wheel Module Stage 1 High Control

A2

0.5 BN

3020

Steering Wheel Module Stage 1 Low Control

A2

0.5 BN

3020

Steering Wheel Module Stage 1 Low Control

B1

0.5 WH

3023

Steering Wheel Module Stage 2 High Control

B1

0.5 L-GN/WH

3023

Steering Wheel Module Stage 2 High Control

B2

0.5 PK

3022

Steering Wheel Module Stage 2 Low Control

B2

0.5 GY/PK

3022

Steering Wheel Module Stage 2 Low Control

X208 I/P Top Pad Harness to I/P Harness


Object Number: 1913524  Size: CH

Object Number: 1913526  Size: CH

Connector Part Information

  • OEM: 6240-5192
  • Service: See Catalog
  • Description: 6-Way F 2.3 Series (L-GY)

Connector Part Information

  • OEM: 6249-1140
  • Service: See Catalog
  • Description: 6-Way M 2.3 Series (L-GY)

Terminal Part Information

  • Terminal: See Terminal Repair Kit
  • Core/Insulation Crimp: See Terminal Repair Kit
  • Release Tool/Test Probe: See Terminal Repair Kit

Terminal Part Information

  • Terminal: See Terminal Repair Kit
  • Core/Insulation Crimp: See Terminal Repair Kit
  • Release Tool/Test Probe: See Terminal Repair Kit

X208 I/P Top Pad Harness to I/P Harness

Pin

Wire

Circuit

Function

Pin

Wire

Circuit

Function

1

0.35 BK/L-GN

1137

DRL Ambient Light Sensor Signal

1

0.35 L-GN/BK

1137

DRL Ambient Light Sensor Signal

2

0.35 BK/L-BU

590

Solar Sensor Driver Signal (CJ2)

2

0.35 L-BU/BK

590

Solar Sensor Driver Signal (CJ2)

3

0.35 GY

1548

Passenger Solar Sensor Signal (CJ2)

3

0.35 GY

1548

Passenger Solar Sensor Signal (CJ2)

4

0.35 BK

350

Ground

4

0.35 BK

350

Ground

5

0.5 L-BU

1960

Front Center Speaker (-)

5

0.5 L-BU

1960

Front Center Speaker (-) (UQA)

6

0.5 YE

1860

Front Center Speaker (+)

6

0.5 YE

1860

Front Center Speaker (+) (UQA)

X210 I/P Harness to Inflatable Restraint I/P Module Jumper Harness


Object Number: 744039  Size: CH

Object Number: 744041  Size: CH

Connector Part Information

  • OEM: 12191740
  • Service: 15306005
  • Description: 4-Way F Metri-Pack 280 Series (YE)

Connector Part Information

  • OEM: 15304974
  • Service: 15306013
  • Description: 4-Way M Metri-Pack 280 Series (YE)

Terminal Part Information

  • Terminal: See Terminal Repair Kit
  • Core/Insulation Crimp: See Terminal Repair Kit
  • Release Tool/Test Probe: See Terminal Repair Kit

Terminal Part Information

  • Terminal: See Terminal Repair Kit
  • Core/Insulation Crimp: See Terminal Repair Kit
  • Release Tool/Test Probe: See Terminal Repair Kit

X210 I/P Harness to Inflatable Restraint I/P Module Jumper Harness

Pin

Wire

Circuit

Function

Pin

Wire

Circuit

Function

A1

0.5 PU

1403

Passenger I/P Module High Control

A1

0.5 PU

1403

Passenger I/P Module High Control

A2

0.5 GY

1404

Passenger I/P Module Low Control

A2

0.5 GY

1404

Passenger I/P Module Low Control

B1

0.5 YE

3027

Passenger I/P Module Stage 2 High Control

B1

0.5 GY

3027

Passenger I/P Module Stage 2 High Control

B2

0.5 OG

3026

Passenger I/P Module Stage 2 Low Control

B2

0.5 D-GN/WH

3026

Passenger I/P Module Stage 2 Low Control

X216 Body Harness to I/P Harness


Object Number: 744039  Size: CH

Object Number: 744041  Size: CH

Connector Part Information

  • OEM: 12191740
  • Service: 15306005
  • Description: 4-Way F Metri-Pack 280 Series (YE)

Connector Part Information

  • OEM: 15304974
  • Service: 15306013
  • Description: 4-Way M Metri-Pack 280 Series (YE)

Terminal Part Information

  • Terminal/Tray: 12034046/2
  • Core/Insulation Crimp: E/A
  • Release Tool/Test Probe: 12094430/J-35616-4A (PU)

Terminal Part Information

  • Terminal/Tray: 12034047/2
  • Core/Insulation Crimp: E/A
  • Release Tool/Test Probe: 12094430/J-35616-5 (PU)

X216 Body Harness to I/P Harness

Pin

Wire

Circuit

Function

Pin

Wire

Circuit

Function

A1

0.5 WH/BK

1403

I/P Module - Stage 1 - High Control

A1

0.5 WH/BK

1403

I/P Module - Stage 1 - High Control

A2

0.5 D-GN/WH

1404

I/P Module - Stage 1 - Low Control

A2

0.5 D-GN/WH

1404

I/P Module - Stage 1 - Low Control

B1

0.5 GY

3027

I/P Module - Stage 2 - High Control

B1

0.5 GY

3027

I/P Module - Stage 2 - High Control

B2

0.5 PU

3026

I/P Module - Stage 2 - Low Control

B2

0.5 PU

3026

I/P Module - Stage 2 - Low Control

X217 Steering Column Harness to Body Harness


Object Number: 594473  Size: CH

Object Number: 684931  Size: CH

Connector Part Information

  • OEM: 15336479
  • Service: 15306186
  • Description: 4-Way F Metri-Pack 280 Series (YE)

Connector Part Information

  • OEM: 15336476
  • Service: 15306363
  • Description: 4-Way M Metri-Pack 280 Series (YE)

Terminal Part Information

  • Terminal/Tray: See Terminal Repair Kit
  • Core/Insulation Crimp: See Terminal Repair Kit
  • Release Tool/Test Probe: See Terminal Repair Kit

Terminal Part Information

  • Terminal/Tray: 12034047/2
  • Core/Insulation Crimp: E/A
  • Release Tool/Test Probe: 12094430/J-35616-5 (PU)

X217 Steering Column Harness to Body Harness

Pin

Wire

Circuit

Function

Pin

Wire

Circuit

Function

A1

0.5 TN

3021

Steering Wheel Module Stage 1 High Control

A1

0.5 TN/L-BU

3021

Steering Wheel Module Stage 1 High Control

A2

0.5 BN

3020

Steering Wheel Module Stage 1 Low Control

A2

0.5 BN

3020

Steering Wheel Module Stage 1 Low Control

B1

0.5 WH

3023

Steering Wheel Module Stage 2 High Control

B1

0.5 L-GN/WH

3023

Steering Wheel Module Stage 2 High Control

B2

0.5 PK

3022

Steering Wheel Module Stage 2 Low Control

B2

0.5 GY/PK

3022

Steering Wheel Module Stage 2 Low Control

X219 I/P Harness to Ashtray Lamp Harness (AN3)


Object Number: 1243663  Size: CH

Object Number: 1391783  Size: CH

Connector Part Information

  • OEM: 15332132
  • Service: 88953364
  • Description: 3-Way F GT 150 Series (BK)

Connector Part Information

  • OEM: 15332133
  • Service: 88987881
  • Description: 3-Way M GT 150 Series (BK)

Terminal Part Information

  • Pins: A, C
  • Terminal/Tray: 12191812/19
  • Core/Insulation Crimp: C/A
  • Pins: B
  • Core/Insulation Crimp: E/C
  • Release Tool/Test Probe: 15315247/J-35616-2A (GY)

Terminal Part Information

  • Pins: A, C
  • Terminal/Tray: 15304702/19
  • Core/Insulation Crimp: 2/4
  • Pins: B
  • Core/Insulation Crimp: E/4
  • Release Tool/Test Probe: 15315247/J-35616-3 (GY)

X219 I/P Harness to Ashtray Lamp Harness (AN3)

Pin

Wire

Circuit

Function

Pin

Wire

Circuit

Function

A

0.8 RD/WH

1740

Battery Positive Voltage

A

0.8 RD/WH

1740

Battery Positive Voltage

B

0.35 GY

8

Instrument Panel Lamp Supply Voltage

B

0.35 GY

8

Instrument Panel Lamp Supply Voltage

C

0.8 BK

350

Ground

C

0.8 BK

350

Ground

X240 Steering Wheel Heater Jumper (NR7)


Object Number: 287981  Size: CH

Object Number: 795620  Size: CH

Connector Part Information

  • OEM: 12092162
  • Service: See Catalog
  • Description: 4-Way F GT 150 Series (BK)

Connector Part Information

  • OEM: 12092163
  • Service: 12092163
  • Description: 4-Way M GT 150 Series (BK)

Terminal Part Information

  • Terminal/Tray: See Terminal Repair Kit
  • Core/Insulation Crimp: See Terminal Repair Kit
  • Release Tool/Test Probe: See Terminal Repair Kit

Terminal Part Information

  • Terminal/Tray: See Terminal Repair Kit
  • Core/Insulation Crimp: See Terminal Repair Kit
  • Release Tool/Test Probe: See Terminal Repair Kit

X240 Steering Wheel Heater Jumper (NR7)

Pin

Wire

Circuit

Function

Pin

Wire

Circuit

Function

A

1 RD

41

Ignition 3 Voltage

A

1 RD

41

Ignition 3 Voltage

B

0.35 YE

5883

Heated Steering Wheel Switch Signal

B

0.35 YE

5883

Heated Steering Wheel Switch Signal

C

0.35 BK/WH

5884

Heated Steering Wheel Switch LED Control

C

0.35 WH

5884

Heated Steering Wheel Switch LED Control

D

1 BK

350

Ground

D

1 D-GN

350

Ground

X276 Steering Column Harness to Inflatable Restraint Steering Wheel Module Coil


Object Number: 62464  Size: CH

Object Number: 808703  Size: CH

Connector Part Information

  • OEM: 12064769
  • Service: 1210762
  • Description: 10-Way F Metri-Pack 150 Series (WH)

Connector Part Information

  • OEM: 12064770
  • Service: 12101823
  • Description: 10-Way M Metri-Pack 150 Series (WH)

Terminal Part Information

  • Terminal/Tray: See Terminal Repair Kit
  • Core/Insulation Crimp: See Terminal Repair Kit
  • Release Tool/Test Probe: See Terminal Repair Kit

Terminal Part Information

  • Terminal/Tray: See Terminal Repair Kit
  • Core/Insulation Crimp: See Terminal Repair Kit
  • Release Tool/Test Probe: See Terminal Repair Kit

X276 Steering Column Harness to Inflatable Restraint Steering Wheel Module Coil

Pin

Wire

Circuit

Function

Pin

Wire

Circuit

Function

A

0.35 GY

397

Cruise Control On Switch Signal

A

--

--

Not Used

B

0.35 GY/WH

1884

Cruise Control Set/Cruise and Resume/Accelerate Switch Signal

B

0.35 GY

1884

Cruise Control Set/Cruise and Resume/Accelerate Switch Signal

C

1 BN

41

Ignition 1 Voltage

C

1 RD

41

Ignition 1 Voltage

D

1 BK

350

Ground

D

1 D-GN

350

Ground

E

0.35 PU

1375

Remote Radio Control Head Accessory Supply Voltage

E

0.35 PU

1375

Remote Radio Control Head Accessory Supply Voltage

F

0.35 GY/BK

1381

LCD Dimming Signal

F

0.35 PU/WH

1381

LCD Dimming Signal

G

0.35 D-BU

1796

Steering Column Radio Control Signal

G

0.35 D-BU

1796

Steering Column Radio Control Signal

H

0.35 BK

350

Ground

H

0.35 BK

350

Ground

J

0.35 TN

28

Horn Relay Control

J

0.35 TN

28

Horn Relay Control

K

0.35 YE

7158

Cruise Control Indicator Dimming Signal

K

0.35 D-GN/WH

7158

Cruise Control Indicator Dimming Signal

X277 Inflatable Restraint Steering Wheel Module Coil to Steering Wheel Harness


Object Number: 62464  Size: CH

Object Number: 808703  Size: CH

Connector Part Information

  • OEM: 12064769
  • Service: 1210762
  • Description: 10-Way F Metri-Pack 150 Series (WH)

Connector Part Information

  • OEM: 12064770
  • Service: 12101823
  • Description: 10-Way M Metri-Pack 150 Series (WH)

Terminal Part Information

  • Terminal/Tray: See Terminal Repair Kit
  • Core/Insulation Crimp: See Terminal Repair Kit
  • Release Tool/Test Probe: See Terminal Repair Kit

Terminal Part Information

  • Terminal/Tray: See Terminal Repair Kit
  • Core/Insulation Crimp: See Terminal Repair Kit
  • Release Tool/Test Probe: See Terminal Repair Kit

X277 Inflatable Restraint Steering Wheel Module Coil to Steering Wheel Harness

Pin

Wire

Circuit

Function

Pin

Wire

Circuit

Function

A

0.35 GY

397

Cruise Control On Switch Signal

A

0.35 GY

397

Cruise Control On Switch Signal

B

0.35 GY/WH

1884

Cruise Control Set/Cruise and Resume/Accelerate Switch Signal

B

0.35 GY/WH

1884

Cruise Control Set/Cruise and Resume/Accelerate Switch Signal

C

1 BN

41

Ignition 1 Voltage

C

1 BN

41

Ignition 1 Voltage

D

1 BK

350

Ground

D

1 BK

350

Ground

E

0.35 PU

1375

Remote Radio Control Head Accessory Supply Voltage

E

0.35 PU

1375

Remote Radio Control Head Accessory Supply Voltage

F

0.35 GY/BK

1381

LCD Dimming Signal

F

0.35 GY/BK

1381

LCD Dimming Signal

G

0.35 D-BU

1796

Steering Column Radio Control Signal

G

0.35 D-BU

1796

Steering Column Radio Control Signal

H

0.35 BK

350

Ground

H

0.35 BK

350

Ground

J

0.35 TN

28

Horn Relay Control

J

0.35 TN

28

Horn Relay Control

K

0.35 PU

7158

Cruise Control Indicator Dimming Signal

K

0.35 D-GN/WH

7158

Cruise Control Indicator Dimming Signal

X304 Body Harness to Left Inflatable Restraint Roof Rail Module Harness (AY0)


Object Number: 966375  Size: CH

Object Number: 646194  Size: CH

Connector Part Information

  • OEM: 12077921
  • Service: See Catalog
  • Description: 2-Way F 280 Series (YE)

Connector Part Information

  • OEM: 12186799
  • Service: 15306012
  • Description: 2-Way M 280 Series (YE)

Terminal Part Information

  • Pins: A, B
  • Terminal/Tray: See Terminal Repair Kit
  • Core/Insulation Crimp: See Terminal Repair Kit
  • Release Tool/Test Probe: See Terminal Repair Kit

Terminal Part Information

  • Pins: A, B
  • Terminal/Tray: 12066337/18
  • Core/Insulation Crimp: E/A
  • Release Tool/Test Probe: 12094429/J-35616-5 (PU)

X304 Body Harness to Left Inflatable Restraint Roof Rail Module Harness (AY0)

Pin

Wire

Circuit

Function

Pin

Wire

Circuit

Function

A

0.5 PK/BK

5019

Roof Rail Module - Left - High Control

A

0.5 PU/WH

5019

Roof Rail Module - Left - High Control

B

0.5 L-GN/RD

5020

Roof Rail Module - Left - Low Control

B

0.5 PK/BK

5020

Roof Rail Module - Left - Low Control

X305 Body Harness to Right Inflatable Restraint Roof Rail Module Harness (AY0)


Object Number: 966375  Size: CH

Object Number: 646194  Size: CH

Connector Part Information

  • OEM: 12077921
  • Service: See Catalog
  • Description: 2-Way F 280 Series (YE)

Connector Part Information

  • OEM: 12186799
  • Service: 15306012
  • Description: 2-Way M 280 Series (YE)

Terminal Part Information

  • Pins: A, B
  • Terminal/Tray: See Terminal Repair Kit
  • Core/Insulation Crimp: See Terminal Repair Kit
  • Release Tool/Test Probe: See Terminal Repair Kit

Terminal Part Information

  • Pins: A, B
  • Terminal/Tray: 12066337/18
  • Core/Insulation Crimp: E/A
  • Release Tool/Test Probe: 12094429/J-35616-5 (PU)

X305 Body Harness to Right Inflatable Restraint Roof Rail Module Harness (AY0)

Pin

Wire

Circuit

Function

Pin

Wire

Circuit

Function

A

0.5 PK/BK

5021

Roof Rail Module - Right - High Control

A

0.5 YE/BK

5021

Roof Rail Module - Right - High Control

B

0.5 L-BU/RD

5022

Roof Rail Module - Right - Low Control

B

0.5 L-BU/WH

5022

Roof Rail Module - Right - Low Control

X308 Rear Wheel Speed Sensor Harness to Body Harness


Object Number: 1707501  Size: CH

Object Number: 1702000  Size: CH

Connector Part Information

  • OEM: 7283-5543-10
  • Service: See Catalog
  • Description: 4-Way F 1.5MM Series Sealed (GY)

Connector Part Information

  • OEM: 7282-5543-10
  • Service: See Catalog
  • Description: 4-Way M 1.5MM Series Sealed (GY)

Terminal Part Information

  • Terminal/Tray: 7116-4102-08/9
  • Core/Insulation Crimp: E/1
  • Release Tool/Test Probe: 12094430/J-35616-2A (GY)

Terminal Part Information

  • Terminal/Tray: 7114-4102-08/9
  • Core/Insulation Crimp: E/1
  • Release Tool/Test Probe: 12094430/J-35616-3 (GY)

X308 Rear Wheel Speed Sensor Harness to Body Harness

Pin

Wire

Circuit

Function

Pin

Wire

Circuit

Function

1

0.5 BN

882

Wheel Speed Sensor Signal Right Rear

1

0.35 BN

882

Wheel Speed Sensor Signal Right Rear

2

0.5 WH

883

Wheel Speed Sensor Low Reference Right Rear

2

0.35 GY/D-BU

883

Wheel Speed Sensor Low Reference Right Rear

3

0.5 TN

884

Wheel Speed Sensor Signal Left Rear

3

0.35 GY/YE

884

Wheel Speed Sensor Signal Left Rear

4

0.5 OG

885

Wheel Speed Sensor Low Reference Left Rear

4

0.35 OG

885

Wheel Speed Sensor Low Reference Left Rear

X309 Body Harness to Fuel Tank Harness


Object Number: 816167  Size: CH

Object Number: 1372292  Size: CH

Connector Part Information

  • OEM: 12059472
  • Service: 12101830
  • Description: 7-Way F 150/280 Series GT, Sealed (BK)

Connector Part Information

  • OEM: 12052200
  • Service: NCSI
  • Description: 7-Way M Metri-Pack 150 480 Series Sealed (BK)

Terminal Part Information

  • Pins: A-D, F
  • Terminal/Tray: 12048074/2
  • Core/Insulation Crimp: E/1
  • Release Tool/Test Probe: 12094429/J-35616-2A (GY)
  • Pins: E, G
  • Terminal/Tray: 12048451/2
  • Core/Insulation Crimp: F/3
  • Release Tool/Test Probe: 12094430/J-35616-40 (BU)

Terminal Part Information

  • Pins: A-G
  • Terminal/Tray: See Terminal Repair Kit
  • Core/Insulation Crimp: See Terminal Repair Kit
  • Release Tool/Test Probe: See Terminal Repair Kit

X309 Body Harness to Fuel Tank Harness

Pin

Wire

Circuit

Function

Pin

Wire

Circuit

Function

A

0.35 PU/BK

1589

Primary Fuel Level Sensor Signal

A

0.35 PU

1589

Primary Fuel Level Sensor Signal

B

0.35 GY

416

Fuel Tank Pressure Sensor 5-Volt Reference

B

0.35 GY

416

Fuel Tank Pressure Sensor 5-Volt Reference

C

0.35 TN

2759

Fuel Tank Pressure Sensor Low Reference

C

0.35 BK/WH

651

Signal Ground

D

0.35 TN

2759

Fuel Tank Pressure Sensor Low Reference

D

0.35 TN

2759

Fuel Tank Pressure Sensor Low Reference

E

1 GY

120

Fuel Pump Supply Voltage

E

1 GY

120

Fuel Pump Supply Voltage

F

0.35 D-GN

890

Fuel Tank Pressure Sensor Signal

F

0.35 D-GN

890

Fuel Tank Pressure Sensor Signal

G

1 BK

1050

Ground

G

1 BK

1050

Ground

X311 Left Inflatable Restraint Side Impact Module Harness to Body Harness (AY0)


Object Number: 1707558  Size: CH

Object Number: 1707559  Size: CH

Connector Part Information

  • OEM: E-2239
  • Service: See Catalog
  • Description: 2-Way F Series Sealed (YE)

Connector Part Information

  • OEM: E-2238
  • Service: 15326762
  • Description: 2-Way M 1.5 YEL Series Sealed (YE)

Terminal Part Information

  • Terminal/Tray: See Terminal Repair Kit
  • Core/Insulation Crimp: See Terminal Repair Kit
  • Release Tool/Test Probe: See Terminal Repair Kit

Terminal Part Information

  • Terminal/Tray: 7114-4102-08/9
  • Core/Insulation Crimp: E/1
  • Release Tool/Test Probe: 12094430/J-35616-3 (GY)

X311 Left Inflatable Restraint Side Impact Module Harness to Body Harness (AY0)

Pin

Wire

Circuit

Function

Pin

Wire

Circuit

Function

1

0.5 YE/GY

6969

Side Impact Module - Left - Low Control

1

0.5 YE/GY

6969

Side Impact Module - Left - Low Control

2

0.5 L-BU/BK

6970

Side Impact Module - Left - High Control

2

0.5 L-BU/BK

6970

Side Impact Module - Left - High Control

X312 Right Inflatable Restraint Side Impact Module Harness to Body Harness (AY0)


Object Number: 1707558  Size: CH

Object Number: 1707559  Size: CH

Connector Part Information

  • OEM: E-2239
  • Service: See Catalog
  • Description: 2-Way F Series Sealed (YE)

Connector Part Information

  • OEM: E-2238
  • Service: 15326762
  • Description: 2-Way M 1.5 YEL Series Sealed (YE)

Terminal Part Information

  • Terminal/Tray: See Terminal Repair Kit
  • Core/Insulation Crimp: See Terminal Repair Kit
  • Release Tool/Test Probe: See Terminal Repair Kit

Terminal Part Information

  • Terminal/Tray: 7114-4102-08/9
  • Core/Insulation Crimp: E/1
  • Release Tool/Test Probe: 12094430/J-35616-3 (GY)

X312 Right Inflatable Restraint Side Impact Module Harness to Body Harness (AY0)

Pin

Wire

Circuit

Function

Pin

Wire

Circuit

Function

1

0.5 YE/GY

6969

Side Impact Module - Right Front - Low Control

1

0.5 OG

2117

Side Impact Module - Right Front - Low Control

2

0.5 L-BU/BK

6970

Side Impact Module - Right Front - High Control

2

0.5 L-GN

2116

Side Impact Module - Right Front - High Control

X314 Body Harness to the Right Front Seat Harness (AG2/AH8)


Object Number: 1576566  Size: CH

Object Number: 1576562  Size: CH

Connector Part Information

  • OEM: 7283-4190-30
  • Service: See Catalog
  • Description: 43-Way F YESC Unsealed Series (BK)

Connector Part Information

  • OEM: 7282-4190-30
  • Service: See Catalog
  • Description: 43-Way M YESC Unsealed Series (BK)

Terminal Part Information

  • Pins: 8, 11-12, 18-20, 25-31, 33, 36, 39, 40
  • Terminal/Tray: 7116-4100-08/9
  • Core/Insulation Crimp: E/C
  • Release Tool/Test Probe: 12094430/J-35616-2A (GY)
  • Pins: 23, 24, 34, 35
  • Terminal/Tray: 7116-4101-08/9
  • Core/Insulation Crimp: E/A
  • Pins: 22
  • Core/Insulation Crimp: See Terminal Repair Kit
  • Release Tool/Test Probe: 12094430/J-35616-2A (GY)
  • Pins: 3
  • Terminal/Tray: 7116-4122-02/10
  • Core/Insulation Crimp: A/B
  • Release Tool/Test Probe: 12094430/J-35616-42 (RD)
  • Pins: 32, 43
  • Terminal/Tray: 7116-4112-02/9
  • Core/Insulation Crimp: C/D
  • Release Tool/Test Probe: 12094430/J-35616-35 (VT)

Terminal Part Information

  • Pins: 23, 24, 34, 35
  • Core/Insulation Crimp: C/A
  • Release Tool/Test Probe: 15315247/J-35616-3 (GY)
  • Pins: 8, 11-12, 18-20, 22, 25-31, 33, 36, 39, 40
  • Terminal/Tray: 7114-4100-08/9
  • Core/Insulation Crimp: E/C
  • Release Tool/Test Probe: 15315247/J-35616-3 (GY)
  • Pins: 3
  • Terminal/Tray: 7114-4122-02/9
  • Core/Insulation Crimp: A/B
  • Release Tool/Test Probe: 12094430/J-35616-43 (RD)
  • Pins: 32, 43
  • Terminal/Tray: 7114-4112-02/9
  • Core/Insulation Crimp: C/D
  • Release Tool/Test Probe: 12094430/J-35616-5 (PU)

X314 Body Harness to the Right Front Seat Harness (AG2/AH8)

Pin

Wire

Circuit

Function

Pin

Wire

Circuit

Function

1-2

--

--

Not Used

1-2

--

--

Not Used

3

3 YE/GY

1440

Battery Positive Voltage (KB6)

3

3 YE/GY

1440

Battery Positive Voltage (KB6)

4-7

--

--

Not Used

4-7

--

--

Not Used

8

0.35 BN

741

Run Ignition 3 Voltage (KB6)

8

0.35 BN

741

Run Ignition 3 Voltage (KB6)

9-10

--

--

Not Used

9-10

--

--

Not Used

11

0.35 TN/L-BU

5961

Heated Seat Control Module Enable (2) Signal (KB6)

11

0.35 TN/L-BU

5961

Heated Seat Control Module Enable (2) Signal (KB6)

12

0.5 BK

350

Ground

12

0.35 BK

350

Ground

13-17

--

--

Not Used

13-17

--

--

Not Used

18

0.35 PK/RD

2440

Battery Positive Voltage

18

0.35 PK/RD

2440

Battery Positive Voltage

19

0.5 TN/WH

238

Driver Seat Belt Switch Signal

19

0.35 TN/WH

238

Driver Seat Belt Switch Signal

20

0.35 TN/PK

5017

Driver Seat Belt Switch Low Reference

20

0.35 TN/PK

5017

Driver Seat Belt Switch Low Reference

0.35 TN/PK

5017

Driver Seat Belt Switch Low Reference

21

--

--

Not Used

21

--

--

Not Used

22

0.35 D-GN

5060

Low Speed GMLAN Serial Data

22

0.35 D-GN

5060

Low Speed GMLAN Serial Data

0.35 D-GN

5060

Low Speed GMLAN Serial Data

23

1 PK

7022

Right Heated Seat Cushion Element Control (KB6)

23

1 PK

7022

Right Heated Seat Cushion Element Control (KB6)

24

1 L-GN

6216

Driver Seat Cushion Heated/Cool Ventilation Module Cool Control (KB6)

24

1 L-GN

6216

Driver Seat Cushion Heated/Cool Ventilation Module Cool Control (KB6)

25

0.35 OG/PK

7018

Right Seat Cushion Temperature Sensor Signal (KB6)

25

0.35 OG/PK

7018

Right Seat Cushion Temperature Sensor Signal (KB6)

26

0.35 OG/WH

7019

Right Seat Cushion Temperature Sensor Low Reference (KB6)

26

0.35 OG/WH

7019

Right Seat Cushion Temperature Sensor Low Reference (KB6)

27

0.35 BK/TN

6218

Driver Seat Cushion Blower Speed Control (KB6)

27

0.35 BK/TN

6218

Driver Seat Cushion Blower Speed Control (KB6)

28

0.5 D-GN

6238

Driver Seat Blower Low Reference (KB6)

28

0.5 D-GN

6238

Driver Seat Blower Low Reference (KB6)

29

0.5 D-BU

6143

Driver Seat Blower Supply Voltage (KB6)

29

0.5 D-BU

6143

Driver Seat Blower Supply Voltage (KB6)

30

0.35 GY/PU

6211

Driver Seat Back Blower Speed Control (KB6)

30

0.35 GY/PU

6211

Driver Seat Back Blower Speed Control (KB6)

31

0.35 YE/BN

7020

Right Seat Back Temperature Sensor Signal (KB6)

31

0.35 YE/BN

7020

Right Seat Back Temperature Sensor Signal (KB6)

32

3 BN/WH

4240

Battery Positive Voltage

32

2 TN/D-BU

4240

Battery Positive Voltage (AG2)

33

0.35 YE/WH

7021

Right Seat Back Temperature Sensor Low Reference (KB6)

33

0.35 YE/WH

7021

Right Seat Back Temperature Sensor Low Reference (KB6)

34

1 PU

7023

Right Heated Seat Back Element Control (KB6)

34

1 PU

7023

Right Heated Seat Back Element Control (KB6)

35

1 TN/PU

7024

Right Heated Seat Element Supply Voltage (KB6)

35

1 TN/PU

7024

Right Heated Seat Element Supply Voltage (KB6)

36

0.35 L-GN/BK

181

Heated Seat Control Module Status Signal (KB6)

36

0.35 L-GN/BK

181

Heated Seat Control Module Status Signal (KB6)

37-38

--

--

Not Used

37-38

--

--

Not Used

39

0.35 WH/BK

5043

Keyword 2000 Serial Data (KB6)

39

0.35 WH/BK

5043

Keyword 2000 Serial Data (KB6)

40

0.5 L-BU

5056

Passenger Seat Position Switch Signal

40

0.5 L-BU

5056

Passenger Seat Position Switch Signal

41-42

--

--

Not Used

41-42

--

--

Not Used

43

0.35 BK

450

Ground

43

0.35 BK

450

Ground (AH8)

X315 Body Harness to Left Front Seat Harness (AG1/AE8)


Object Number: 1576566  Size: CH

Object Number: 1576562  Size: CH

Connector Part Information

  • OEM: 7283-4190-30
  • Service: See Catalog
  • Description: 43-Way F YESC Unsealed Series (BK)

Connector Part Information

  • OEM: 7282-4190-30
  • Service: See Catalog
  • Description: 43-Way M YESC Unsealed Series (BK)

Terminal Part Information

  • Pins: 5
  • Terminal/Tray: 7116-4120-02/9
  • Core/Insulation Crimp: E/B
  • Release Tool/Test Probe: 12094430/J-35616-42 (RD)
  • Pins: 11, 12, 19, 20, 25-31, 33, 36
  • Terminal/Tray: 7116-4100-08/9
  • Core/Insulation Crimp: E/C
  • Release Tool/Test Probe: 12094430/J-35616-2A (GY)
  • Pins: 23, 24, 34, 35
  • Terminal/Tray: 7116-4101-08/9
  • Core/Insulation Crimp: E/A
  • Pins: 22
  • Core/Insulation Crimp: See Terminal Repair Kit
  • Release Tool/Test Probe: 12094430/J-35616-2A (GY)
  • Pins: 43
  • Core/Insulation Crimp: E/A
  • Release Tool/Test Probe: 12094430/J-35616-4A (PU)
  • Pins: 3
  • Terminal/Tray: 7116-4122-02/10
  • Core/Insulation Crimp: A/B
  • Release Tool/Test Probe: 12094430/J-35616-42 (RD)
  • Pins: 32
  • Terminal/Tray: 7116-4112-02/9
  • Core/Insulation Crimp: C/D
  • Release Tool/Test Probe: 12094430/J-35616-35 (VT)

Terminal Part Information

  • Pins: 43
  • Terminal/Tray: 7114-4111-02/9
  • Core/Insulation Crimp: E/A
  • Pins: 5
  • Terminal/Tray: 7114-4120-02/9
  • Core/Insulation Crimp: E/B
  • Release Tool/Test Probe: 12094430/J-35616-43 (RD)
  • Pins: 23, 24, 34, 35
  • Terminal/Tray: 7114-4101-08/9
  • Core/Insulation Crimp: C/A
  • Release Tool/Test Probe: 15315247/J-35616-3 (GY)
  • Pins: 11, 12, 19, 20, 22, 25-31, 33, 36
  • Terminal/Tray: 7114-4100-08/9
  • Core/Insulation Crimp: E/C
  • Release Tool/Test Probe: 15315247/J-35616-3 (GY)
  • Pins: 3
  • Terminal/Tray: 7114-4122-02/9
  • Core/Insulation Crimp: A/B
  • Release Tool/Test Probe: 12094430/J-35616-43 (RD)
  • Pins: 32
  • Terminal/Tray: 7114-4112-02/9
  • Core/Insulation Crimp: C/D
  • Release Tool/Test Probe: 12094430/J-35616-5 (PU)

X315 Body Harness to Left Front Seat Harness (AG1/AE8)

Pin

Wire

Circuit

Function

Pin

Wire

Circuit

Function

1

1 PK

2111

Steering Column Tilt Motor Control - Up

1

1 PK/BN

2111

Steering Column Tilt Motor Control - Up

2

1 BN

2112

Steering Column Tilt Motor Control - Down

2

1 TN

2112

Steering Column Tilt Motor Control - Down

3

3 BK

350

Ground

3

3 BK

350

Ground

4

3 TN/YE

3740

Battery Positive Voltage

4

3 TN/YE

3740

Battery Positive Voltage

5

0.8 BK

350

Ground

5

0.8 BK

350

Ground

6

1 TN/D-BU

2110

Steering Column Telescope Motor Control - Reverse

6

1 TN/BU

2110

Steering Column Telescope Motor Control - Reverse

7

1 OG/D-GN

2098

Steering Column Telescope Motor Control - Forward

7

1 OG/D-GN

2098

Steering Column Telescope Motor Control - Forward

8

0.35 TN/RD

782

Low Reference

8

0.35 TN/RD

782

Low Reference

9

0.35 GY

788

5-Volt Reference

9

0.35 GY

788

5-Volt Reference

10

0.35 GY/BK

5979

Memory Function Switch Supply Voltage (A45)

10

0.35 GY/BK

5979

Memory Function Switch Supply Voltage (A45)

11

0.35 TN/L-BU

5961

Heated Seat Control Module Enable (2) Signal (KB6)

11

0.35 TN/L-BU

5961

Heated Seat Control Module Enable (2) Signal (KB6)

12

0.8 OG/BN

1640

Battery Positive Voltage (A45)

12

0.8 OG/BN

1640

Battery Positive Voltage (A45)

13

0.35 GY/YE

2096

Steering Column Tilt Up Switch Signal

13

0.35 GY/YE

2096

Steering Column Tilt Up Switch Signal

14

0.35 YE

2097

Steering Column Tilt Down Switch Signal

14

0.35 YE/D-BU

2097

Steering Column Tilt Down Switch Signal

15

0.35 GY/OG

2095

Steering Column Telescope Reverse Switch Signal

15

0.35 GY/OG

2095

Steering Column Telescope Reverse Switch Signal

16

0.35 GY/PK

2094

Steering Column Telescope Forward Switch Signal

16

0.35 GY/PK

2094

Steering Column Telescope Forward Switch Signal

17

0.35 OG/WH

2154

Steering Column Tilt Sensor Signal

17

0.35 OG/WH

2154

Steering Column Tilt Sensor Signal

18

--

--

Not Used

18

--

--

Not Used

19

0.5 TN/WH

238

Driver Seat Belt Switch Signal

19

0.35 TN/WH

238

Driver Seat Belt Switch Signal

20

0.35 TN/PK

5017

Driver Seat Belt Switch Low Reference

20

0.35 TN/PK

5017

Driver Seat Belt Switch Low Reference

21

0.35 OG/D-BU

2153

Steering Column Telescope Sensor Signal

21

0.35 OG/D-BU

2153

Steering Column Telescope Sensor Signal

22

0.35 D-GN

5060

Low Speed GMLAN Serial Data

22

0.35 D-GN

5060

Low Speed GMLAN Serial Data (A45)

0.35 D-GN

5060

Low Speed GMLAN Serial Data

23

1 PK

7022

Right Heated Seat Cushion Element Control (KB6)

23

1 PK

7022

Right Heated Seat Cushion Element Control (KB6)

24

1 L-GN

6216

Driver Seat Cushion Heated/Cool Ventilation Module Cool Control (KB6)

24

1 L-GN

6216

Driver Seat Cushion Heated/Cool Ventilation Module Cool Control (KB6)

25

0.35 OG/PK

7018

Right Seat Cushion Temperature Sensor Signal (KB6)

25

0.35 OG

7018

Right Seat Cushion Temperature Sensor Signal (KB6)

26

0.35 OG/WH

7019

Right Seat Cushion Temperature Sensor Low Reference (KB6)

26

0.35 OG/WH

7019

Right Seat Cushion Temperature Sensor Low Reference (KB6)

27

0.35 BK/TN

6218

Driver Seat Cushion Blower Speed Control (KB6)

27

0.35 BK/TN

6218

Driver Seat Cushion Blower Speed Control (KB6)

28

0.5 D-GN

6238

Driver Seat Blower Low Reference (KB6)

28

0.5 D-GN

6238

Driver Seat Blower Low Reference (KB6)

29

0.5 D-BU

6143

Driver Seat Blower Supply Voltage (KB6)

29

0.5 D-BU

6143

Driver Seat Blower Supply Voltage (KB6)

30

0.35 GY/PU

6211

Driver Seat Back Blower Speed Control (KB6)

30

0.35 GY/PU

6211

Driver Seat Back Blower Speed Control (KB6)

31

0.35 YE/BN

7020

Right Seat Back Temperature Sensor Signal (KB6)

31

0.35 YE/BN

7020

Right Seat Back Temperature Sensor Signal (KB6)

32

3 RD/PK

1140

Battery Positive Voltage

32

3 RD/PK

1140

Battery Positive Voltage

33

0.35 YE/WH

7021

Right Seat Back Temperature Sensor Low Reference (KB6)

33

0.35 YE/WH

7021

Right Seat Back Temperature Sensor Low Reference (KB6)

34

1 PU

7023

Right Heated Seat Back Element Control (KB6)

34

1 PU

7023

Right Heated Seat Back Element Control (KB6)

35

1 TN/PU

7024

Right Heated Seat Element Supply Voltage (KB6)

35

1 TN/PU

7024

Right Heated Seat Element Supply Voltage (KB6)

36

0.35 L-GN/BK

181

Heated Seat Control Module Status Signal (KB6)

36

0.35 L-GN/BK

181

Heated Seat Control Module Status Signal (KB6)

37-42

--

--

Not Used

37-42

--

--

Not Used

43

0.8 PK/D-GN

2740

Battery Positive Voltage (AE8)

43

0.8 PK/D-GN

2740

Battery Positive Voltage (AE8)

X321 Headliner Harness to Body Harness


Object Number: 1716519  Size: CH

Object Number: 1716522  Size: CH

Connector Part Information

  • OEM: 7283-2784-30
  • Service: See Catalog
  • Description: 38-Way F (BK)

Connector Part Information

  • OEM: 7282-2784-30
  • Service: See Catalog
  • Description: 38-Way M (BK)

Terminal Part Information

  • Pins: 6, 7, 11
  • Terminal/Tray: 7116-4110-02/9
  • Core/Insulation Crimp: E/C
  • Release Tool/Test Probe: 12094430/J-35616-4A (PU)
  • Pins: 5
  • Terminal/Tray: 7116-4111-02/9
  • Core/Insulation Crimp: See Terminal Repair Kit
  • Release Tool/Test Probe: 12094430/J-35616-4A (PU)
  • Pins: 12, 15-18, 23-34, 36
  • Terminal/Tray: 7116-4618-02/14
  • Core/Insulation Crimp: P/P
  • Release Tool/Test Probe: J-38125-215/J-35616-64B (L-BU)

Terminal Part Information

  • Pins: 5-7, 11
  • Terminal/Tray: 7114-4110-02/9
  • Core/Insulation Crimp: E/C
  • Release Tool/Test Probe: 12094430/J-35616-5 (PU)
  • Pins: 12, 15-18, 23-34, 36
  • Terminal/Tray: See Terminal Repair Kit
  • Core/Insulation Crimp: See Terminal Repair Kit
  • Release Tool/Test Probe: See Terminal Repair Kit

X321 Headliner Harness to Body Harness

Pin

Wire

Circuit

Function

Pin

Wire

Circuit

Function

1-4

--

--

Not Used

1-4

--

--

Not Used

5

0.35 YE

643

Accessory Voltage (CE1)

5

0.5 YE

643

Accessory Voltage (CE1)

0.35 YE

643

Accessory Voltage (CE1)

6

0.35 RD/D-GN

1040

Battery Positive Voltage (UG1)

6

0.35 RD/D-GN

1040

Battery Positive Voltage (UG1)

7

0.35 GY

8

Instrument Panel Lamp Supply Voltage (1) (CF5)

7

0.35 GY

8

Instrument Panel Lamp Supply Voltage (1) (CF5)

8

0.35 D-GN

5060

Low Speed GMLAN Serial Data (UFL)

8

0.35 D-GN

5060

Low Speed GMLAN Serial Data (UFL)

9-10

--

--

Not Used

9-10

--

--

Not Used

11

0.5 BK

1489

Noise Reduction Microphone Drain Wire (UE1)

11

0.5 BARE

1489

Noise Reduction Microphone Drain Wire (UE1)

12

0.35 GY/WH

655

Cellular Telephone Microphone Signal (UE1)

12

0.35 GY/WH

655

Cellular Telephone Microphone Signal (UE1)

13

--

--

Not Used

13

--

--

Not Used

14

0.35 GY/BK

901

Lane Departure Warning Control (UFL)

14

0.35 OG

901

Lane Departure Warning Control (UFL)

15

0.35 BN/WH

2517

Keypad Red LED (UE1)

15

0.35 BN/WH

2517

Keypad Red LED (UE1)

16

0.35 YE/BK

2516

Keypad Green LED (UE1)

16

0.35 YE/BK

2516

Keypad Green LED (UE1)

17

0.35 D-GN/WH

2514

Keypad Signal (UE1)

17

0.35 D-GN/WH

2514

Keypad Signal (UE1)

18

0.35 L-GN/BK

2515

Keypad Supply Voltage (UE1)

18

0.35 L-GN/BK

2515

Keypad Supply Voltage (UE1)

19-22

--

--

Not Used

19-22

--

--

Not Used

23

0.35 PU

5234

Passenger Seat Belt Indicator

23

0.35 PU

5234

Passenger Seat Belt Indicator

24

0.35 D-BU

2307

Passenger Air Bag On Indicator Control

24

0.35 D-BU

2307

Passenger Air Bag On Indicator Control

25

0.35 PK/TN

2308

Passenger Air Bag Off Indicator Control

25

0.35 PK/TN

2308

Passenger Air Bag Off Indicator Control

26

0.5 GY/BK

690

Courtesy Lamp Relay Control

26

0.5 GY/BK

690

Courtesy Lamp Relay Control

27

0.5 OG

1732

Electronic Control Unit 12-Volt Reference

27

0.5 OG

1732

Electronic Control Unit 12-Volt Reference

28

0.5 BK

850

Ground

28

0.5 BK

850

Ground

29

0.5 BK

850

Ground

29

0.5 BK

850

Ground

30

0.35 GY/BN

1690

Automatic Day/Night Mirror Signal (DD8)

30

0.35 GY/BN

1690

Automatic Day/Night Mirror Signal (DD8)

31

0.35 PK/BN

1691

Automatic Day/Night Mirror Low Reference (DD8)

31

0.35 PK/BN

1691

Automatic Day/Night Mirror Low Reference (DD8)

32

0.35 TN/YE

481

Rain Sense Signal (1) (CE1)

32

0.35 TN/YE

481

Rain Sense Signal (1) (CE1)

33

0.35 L-GN

482

Rain Sense Signal (2) (CE1)

33

0.35 L-GN

482

Rain Sense Signal (2) (CE1)

34

0.5 L-GN

24

Backup Lamp Supply Voltage (DD8)

34

0.5 L-GN

24

Backup Lamp Supply Voltage (DD8)

35

--

--

Not Used

35

--

--

Not Used

36

0.35 PK/RD

239

Run/Crank Ignition 1 Voltage

36

0.35 PK/RD

239

Run/Crank Ignition 1 Voltage

37

--

--

Not Used

37

--

--

Not Used

38

0.35 GY/BK

900

Lane Departure Warning On Signal (UFL)

38

0.35 OG

900

Lane Departure Warning On Signal (UFL)

X325 Body Harness to Body Control Module Harness


Object Number: 655763  Size: CH

Object Number: 655824  Size: CH

Connector Part Information

  • OEM: 15326416
  • Service: 15326416
  • Description: 30-Way F GT 150/280 Series (BN)

Connector Part Information

  • OEM: 15317735
  • Service: See Catalog
  • Description: 30-Way M GT 150/280 Series (BK)

Terminal Part Information

  • Pins: A11
  • Terminal/Tray: 12191812/19
  • Core/Insulation Crimp: C/A
  • Pins: A1, A2, A4-A6, B1-B6, B10, B11, A10, A13-A15, B14, B15
  • Core/Insulation Crimp: E/C
  • Release Tool/Test Probe: 15315247/J-35616-2A (GY)
  • Pins: A7-A9, B7-B9
  • Terminal/Tray: 15304711/8
  • Core/Insulation Crimp: E/A
  • Release Tool/Test Probe: 15315247/J-35616-4A (PU)

Terminal Part Information

  • Pins: A11
  • Terminal/Tray: 15304702/19
  • Core/Insulation Crimp: 2/4
  • Pins: B3, A13
  • Core/Insulation Crimp: E/4
  • Pins: A1, A2, A4-A6, B1, B2, B4-B6, B10, B11, A10, A14, A15, B14, B15
  • Core/Insulation Crimp: E/C
  • Release Tool/Test Probe: 15315247/J-35616-3 (GY)
  • Pins: A7-A9, B7-B9
  • Terminal/Tray: 15304722/8
  • Core/Insulation Crimp: E/C
  • Release Tool/Test Probe: 15315247/J-35616-5 (PU)

X325 Body Harness to Body Control Module Harness

Pin

Wire

Circuit

Function

Pin

Wire

Circuit

Function

A1

0.35 PU

544

DRL Relay Control

A1

0.35 PU

544

DRL Relay Control

A2

0.35 L-GN/BN

5486

Run Relay Coil Control

A2

0.35 L-GN

5486

Run Relay Coil Control

A3

--

--

Not Used

A3

--

--

Not Used

A4

0.35 PK

1439

Run/Crank Ignition 1 Voltage

A4

0.35 PK

1439

Run/Crank Ignition 1 Voltage

A5

0.35 PU/WH

5075

Current Sensor Signal

A5

0.35 PU/WH

5075

Current Sensor Signal

A6

0.35 PK/D-BU

5076

Current Sensor Supply Voltage

A6

0.35 PK

5076

Current Sensor Supply Voltage

A7

0.35 BN/OG

5077

Current Sensor Low Reference

A7

0.35 BN

5077

Current Sensor Low Reference

A8

0.35 BK

50

Ground

A8

0.35 BK

50

Ground

A9

0.35 TN/OG

3640

Battery Positive Voltage

A9

0.35 TN/OG

3640

Battery Positive Voltage

A10

0.35 TN

28

Horn Relay Control

A10

0.35 TN

28

Horn Relay Control

A11

0.8 TN/PK

5040

Battery Positive Voltage

A11

0.8 TN/PK

5040

Battery Positive Voltage

A12

--

--

Not Used

A12

--

--

Not Used

A13

0.5 L-BU/WH

1134

Park Brake Switch Signal

A13

0.5 L-BU/WH

1134

Park Brake Switch Signal

A14

0.35 D-GN

5060

Low Speed GMLAN Serial Data

A14

0.35 D-GN

5060

Low Speed GMLAN Serial Data

A15

0.35 D-BU

45

Park Lamp Relay Control

A15

0.35 D-BU

45

Park Lamp Relay Control

B1

0.35 TN/YE

481

Rain Sense Signal (CE1)

B1

0.35 TN/YE

481

Rain Sense Signal

B2

0.35 L-GN

482

Rain Sense Signal (CE1)

B2

0.35 L-GN

482

Rain Sense Signal

B3

0.35 OG/GY

227

Windshield Washer Pump Low Reference

B3

0.35 OG/GY

227

Windshield Washer Pump Low Reference

B4

0.35 GY

91

Windshield Wiper Motor Relay Coil Supply Voltage

B4

0.35 GY

91

Windshield Wiper Motor Relay Coil Supply Voltage

B5

0.35 TN/D-GN

860

Front Windshield Wiper Switch High Signal

B5

0.35 TN

860

Front Windshield Wiper Switch High Signal

B6

1 YE/PU

196

Windshield Wiper Motor Park Switch Signal

B6

1 YE

196

Windshield Wiper Motor Park Switch Signal

B7

0.35 D-BU/WH

5985

Accessory Wakeup Serial Data

B7

0.35 D-BU/WH

5985

Accessory Wakeup Serial Data

B8

0.35 YE

1491

Backlight Lamp Control

B8

0.35 YE

1491

Backlight Lamp Control

B9

0.35 BK/TN

707

RAP Relay Coil Supply Voltage

B9

0.35 BK/TN

707

RAP Relay Coil Supply Voltage

B10

0.35 D-GN/WH

1317

Fog Lamp Relay Control (T96)

B10

0.35 D-GN/WH

1317

Fog Lamp Relay Control

B11

0.35 BN

6560

Left Cornering Lamp Relay Control (TUH)

B11

0.35 BN

6560

Left Cornering Lamp Relay Control (TUH)

B12

0.35 PU/WH

1382

Instrument Panel Lamps Dimming Signal

B12

0.35 PU/WH

1382

Instrument Panel Lamps Dimming Signal

B13

--

--

Not Used

B13

--

--

Not Used

B14

0.35 TN/WH

1969

Headlamp High Beam Relay Control

B14

0.35 TN/WH

1969

Headlamp High Beam Relay Control

B15

0.35 PK/WH

1970

Headlamp Low Beam Relay Control

B15

0.35 PK/WH

1970

Headlamp Low Beam Relay Control

X326 Body Harness to Body Control Module Harness


Object Number: 655763  Size: CH

Object Number: 655824  Size: CH

Connector Part Information

  • OEM: 15304908
  • Service: 15304908
  • Description: 30-Way F GT 150/280 Series (BK)

Connector Part Information

  • OEM: 15326762
  • Service: 15326762
  • Description: 30-Way M GT 150/280 Series (BK)

Terminal Part Information

  • Pins: A2, A3, A12
  • Terminal/Tray: 12191812/19
  • Core/Insulation Crimp: C/A
  • Pins: A1, A5, A6, B1-B5, B10-B12, A10, A11, A13-A15, B13
  • Core/Insulation Crimp: E/C
  • Release Tool/Test Probe: 15315247/J-35616-2A (GY)
  • Pins: A9
  • Terminal/Tray: 15304711/8
  • Core/Insulation Crimp: 2/A
  • Pins: A7, A8, B7, B9
  • Core/Insulation Crimp: E/A
  • Release Tool/Test Probe: 15315247/J-35616-4A (PU)

Terminal Part Information

  • Pins: A2, A3, A5, A10, A12, A13, A15
  • Terminal/Tray: 15304702/19
  • Core/Insulation Crimp: 2/4
  • Pins: A6, A11
  • Core/Insulation Crimp: E/4
  • Pins: A1, B1-B4, B5, B10, B11, A14, B13
  • Core/Insulation Crimp: E/C
  • Release Tool/Test Probe: 15315247/J-35616-3 (GY)
  • Pins: B9
  • Terminal/Tray: 15304722/8
  • Core/Insulation Crimp: E/C
  • Release Tool/Test Probe: 15315247/J-35616-5 (PU)
  • Pins: A7, A8, B7, A9
  • Terminal/Tray: 15304724/8
  • Core/Insulation Crimp: 2/A
  • Release Tool/Test Probe: 15315247/J-35616-5 (PU)
  • Pins: B12
  • Terminal/Tray: See Terminal Repair Kit
  • Core/Insulation Crimp: See Terminal Repair Kit
  • Release Tool/Test Probe: See Terminal Repair Kit

X326 Body Harness to Body Control Module Harness

Pin

Wire

Circuit

Function

Pin

Wire

Circuit

Function

A1

0.35 D-BU

6561

Right Cornering Lamp Relay Control (TUH)

A1

0.35 D-BU

6561

Right Cornering Lamp Relay Control (TUH)

A2

0.8 RD/YE

340

Battery Positive Voltage

A2

0.8 RD/YE

340

Battery Positive Voltage

A3

0.8 RD/GN

440

Battery Positive Voltage

A3

0.8 RD/GN

440

Battery Positive Voltage

A4

--

--

Not Used

A4

--

--

Not Used

A5

0.5 YE

18

Left Rear Stop/Turn Lamp Supply Voltage

A5

0.8 YE

18

Left Rear Stop/Turn Lamp Supply Voltage

A6

0.35 PU

169

Power Window Master Switch Left Rear Down Signal

A6

0.35 PU

169

Power Window Master Switch Left Rear Down Signal

A7

0.5 D-GN

19

Right Rear Stop/Turn Lamp Supply Voltage

A7

0.8 D-GN

19

Right Rear Stop/Turn Lamp Supply Voltage

A8

0.35 D-BU/WH

1315

Right Front Turn Signal Lamp Supply Voltage

A8

0.35 D-BU/WH

1315

Right Front Turn Signal Lamp Supply Voltage

0.35 D-BU/WH

1315

Right Front Turn Signal Lamp Supply Voltage

A9

0.8 RD/WH

1240

Battery Positive Voltage

A9

0.8 RD/WH

1240

Battery Positive Voltage

A10

0.5 L-BU

1320

CHMSL Supply Voltage

A10

0.5 L-BU

1320

CHMSL Supply Voltage

A11

0.5 WH

17

Stop Lamp Switch Signal

A11

0.5 WH

17

Stop Lamp Switch Signal

A12

0.8 L-GN

24

Backup Lamp Supply Voltage

A12

0.8 L-GN

24

Backup Lamp Supply Voltage

A13

0.5 GY/BK

690

Courtesy Lamp Relay Control

A13

0.8 GY/BK

690

Courtesy Lamp Relay Control

A14

0.35 D-GN/L-BU

170

Power Window Master Switch Right Rear Up Signal

A14

0.35 D-GN/L-BU

170

Power Window Master Switch Right Rear Up Signal

A15

0.8 GY

8

Instrument Panel Lamp Supply Voltage

A15

0.8 GY

8

Instrument Panel Lamp Supply Voltage

B1

0.35 L-BU/BK

6692

Left Rear Door Lock Motor Unlock Control

B1

0.35 L-BU/BK

6692

Left Rear Door Lock Motor Unlock Control

B2

0.35 L-BU/WH

6693

Right Rear Door Lock Motor Unlock Control

B2

0.35 L-BU/WH

6693

Right Rear Door Lock Motor Unlock Control

B3

0.35 D-BU/WH

1179

Left Rear Door Open Switch Signal

B3

0.35 D-BU/WH

1179

Left Rear Door Open Switch Signal

B4

0.35 L-BU/BK

747

Left Rear Door Ajar Switch Signal

B4

0.35 BK

747

Left Rear Door Ajar Switch Signal

B5

0.35 L-GN/BK

748

Right Rear Door Ajar Switch Signal

B5

0.35 L-GN/BK

748

Right Rear Door Ajar Switch Signal

B6

--

--

Not Used

B6

--

--

Not Used

B7

0.5 L-BU/WH

1314

Left Front Turn Signal Lamp Supply Voltage

B7

0.8 L-BU/WH

1314

Left Front Turn Signal Lamp Supply Voltage

0.5 L-BU/WH

1314

Left Front Turn Signal Lamp Supply Voltage

B8

0.35 PU/YE

171

Power Window Master Switch Right Rear Down Signal

B8

0.35 PU/YE

171

Power Window Master Switch Right Rear Down Signal

B9

0.35 D-GN/RD

168

Power Window Master Switch Left Rear Up Signal

B9

0.35 D-GN/RD

168

Power Window Master Switch Left Rear Up Signal

B10

0.35 PK/BK

109

Hood Ajar Switch Signal

B10

0.35 PK/BK

109

Hood Ajar Switch Signal

B11

0.35 PU/OG

5531

Hood Closed Switch Signal

B11

0.35 PU/OG

5531

Hood Closed Switch Signal

B12

0.35 L-BU

1344

Trunk Release Relay Control

B12

0.35 TN/WH

1344

Trunk Release Relay Control

B13

0.35 OG/GY

744

Trunk Ajar Switch Signal

B13

0.35 OG/GY

744

Trunk Ajar Switch Signal

B14

0.35 D-BU/PK

1307

Power Window Master Switch Lockout Signal

B14

0.35 D-BU

1307

Power Window Master Switch Lockout Signal

B15

0.35 L-GN/GY

280

Power Window Master Switch Lockout Right Rear Signal

B15

0.35 L-GN/GY

280

Power Window Master Switch Lockout Right Rear Signal

X335 Negative Battery Cable Harness to Body Harness


Object Number: 439818  Size: CH

Object Number: 611495  Size: CH

Connector Part Information

  • OEM: 12047682
  • Service: 12101850
  • Description: 1-Way F Metri-Pack Series (BK)

Connector Part Information

  • OEM: 12047683
  • Service: 12101828
  • Description: 1-Way M Metri-Pack 150 Series (BK)

Terminal Part Information

  • Terminal/Tray: See Terminal Repair Kit
  • Core/Insulation Crimp: See Terminal Repair Kit
  • Release Tool/Test Probe: See Terminal Repair Kit

Terminal Part Information

  • Terminal/Tray: 12047581/2
  • Core/Insulation Crimp: E/C
  • Release Tool/Test Probe: 12094429/J-35616-3 (GY)

X335 Negative Battery Cable Harness to Body Harness

Pin

Wire

Circuit

Function

Pin

Wire

Circuit

Function

A

0.8 BK

50

Ground

A

0.35 BK

50

Ground

X340 Console Harness to Body Harness (A51)


Object Number: 802513  Size: CH

Object Number: 1707521  Size: CH

Connector Part Information

  • OEM: 15332169
  • Service: 88986447
  • Description: 14-Way F GT 150 Series (BK)

Connector Part Information

  • OEM: 15332174
  • Service: 88986449
  • Description: 14-Way M GT 150 Series (BK)

Terminal Part Information

  • Pins: C, F
  • Terminal/Tray: 12191812/19
  • Core/Insulation Crimp: C/A
  • Pins: A, B, E, G, H, K, L, P
  • Core/Insulation Crimp: E/C
  • Release Tool/Test Probe: 15315247/J-35616-2A (GY)

Terminal Part Information

  • Pins: C, F
  • Terminal/Tray: 15304702/19
  • Core/Insulation Crimp: 2/4
  • Pins: A, B, E, G, H, K, L, P
  • Core/Insulation Crimp: E/C
  • Release Tool/Test Probe: 15315247/J-35616-3 (GY)

X340 Console Harness to Body Harness (A51)

Pin

Wire

Circuit

Function

Pin

Wire

Circuit

Function

A

0.35 BN

741

Ignition 3 Voltage

A

0.35 BN

741

Ignition 3 Voltage

B

0.35 BN/WH

1571

Traction Control Switch Signal (2)

B

0.35 BN/WH

1571

Traction Control Switch Signal (2)

C

1 BK

450

Ground

C

1 BK

450

Ground

D

--

--

Not Used

D

--

--

Not Used

E

0.35 L-GN

1652

Reverse Lockout Solenoid Control

E

0.35 L-GN

1652

Reverse Lockout Solenoid Control

F

0.8 RD/WH

1740

Battery Positive Voltage

F

0.8 RD/WH

1740

Battery Positive Voltage

G

0.35 GY

8

Instrument Panel Lamp Supply Voltage

G

0.35 GY

8

Instrument Panel Lamp Supply Voltage

H

0.35 PU/WH

5905

Ignition Lock Cylinder Solenoid Control

H

0.35 PU/WH

5905

Ignition Lock Cylinder Solenoid Control

J

--

--

Not Used

J

--

--

Not Used

K

0.35 BK

450

Ground

K

0.5 BK

450

Ground

L

0.35 YE/BN

143

Accessory Voltage

L

0.35 YE/BN

143

Accessory Voltage

M-N

--

--

Not Used

M-N

--

--

Not Used

P

0.35 PU

6027

Brake Transmission Shift Interlock Solenoid Control

P

0.35 PU

6027

Brake Transmission Shift Interlock Solenoid Control

X350 Right Front Seat Back to Recline Motor (AH8)


Object Number: 153645  Size: CH

Object Number: 258179  Size: CH

Connector Part Information

  • OEM: 12129081
  • Service: 12129081
  • Description: 2-Way F Metri-Pack 280 Series Flexlock (BK)

Connector Part Information

  • OEM: 12129155
  • Service: 12129155
  • Description: 2-Way M Metri-Pack 280 Series Flexlock (BK)

Terminal Part Information

  • Terminal/Tray: 12110842/4
  • Core/Insulation Crimp: A/B
  • Release Tool/Test Probe: 15315247/J-35616-4A (PU)

Terminal Part Information

  • Terminal/Tray: See Terminal Repair Kit
  • Core/Insulation Crimp: See Terminal Repair Kit
  • Release Tool/Test Probe: See Terminal Repair Kit

X350 Right Front Seat Back to Recline Motor (AH8)

Pin

Wire

Circuit

Function

Pin

Wire

Circuit

Function

A

2 D-GN/PK

76

Passenger Seat Recline Motor Forward

A

2 BK

76

Passenger Seat Recline Motor Forward

B

2 D-BU/RD

77

Passenger Seat Recline Motor Rearward

B

2 D-BU

77

Passenger Seat Recline Motor Rearward

X351 Left Front Seat Back to Recline Motor (AE8/A45)


Object Number: 153645  Size: CH

Object Number: 258179  Size: CH

Connector Part Information

  • OEM: 12129081
  • Service: 12129081
  • Description: 2-Way F Metri-Pack 280 Series Flexlock (BK)

Connector Part Information

  • OEM: 12129155
  • Service: 12129155
  • Description: 2-Way M Metri-Pack 280 Series Flexlock (BK)

Terminal Part Information

  • Terminal/Tray: 12110842/4
  • Core/Insulation Crimp: A/B
  • Release Tool/Test Probe: 15315247/J-35616-4A (PU)

Terminal Part Information

  • Terminal/Tray: See Terminal Repair Kit
  • Core/Insulation Crimp: See Terminal Repair Kit
  • Release Tool/Test Probe: See Terminal Repair Kit

X351 Left Front Seat Back to Recline Motor (AE8/A45)

Pin

Wire

Circuit

Function

Pin

Wire

Circuit

Function

A

1 YE

1257

Driver Power Seat Recline Motor Forward Control

A

1 BK

1257

Driver Power Seat Recline Motor Forward Control

B

1 L-BU

277

Driver Power Seat Recline Motor Rearward Switch Signal

B

1 D-BU

277

Driver Power Seat Recline Motor Rearward Switch Signal

X352 Left Front Seat Back to Recline Motor (AH8)


Object Number: 153645  Size: CH

Object Number: 258179  Size: CH

Connector Part Information

  • OEM: 12129081
  • Service: 12129081
  • Description: 2-Way F Metri-Pack 280 Series Flexlock (BK)

Connector Part Information

  • OEM: 12129155
  • Service: 12129155
  • Description: 2-Way M Metri-Pack 280 Series Flexlock (BK)

Terminal Part Information

  • Terminal/Tray: 12110842/4
  • Core/Insulation Crimp: A/B
  • Release Tool/Test Probe: 15315247/J-35616-4A (PU)

Terminal Part Information

  • Terminal/Tray: See Terminal Repair Kit
  • Core/Insulation Crimp: See Terminal Repair Kit
  • Release Tool/Test Probe: See Terminal Repair Kit

X352 Left Front Seat Back to Recline Motor (AH8)

Pin

Wire

Circuit

Function

Pin

Wire

Circuit

Function

A

0.35 L-GN

276

Driver Power Seat Recline Motor Forward Control

A

0.35 BK

276

Driver Seat Recline Motor Forward Switch Signal

B

0.35 L-BU

277

Driver Power Seat Recline Motor Rearward Switch Signal

B

0.35 L-BU

277

Driver Seat Recline Motor Rearward Switch Signal

X354 Front Passenger Seat to Lumbar Motor (AE8)


Object Number: 39667  Size: CH

Object Number: 130711  Size: CH

Connector Part Information

  • OEM: 12129136
  • Service: 12129136
  • Description: 4-Way F Metri-Pack 280 Series Flexlock (BK)

Connector Part Information

  • OEM: 12129135
  • Service: 12129135
  • Description: 4-Way M Metri-Pack 280 Series Flexlock (BK)

Terminal Part Information

  • Terminal/Tray: 12110844/4
  • Core/Insulation Crimp: C/A
  • Release Tool/Test Probe: 15315247/J-35616-4A (PU)

Terminal Part Information

  • Terminal/Tray: 12034047/2
  • Core/Insulation Crimp: C/D
  • Release Tool/Test Probe: 12094430/J-35616-5 (PU)

X354 Front Passenger Seat to Lumbar Motor (AE8)

Pin

Wire

Circuit

Function

Pin

Wire

Circuit

Function

A

0.35 PK

7057

Passenger Seat Lumbar Motor Up Control

A

0.35 L-GN

7057

Passenger Seat Lumbar Motor Up Control

B

0.35 OG/PU

7056

Passenger Seat Lumbar Motor Down Control

B

0.35 PU

7056

Passenger Seat Lumbar Motor Down Control

C

0.35 WH

210

Passenger Seat Lumbar Motor Rearward Control

C

0.35 D-BU

210

Passenger Seat Lumbar Motor Rearward Control

D

0.35 D-BU

211

Passenger Seat Lumbar Motor Forward Control

D

0.35 PK

211

Passenger Seat Lumbar Motor Forward Control

X397 Sunroof Harness to Body Harness (CF5)


Object Number: 1483285  Size: CH

Object Number: 1420582  Size: CH

Connector Part Information

  • OEM: 7283-5628-40
  • Service: See Catalog
  • Description: 3-Way F YESC/USCAR Class III Series (L-GY)

Connector Part Information

  • OEM: 7282-5628-40
  • Service: 88988385
  • Description: 3-Way M YESC/USCAR Class III Series (L-GY)

Terminal Part Information

  • Terminal/Tray: See Terminal Repair Kit
  • Core/Insulation Crimp: See Terminal Repair Kit
  • Release Tool/Test Probe: See Terminal Repair Kit

Terminal Part Information

  • Terminal/Tray: 7114-4121-02/9
  • Core/Insulation Crimp: C/B
  • Release Tool/Test Probe: 12094430/J-35616-43 (RD)

X397 Sunroof Harness to Body Harness (CF5)

Pin

Wire

Circuit

Function

Pin

Wire

Circuit

Function

1

3 BK

1050

Ground (CF5)

1

2 BK

1050

Ground (CF5)

2

0.35 TN

643

Accessory Voltage

2

0.35 YE

643

Accessory Voltage

3

3 TN/GY

4440

Battery Positive Voltage (CF5)

3

2 TN/GY

4440

Battery Positive Voltage (CF5)

X399 Sunroof Harness to Headliner Harness (CF5)


Object Number: 825441  Size: CH

Object Number: 802496  Size: CH

Connector Part Information

  • OEM: 7283-5533-40
  • Service: See Catalog
  • Description: 10-Way F 1.5mm Unsealed Series (L-GY)

Connector Part Information

  • OEM: 7282-5533-40
  • Service: See Catalog
  • Description: 10-Way M 1.5mm Unsealed Series (L-GY)

Terminal Part Information

  • Terminal/Tray: See Terminal Repair Kit
  • Core/Insulation Crimp: See Terminal Repair Kit
  • Release Tool/Test Probe: See Terminal Repair Kit

Terminal Part Information

  • Terminal/Tray: 7114-4100-08/9
  • Core/Insulation Crimp: E/C
  • Release Tool/Test Probe: 15315247/J-35616-3 (GY)

X399 Sunroof Harness to Headliner Harness (CF5)

Pin

Wire

Circuit

Function

Pin

Wire

Circuit

Function

1

--

--

Not Used

1

--

--

Not Used

2

0.35 L-BU

5027

Sunroof Switch Close Signal

2

0.35 L-BU

5027

Sunroof Switch Close Signal

3

0.35 BN

5028

Sunroof Switch Express Signal

3

0.35 BN

5028

Sunroof Switch Express Signal

4

0.35 OG

5029

Sunroof Switch Open Signal

4

0.35 OG

5029

Sunroof Switch Open Signal

5

0.35 PK

5031

Sunroof Switch Vent Express Signal

5

0.35 PK

5031

Sunroof Switch Vent Express Signal

6

0.35 PU

5032

Sunroof Switch Open Vent Signal

6

0.35 PU

5032

Sunroof Switch Open Vent Signal

7

0.35 L-GN

5030

Sunroof Switch Close Vent Signal

7

0.35 TN

5030

Sunroof Switch Close Vent Signal

8

0.35 WH/RD

944

Not Used

8

--

--

Not Used

9

0.35 WH/BU

1050

Not Used

9

--

--

Not Used

10

0.35 WH/GN

944

Not Used

10

--

--

Not Used

X445 Rear Shelf Harness to Body Harness


Object Number: 808699  Size: CH

Object Number: 655857  Size: CH

Connector Part Information

  • OEM: 15304692
  • Service: 15304692
  • Description: 18-Way F GT 150/280 Series (BK)

Connector Part Information

  • OEM: 15336468
  • Service: 15336468
  • Description: 18-Way M GT 150/280 Series (BK)

Terminal Part Information

  • Pins: A1-A3, A7, B1
  • Terminal/Tray: 12191812/19
  • Core/Insulation Crimp: E/C
  • Release Tool/Test Probe: 15315247/J-35616-2A (GY)
  • Pins: A5, A6
  • Terminal/Tray: 15304711/8
  • Core/Insulation Crimp: 2/A
  • Pins: A4, B4
  • Core/Insulation Crimp: E/A
  • Release Tool/Test Probe: 15315247/J-35616-4A (PU)

Terminal Part Information

  • Pins: A3, A7
  • Terminal/Tray: 15304702/19
  • Core/Insulation Crimp: E/4
  • Pins: A1, A2, B1
  • Core/Insulation Crimp: E/C
  • Release Tool/Test Probe: 15315247/J-35616-3 (GY)
  • Pins: A4
  • Terminal/Tray: 15304722/8
  • Core/Insulation Crimp: E/C
  • Release Tool/Test Probe: 15315247/J-35616-5 (PU)
  • Pins: B4
  • Core/Insulation Crimp: See Terminal Repair Kit
  • Release Tool/Test Probe: 15315247/J-35616-5 (PU)

X445 Rear Shelf Harness to Body Harness

Pin

Wire

Circuit

Function

Pin

Wire

Circuit

Function

A1

0.8 YE

116

Left Rear Midrange Speaker (-) (UQ3)

A1

0.8 YE

116

Left Rear Midrange Speaker (-) (UQ3)

0.8 D-BU

5761

Left Rear Speaker (+) (UQA)

0.8 D-BU

5761

Left Rear Speaker (+) (UQA)

A2

0.8 BN

199

Left Rear Midrange Speaker (+) (UQ3)

A2

0.8 BN

199

Left Rear Midrange Speaker (+) (UQ3)

0.8 D-BU/WH

5771

Left Rear Speaker Signal (-) (UQA)

0.8 D-BU/WH

5771

Left Rear Speaker Signal (-) (UQA)

A3

0.5 OG/BK

737

Trunk Lamp Control

A3

0.5 OG/BK

737

Trunk Lamp Control

A4

0.5 BK

750

Ground

A4

0.5 BK

750

Ground

A5-A6

--

--

Not Used

A5-A6

--

--

Not Used

A7

0.5 OG

1732

Electronic Control Unit 12-Volt Reference

A7

0.5 OG

1732

Electronic Control Unit 12-Volt Reference

A8

0.8 L-BU

115

Right Rear Midrange Speaker (-) (UQ3)

A8

0.8 L-BU

115

Right Rear Midrange Speaker (-) (UQ3)

0.8 L-BU/BK

5772

Right Rear Speaker Signal (-) (UQA)

0.8 L-BU/BK

5772

Right Rear Speaker Signal (-) (UQA)

A9

0.8 D-BU

46

Right Rear Midrange Speaker (+) (UQ3)

A9

0.8 D-BU

46

Right Rear Midrange Speaker (+) (UQ3)

0.8 L-BU

5762

Right Rear Speaker (+) (UQA)

0.8 L-BU

5762

Right Rear Speaker (+) (UQA)

B1

0.35 RD/D-GN

1040

Battery Positive Voltage

B1

0.35 RD/D-GN

1040

Battery Positive Voltage

B2-B3

--

--

Not Used

B2-B3

--

--

Not Used

B4

0.35 D-GN

5060

Low Speed GMLAN Serial Data

B4

0.35 D-GN

5060

Low Speed GMLAN Serial Data

B5-B9

--

--

Not Used

B5-B9

--

--

Not Used

X494 Rear Fascia Harness to Body Harness (UD7)


Object Number: 888606  Size: CH

Object Number: 823302  Size: CH

Connector Part Information

  • OEM: 7283-5946-30
  • Service: 88988239
  • Description: 10-Way F YESC 1.5 Series, Sealed (BK)

Connector Part Information

  • OEM: 7282-5946-30
  • Service: 88952440
  • Description: 10-Way M 1.5 Series Yesc, Sealed (BK)

Terminal Part Information

  • Terminal/Tray: 7116-4102-08/9
  • Core/Insulation Crimp: E/1
  • Release Tool/Test Probe: 12094430/J-35616-2A (GY)

Terminal Part Information

  • Terminal/Tray: 7114-4102-08/9
  • Core/Insulation Crimp: E/1
  • Release Tool/Test Probe: 12094430/J-35616-3 (GY)

X494 Rear Fascia Harness to Body Harness (UD7)

Pin

Wire

Circuit

Function

Pin

Wire

Circuit

Function

1

0.35 YE

2375

Left Rear Corner Object Sensor Signal

1

0.35 YE

2375

Left Rear Corner Object Sensor Signal

2

0.35 OG

2376

Left Rear Middle Object Sensor Signal

2

0.35 OG

2376

Left Rear Middle Object Sensor Signal

3

0.35 D-GN

2377

Right Rear Middle Object Sensor Signal

3

0.35 D-GN

2377

Right Rear Middle Object Sensor Signal

4

0.35 PU

2378

Right Rear Corner Object Sensor Signal

4

0.35 PU

2378

Right Rear Corner Object Sensor Signal

5

0.35 D-BU

2374

Object Sensor Supply Voltage

5

0.35 D-BU

2374

Object Sensor Supply Voltage

6

0.35 GY

2379

Object Sensor Low Reference

6

0.35 GY

2379

Object Sensor Low Reference

7

0.35 RD/WH

4540

Battery Positive Voltage (UFT)

7

0.35 RD/WH

4540

Battery Positive Voltage (UFT)

8

0.35 D-GN

5060

Low Speed GMLAN Serial Data (UFT)

8

0.35 D-GN

5060

Low Speed GMLAN Serial Data (UFT)

9

0.35 BK

1050

Ground

9

0.5 BK

1050

Ground

10

0.35 BN/WH

309

Right Park Lamp Supply Voltage

10

0.35 BN/WH

309

Right Park Lamp Supply Voltage

X495 Rear Fascia Harness to Body Harness (without UD7)


Object Number: 888601  Size: CH

Object Number: 897985  Size: CH

Connector Part Information

  • OEM: 7283-5548-30
  • Service: 88953306
  • Description: 2-Way F YESC USCAR Class III Series (BK)

Connector Part Information

  • OEM: 7282-5548-30
  • Service: 88953303
  • Description: 2-Way M YESC USCAR Class III Series (BK)

Terminal Part Information

  • Terminal/Tray: 7116-4102-08/9
  • Core/Insulation Crimp: E/1
  • Release Tool/Test Probe: 12094430/J-35616-2A (GY)

Terminal Part Information

  • Terminal/Tray: 7114-4102-08/9
  • Core/Insulation Crimp: E/1
  • Release Tool/Test Probe: 12094430/J-35616-3 (GY)

X495 Rear Fascia Harness to Body Harness (without UD7)

Pin

Wire

Circuit

Function

Pin

Wire

Circuit

Function

1

0.35 BN/WH

309

Right Park Lamp Supply Voltage

1

0.35 BN/WH

309

Right Park Lamp Supply Voltage

2

0.35 BK

1050

Ground

2

0.5 BK

1050

Ground

X497 Center High Mounted Stop Lamp Harness to Body Harness


Object Number: 40422  Size: CH

Object Number: 40425  Size: CH

Connector Part Information

  • OEM: 12064762
  • Service: 12125665
  • Description: 6-Way F Metri-Pack 150 Series (L-GY)

Connector Part Information

  • OEM: 12064763
  • Service: 12101876
  • Description: 6-Way M Metri-Pack 150 Series (GY)

Terminal Part Information

  • Terminal/Tray: See Terminal Repair Kit
  • Core/Insulation Crimp: See Terminal Repair Kit
  • Release Tool/Test Probe: See Terminal Repair Kit

Terminal Part Information

  • Terminal/Tray: See Terminal Repair Kit
  • Core/Insulation Crimp: See Terminal Repair Kit
  • Release Tool/Test Probe: See Terminal Repair Kit

X497 Center High Mounted Stop Lamp Harness to Body Harness

Pin

Wire

Circuit

Function

Pin

Wire

Circuit

Function

A

0.35 GY/BK

7035

Rear Parking Aid Voltage Supply (UD7)

A

0.35 GY/BK

7035

Rear Parking Aid Voltage Supply (UD7)

B

0.35 YE/BK

7036

Rear Parking Aid Yellow LED 1 (UD7)

B

0.35 YE/BK

7036

Rear Parking Aid Yellow LED 1 (UD7)

C

0.35 YE/WH

7037

Rear Parking Aid Yellow LED 2 (UD7)

C

0.35 YE/WH

7037

Rear Parking Aid Yellow LED 2 (UD7)

D

0.35 TN/WH

7038

Rear Parking Aid Red LED (UD7)

D

0.35 TN/WH

7038

Rear Parking Aid Red LED (UD7)

E

0.5 L-BU

1320

CHMSL Supply Voltage

E

0.5 L-BU

1320

CHMSL Supply Voltage

F

0.5 BK

750

Ground

F

0.5 BK

750

Ground

X498 Body Harness to Left Tail Lamp Assembly Harness


Object Number: 1787798  Size: CH

Object Number: 1787797  Size: CH

Connector Part Information

  • OEM: 7283-6449-40
  • Service: See Catalog
  • Description: 4-Way F (GY)

Connector Part Information

  • OEM: 7282-6449-40
  • Service: See Catalog
  • Description: 4-Way M (GY)

Terminal Part Information

  • Terminal: See Terminal Repair Kit
  • Core/Insulation Crimp: See Terminal Repair Kit
  • Release Tool/Test Probe: See Terminal Repair Kit

Terminal Part Information

  • Terminal: See Terminal Repair Kit
  • Core/Insulation Crimp: See Terminal Repair Kit
  • Release Tool/Test Probe: See Terminal Repair Kit

X498 Body Harness to Left Tail Lamp Assembly Harness

Pin

Wire

Circuit

Function

Pin

Wire

Circuit

Function

1

0.5 YE

18

Left Rear Stop/Turn Lamp Supply Voltage

1

0.5 YE

18

Left Rear Stop/Turn Lamp Supply Voltage

2

0.5 BN

709

Left Park Lamp Supply Voltage

2

0.5 PU

709

Left Park Lamp Supply Voltage

3

0.5 BK

850

Ground

3

0.5 BK

850

Ground

4

--

--

Not Used

4

0.5 D-GN

19

Trailer Stop/Turn Supply Voltage

X499 Body Harness to Right Tail Lamp Assembly Harness


Object Number: 1787798  Size: CH

Object Number: 1787797  Size: CH

Connector Part Information

  • OEM: 7283-6449-40
  • Service: See Catalog
  • Description: 4-Way F (GY)

Connector Part Information

  • OEM: 7282-6449-40
  • Service: See Catalog
  • Description: 4-Way M (GY)

Terminal Part Information

  • Terminal: See Terminal Repair Kit
  • Core/Insulation Crimp: See Terminal Repair Kit
  • Release Tool/Test Probe: See Terminal Repair Kit

Terminal Part Information

  • Terminal: See Terminal Repair Kit
  • Core/Insulation Crimp: See Terminal Repair Kit
  • Release Tool/Test Probe: See Terminal Repair Kit

X499 Body Harness to Right Tail Lamp Assembly Harness

Pin

Wire

Circuit

Function

Pin

Wire

Circuit

Function

1

0.5 YE

19

Right Rear Stop/Turn Lamp Supply Voltage

1

0.5 D-GN

19

Right Rear Stop/Turn Lamp Supply Voltage

2

0.5 BN

309

Right Park Lamp Supply Voltage

2

0.5 BN/WH

309

Right Park Lamp Supply Voltage

3

0.5 BK

1050

Ground

3

0.5 BK

1050

Ground

4

--

--

Not Used

4

--

--

Not Used

X500 Body Harness to Left Front Door Harness


Object Number: 1625678  Size: CH

Object Number: 1707515  Size: CH

Connector Part Information

  • OEM: 15336212
  • Service: 22715954
  • Description: 14-Way F GT 150 280 Series (BK)

Connector Part Information

  • OEM: 13524531
  • Service: See Catalog
  • Description: 14-Way M GT 150/280 Series (GY)

Terminal Part Information

  • Pins: K, L
  • Terminal/Tray: 12191812/19
  • Core/Insulation Crimp: C/A
  • Pins: B, J, M, N
  • Core/Insulation Crimp: E/C
  • Release Tool/Test Probe: 15315247/J-35616-2A (GY)
  • Pins: H, P
  • Terminal/Tray: 15304711/8
  • Core/Insulation Crimp: E/A
  • Release Tool/Test Probe: 15315247/J-35616-4A (PU)
  • Pins: A, G
  • Terminal/Tray: 15304713/19
  • Core/Insulation Crimp: 4/4
  • Release Tool/Test Probe: 15315247/J-35616-4A (PU)

Terminal Part Information

  • Pins: A, B, G-N, P
  • Terminal/Tray: See Terminal Repair Kit
  • Core/Insulation Crimp: See Terminal Repair Kit
  • Release Tool/Test Probe: See Terminal Repair Kit

X500 Body Harness to Left Front Door Harness

Pin

Wire

Circuit

Function

Pin

Wire

Circuit

Function

A

2 RD/WH

140

Battery Positive Voltage

A

2 RD/WH

140

Battery Positive Voltage

B

0.5 PK/PU

2940

Battery Positive Voltage

B

0.5 PK/PU

2940

Battery Positive Voltage

C-F

--

--

Not Used

C-F

--

--

Not Used

G

2 BK

350

Ground

G

2 BK

350

Ground

H

0.35 D-GN

5060

Low Speed GMLAN Serial Data

H

0.35 D-GN

5060

Low Speed GMLAN Serial Data

0.35 D-GN

5060

Low Speed GMLAN Serial Data

J

0.35 L-BU/WH

1314

Left Front Turn Signal Lamp Supply Voltage

J

0.35 L-BU/WH

1314

Left Front Turn Signal Lamp Supply Voltage

K

0.8 GY

118

Left Front Speaker Signal (-)

K

0.8 GY

118

Left Front Speaker Signal (-)

L

0.8 TN

201

Left Front Speaker (+)

L

0.8 TN

201

Left Front Speaker (+)

M

0.35 GY/BN

1690

Automatic Day/Night Mirror Signal

M

0.35 GY/BN

1690

Automatic Day/Night Mirror Signal

N

0.35 PK/BN

1691

Automatic Day/Night Mirror Low Reference

N

0.35 PK/BN

1691

Automatic Day/Night Mirror Low Reference

P

2 BK

350

Ground

P

2 BK

350

Ground

X501 Left Front Door Harness to Left Front Door Trim Harness


Object Number: 1716519  Size: CH

Object Number: 1716522  Size: CH

Connector Part Information

  • OEM: 7283-2784-30
  • Service: See Catalog
  • Description: 38-Way F YESC Kaizen Series, Unsealed (BK)

Connector Part Information

  • OEM: 7282-2784-30
  • Service: See Catalog
  • Description: 38-Way M YESC Kaizen Series, Unsealed (BK)

Terminal Part Information

  • Pins: 6, 4, 8, 10
  • Terminal/Tray: 7116-4110-02/9
  • Core/Insulation Crimp: E/C
  • Release Tool/Test Probe: 12094430/J-35616-4A (PU)
  • Pins: 13-20, 31, 33-38
  • Terminal/Tray: 7116-4618-02/14
  • Core/Insulation Crimp: P/P
  • Release Tool/Test Probe: J-38125-215/J-35616-64B (L-BU)

Terminal Part Information

  • Pins: 6, 4, 8, 10
  • Terminal/Tray: 7114-4110-02/9
  • Core/Insulation Crimp: E/C
  • Release Tool/Test Probe: 12094430/J-35616-5 (PU)
  • Pins: 13-20, 31, 33-38
  • Terminal/Tray: See Terminal Repair Kit
  • Core/Insulation Crimp: See Terminal Repair Kit
  • Release Tool/Test Probe: See Terminal Repair Kit

X501 Left Front Door Harness to Left Front Door Trim Harness

Pin

Wire

Circuit

Function

Pin

Wire

Circuit

Function

1-3

--

--

Not Used

1-3

--

--

Not Used

4

2 BK

350

Ground

4

2 BK

350

Ground

5

2 RD/WH

140

Battery Positive Voltage

5

2 RD/WH

140

Battery Positive Voltage

6

0.5 TN

694

Driver Door Lock Actuator Unlock Control

6

0.5 TN

694

Driver Door Lock Actuator Unlock Control

7

2 BK

350

Ground

7

2 BK

350

Ground

8

0.5 GY

295

Door Lock Actuator Lock Control

8

0.5 GY

295

Door Lock Actuator Lock Control

9

2 BN

165

Power Window Motor Left Front Down Control

9

2 BN

165

Power Window Motor Left Front Down Control

10

0.5 PK/PU

2940

Battery Positive Voltage

10

0.5 PK/PU

2940

Battery Positive Voltage

11

2 D-BU

164

Power Window Motor Left Front Up Control

11

2 D-BU

164

Power Window Motor Left Front Up Control

12

--

--

Not Used

12

--

--

Not Used

13

0.35 L-GN

262

Driver Door Key Switch Signal (UA6)

13

0.35 L-GN

262

Driver Door Key Switch Signal

14

0.35 BK/TN

126

Left Front Door Open Switch Signal

14

0.35 BK/TN

126

Left Front Door Open Switch Signal

15

0.35 GY/BK

745

Left Front Door Ajar Switch Signal

15

0.35 GY/BK

745

Left Front Door Ajar Switch Signal

16

0.35 BN/L-BU

5478

Mirror Switch Low Reference (A45)

16

0.35 BN/L-BU

5478

Mirror Switch Low Reference (A45)

17

0.35 TN/PK

606

Left Mirror Heating Element Supply Voltage (D25)

17

0.35 TN/PK

606

Left Mirror Heating Element Supply Voltage (D25)

18

0.35 WH

81

Left Mirror Motor Right Control

18

0.35 WH

81

Left Mirror Motor Right Control

19

0.35 TN/RD

329

Left Mirror Motor Supply Voltage

19

0.35 TN/RD

329

Left Mirror Motor Supply Voltage

20

0.35 GY/PU

786

Left Mirror Horizontal Position Sensor Signal (A45)

20

0.35 GY/PU

786

Left Mirror Horizontal Position Sensor Signal (A45)

21-24

--

--

Not Used

21-24

--

--

Not Used

25

0.35 PK

5853

LED Signal (UFT)

25

0.35 PK

5853

LED Signal (UFT)

26

0.35 PK/BK

5855

LED Control (UFT)

26

0.35 PK/BK

5855

LED Control (UFT)

27-30

--

--

Not Used

27-30

--

--

Not Used

31

0.35 D-GN

5060

Low Speed GMLAN Serial Data

31

0.35 D-GN

5060

Low Speed GMLAN Serial Data

32

--

--

Not Used

32

--

--

Not Used

33

0.35 BN/L-GN

673

Left Outside Rear View Mirror Position Sensor Low Reference (A45)

33

0.35 BN/L-GN

673

Left Outside Rear View Mirror Position Sensor Low Reference (A45)

34

0.35 D-GN/TN

784

Left Mirror Vertical Position Sensor Signal (A45)

34

0.35 D-GN/TN

784

Left Mirror Vertical Position Sensor Signal (A45)

35

0.35 D-BU

672

Left Outside Rear View Mirror Position Sensor 5-Volt Reference (A45)

35

0.35 D-BU

672

Left Outside Rear View Mirror Position Sensor 5-Volt Reference (A45)

36

0.35 L-GN

89

Left Mirror Motor Down Control

36

0.35 L-GN

89

Left Mirror Motor Down Control

37

0.35 GY/L-GN

627

Left Mirror Heating Element Low Reference (DR2/D25)

37

0.35 GY/L-GN

627

Left Mirror Heating Element Low Reference (DR2/D25)

38

0.35 BN

1183

Left Front Door Switch Low Reference

38

0.35 BN

1183

Left Front Door Switch Low Reference

X600 Body Harness to Right Front Door Harness


Object Number: 1625678  Size: CH

Object Number: 1707515  Size: CH

Connector Part Information

  • OEM: 15336212
  • Service: 22715954
  • Description: 14-Way F GT 150 280 Series (BK)

Connector Part Information

  • OEM: 13524531
  • Service: See Catalog
  • Description: 14-Way M GT 150/280 Series (GY)

Terminal Part Information

  • Pins: K, L
  • Terminal/Tray: 12191812/19
  • Core/Insulation Crimp: C/A
  • Pins: B, J
  • Core/Insulation Crimp: E/C
  • Release Tool/Test Probe: 15315247/J-35616-2A (GY)
  • Pins: H, P
  • Terminal/Tray: 15304711/8
  • Core/Insulation Crimp: E/A
  • Release Tool/Test Probe: 15315247/J-35616-4A (PU)
  • Pins: A, G
  • Terminal/Tray: 15304713/19
  • Core/Insulation Crimp: 4/4
  • Release Tool/Test Probe: 15315247/J-35616-4A (PU)

Terminal Part Information

  • Pins: A, B, G-L, P
  • Terminal/Tray: See Terminal Repair Kit
  • Core/Insulation Crimp: See Terminal Repair Kit
  • Release Tool/Test Probe: See Terminal Repair Kit

X600 Body Harness to Right Front Door Harness

Pin

Wire

Circuit

Function

Pin

Wire

Circuit

Function

A

2 RD/WH

140

Battery Positive Voltage

A

2 RD/WH

140

Battery Positive Voltage

B

0.5 TN/RD

3540

Battery Positive Voltage

B

0.5 TN/RD

3540

Battery Positive Voltage

C-F

--

--

Not Used

C-F

--

--

Not Used

G

2 BK

450

Ground

G

2 BK

450

Ground

H

0.35 D-GN

5060

Low Speed GMLAN Serial Data

H

0.35 D-GN

5060

Low Speed GMLAN Serial Data

0.35 D-GN

5060

Low Speed GMLAN Serial Data

J

0.35 D-BU/WH

1315

Right Front Turn Signal Lamp Supply Voltage

J

0.35 D-BU/WH

1315

Right Front Turn Signal Lamp Supply Voltage

K

0.8 PK/BK

117

Right Front Speaker Signal (-)

K

0.8 PK/BK

117

Right Front Speaker Signal (-)

L

0.8 L-GN

200

Right Front Speaker (+)

L

0.8 L-GN

200

Right Front Speaker (+)

M-N

--

--

Not Used

M-N

--

--

Not Used

P

2 BK

450

Ground

P

2 BK

450

Ground

X601 Right Front Door Harness to Right Front Door Trim Harness


Object Number: 1716519  Size: CH

Object Number: 1716522  Size: CH

Connector Part Information

  • OEM: 7283-2784-30
  • Service: See Catalog
  • Description: 38-Way F YESC Kaizen Series, Unsealed (BK)

Connector Part Information

  • OEM: 7282-2784-30
  • Service: See Catalog
  • Description: 38-Way M YESC Kaizen Series, Unsealed (BK)

Terminal Part Information

  • Pins: 6, 4, 8, 10
  • Terminal/Tray: 7116-4110-02/9
  • Core/Insulation Crimp: E/C
  • Release Tool/Test Probe: 12094430/J-35616-4A (PU)
  • Pins: 13-20, 31-37
  • Terminal/Tray: 7116-4618-02/14
  • Core/Insulation Crimp: P/P
  • Release Tool/Test Probe: J-38125-215/J-35616-64B (L-BU)

Terminal Part Information

  • Pins: 6, 4, 8, 10
  • Terminal/Tray: 7114-4110-02/9
  • Core/Insulation Crimp: E/C
  • Release Tool/Test Probe: 12094430/J-35616-5 (PU)
  • Pins: 13-20, 31-37
  • Terminal/Tray: See Terminal Repair Kit
  • Core/Insulation Crimp: See Terminal Repair Kit
  • Release Tool/Test Probe: See Terminal Repair Kit

X601 Right Front Door Harness to Right Front Door Trim Harness

Pin

Wire

Circuit

Function

Pin

Wire

Circuit

Function

1-3

--

--

Not Used

1-3

--

--

Not Used

4

2 BK

450

Ground

4

2 BK

450

Ground

5

2 RD/WH

140

Battery Positive Voltage

5

2 RD/WH

140

Battery Positive Voltage

6

0.5 GY/BK

1663

Passenger Door Lock Actuator Unlock Control

6

0.5 GY/BK

1663

Passenger Door Lock Actuator Unlock Control

7

2 BK

450

Ground

7

2 BK

450

Ground

8

0.5 L-GN

1090

Passenger Lock Actuator Lock Control

8

0.5 L-GN

295

Passenger Lock Actuator Lock Control

9

2 BN

667

Power Window Motor Right Front Down Control

9

2 BN

667

Power Window Motor Right Front Down Control

10

0.5 TN/RD

3540

Battery Positive Voltage

10

0.5 TN/RD

3540

Battery Positive Voltage

11

2 D-BU

666

Power Window Motor Right Front Up Control

11

2 D-BU

666

Power Window Motor Right Front Up Control

12

--

--

Not Used

12

--

--

Not Used

13

0.35 L-GN

1177

Right Front Door Open Switch Signal

13

0.35 L-GN

1177

Right Front Door Open Switch Signal

14

0.35 D-GN/WH

1178

Right Front Door Switch Low Reference

14

0.35 D-GN/WH

1178

Right Front Door Switch Low Reference

15

0.35 TN/WH

746

Right Front Door Ajar Switch Signal

15

0.35 TN/WH

746

Right Front Door Ajar Switch Signal

16

0.35 BN/L-BU

5478

Mirror Switch Low Reference (A45)

16

0.35 BN/L-BU

5478

Mirror Switch Low Reference (A45)

17

0.35 PU

607

Right Mirror Heating Element Supply Voltage (D25)

17

0.35 PU

607

Right Mirror Heating Element Supply Voltage (D25)

18

0.35 OG/WH

881

Right Mirror Motor Right Control

18

0.35 OG/WH

881

Right Mirror Motor Right Control

19

0.35 TN/PU

330

Right Mirror Motor Supply Voltage

19

0.35 TN/PU

330

Right Mirror Motor Supply Voltage

20

0.35 L-BU/BK

785

Right Mirror Horizontal Position Sensor Signal (A45)

20

0.35 L-BU/BK

785

Right Mirror Horizontal Position Sensor Signal (A45)

21-24

--

--

Not Used

21-24

--

--

Not Used

25

0.35 PK

5861

LED Signal (UFT)

25

0.35 PK

5861

LED Signal (UFT)

26

0.35 PK/BK

5862

LED Control (UFT)

26

0.35 PK/BK

5862

LED Control (UFT)

27-30

--

--

Not Used

27-30

--

--

Not Used

31

0.35 D-GN

5060

Low Speed GMLAN Serial Data

31

0.35 D-GN

5060

Low Speed GMLAN Serial Data

32

--

--

Not Used

32

--

--

Not Used

33

0.35 YE/PU

674

Left Outside Rear View Mirror Position Sensor 5-Volt Reference (A45)

33

0.35 YE/PU

674

Left Outside Rear View Mirror Position Sensor 5-Volt Reference (A45)

34

0.35 BN

787

Right Mirror Vertical Position Sensor Signal (A45)

34

0.35 BN

787

Right Mirror Vertical Position Sensor Signal (A45)

35

0.35 L-GN/PU

675

Right Outside Rear View Mirror Position Sensor Low Reference (A45)

35

0.35 L-GN/PU

675

Right Outside Rear View Mirror Position Sensor Low Reference (A45)

36

0.35 PU/WH

889

Right Mirror Motor Down Control

36

0.35 PU/WH

889

Right Mirror Motor Down Control

37

0.35 D-GN/YE

628

Right Mirror Heating Element Low Reference (DR2/D25)

37

0.35 D-GN/YE

628

Right Mirror Heating Element Low Reference (DR2/D25)

38

--

--

Not Used

38

--

--

Not Used

X700 Left Rear Door Harness to Left Rear Door Trim Harness


Object Number: 1913529  Size: CH

Object Number: 1913530  Size: CH

Connector Part Information

  • OEM: 6098-4789
  • Service: See Catalog
  • Description: 12-Way F 1.5/2.8 Series (WH)

Connector Part Information

  • OEM: 6098-4900
  • Service: See Catalog
  • Description: 12-Way M 1.5/2.8 Series (WH)

Terminal Part Information

  • Terminal: See Terminal Repair Kit
  • Core/Insulation Crimp: See Terminal Repair Kit
  • Release Tool/Test Probe: See Terminal Repair Kit

Terminal Part Information

  • Terminal: See Terminal Repair Kit
  • Core/Insulation Crimp: See Terminal Repair Kit
  • Release Tool/Test Probe: See Terminal Repair Kit

X700 Left Rear Door Harness to Left Rear Door Trim Harness

Pin

Wire

Circuit

Function

Pin

Wire

Circuit

Function

1

2 RD/WH

140

Battery Positive Voltage

1

2 RD/WH

140

Battery Positive Voltage

2

0.35 GY

8

Instrument Panel Lamp Supply Voltage

2

0.35 GY

8

Instrument Panel Lamp Supply Voltage

3

0.35 PU

169

Power Window Master Switch Left Rear Down Signal

3

0.35 PU

169

Power Window Master Switch Left Rear Down Signal

4

0.35 D-GN/RD

168

Power Window Master Switch Left Rear Up Signal

4

0.35 D-GN/RD

168

Power Window Master Switch Left Rear Up Signal

5

0.35 D-BU/PK

1307

Power Window Master Switch Lockout Signal

5

0.35 D-BU/PK

1307

Power Window Master Switch Lockout Signal

6

2 BN

669

Power Window Motor Left Rear Down Control

6

2 BN

669

Power Window Motor Left Rear Down Control

7

2 BK

750

Ground

7

2 BK

750

Ground

8

0.8 WH

1959

Left Rear Midrange Speaker (-)

8

0.8 WH

1959

Left Rear Midrange Speaker (-) (UQA)

9

0.8 TN/OG

1859

Left Rear Midrange Speaker (+)

9

0.8 TN/OG

1859

Left Rear Midrange Speaker (+) (UQA)

10-11

--

--

Not Used

10-11

--

--

Not Used

12

2 D-BU

668

Power Window Motor Left Rear Up Control

12

2 D-BU

668

Power Window Motor Left Rear Up Control

X710 Body Harness to Left Rear Door Harness


Object Number: 794439  Size: CH

Object Number: 655695  Size: CH

Connector Part Information

  • OEM: 12177259
  • Service: See Catalog
  • Description: 10-Way F Metri-Pack 280 GT 150 Series (BK)

Connector Part Information

  • OEM: 12177258
  • Service: See Catalog
  • Description: 17-Way M Metri-Pack Mixed (WH)

Terminal Part Information

  • Terminal: See Terminal Repair Kit
  • Core/Insulation Crimp: See Terminal Repair Kit
  • Release Tool/Test Probe: See Terminal Repair Kit

Terminal Part Information

  • Terminal: See Terminal Repair Kit
  • Core/Insulation Crimp: See Terminal Repair Kit
  • Release Tool/Test Probe: See Terminal Repair Kit

Connector Part Information

  • OEM: 12177260
  • Service: See Catalog
  • Description: 7-Way F Metri-Pack 280 GT 150 Series (BK)

 

Terminal Part Information

  • Terminal: See Terminal Repair Kit
  • Core/Insulation Crimp: See Terminal Repair Kit
  • Release Tool/Test Probe: See Terminal Repair Kit

 


X710 Body Harness to Left Rear Door Harness

Pin

Wire

Circuit

Function

Pin

Wire

Circuit

Function

A

0.35 D-BU/PK

1307

Power Window Master Switch Lockout Signal

A

0.35 D-BU/PK

1307

Power Window Master Switch Lockout Signal

B

0.35 PU

169

Power Window Master Switch Left Rear Down Signal

B

0.35 PU

169

Power Window Master Switch Left Rear Down Signal

C

0.35 D-GN/RD

168

Power Window Master Switch Left Rear Up Signal

C

0.35 D-GN/RD

168

Power Window Master Switch Left Rear Up Signal

D

0.35 GY

8

Instrument Panel Lamps Supply Voltage

D

0.35 GY

8

Instrument Panel Lamps Supply Voltage

E

2 RD/WH

140

Battery Positive Voltage

E

2 RD/WH

140

Battery Positive Voltage

F

2 BK

750

Ground

F

2 BK

750

Ground

G-H

--

--

Not Used

G-H

--

--

Not Used

J

0.8 TN/OG

1859

Left Rear Midrange Speaker (+) (UQA)

J

0.8 TN/OG

1859

Left Rear Midrange Speaker (+) (UQA)

K

0.8 WH

1959

Left Rear Midrange Speaker (-) (UQA)

K

0.8 WH

1959

Left Rear Midrange Speaker (-) (UQA)

L

0.35 D-BU/WH

1179

Left Rear Door Open Switch Signal

L

0.35 D-BU/WH

1179

Left Rear Door Open Switch Signal

M

0.8 TN

294

Door Lock Actuator Unlock Control

M

0.8 TN

294

Door Lock Actuator Unlock Control

N

0.8 GY

295

Door Lock Actuator Lock Control

N

0.8 GY

295

Door Lock Actuator Lock Control

P

0.35 L-BU/BK

747

Left Rear Door Ajar Switch Signal

P

0.35 L-BU/BK

747

Left Rear Door Ajar Switch Signal

R-T

--

--

Not Used

R-T

--

--

Not Used

X800 Right Rear Door Harness to Right Rear Door Trim Harness


Object Number: 1913529  Size: CH

Object Number: 1913530  Size: CH

Connector Part Information

  • OEM: 6098-4789
  • Service: See Catalog
  • Description: 12-Way F 1.5/2.8 Series (NA)

Connector Part Information

  • OEM: 6098-4900
  • Service: See Catalog
  • Description: 12-Way M 1.5/2.8 Series (NA)

Terminal Part Information

  • Terminal: See Terminal Repair Kit
  • Core/Insulation Crimp: See Terminal Repair Kit
  • Release Tool/Test Probe: See Terminal Repair Kit

Terminal Part Information

  • Terminal: See Terminal Repair Kit
  • Core/Insulation Crimp: See Terminal Repair Kit
  • Release Tool/Test Probe: See Terminal Repair Kit

X800 Right Rear Door Harness to Right Rear Door Trim Harness

Pin

Wire

Circuit

Function

Pin

Wire

Circuit

Function

1

2 RD/WH

140

Battery Positive Voltage

1

2 RD/WH

140

Battery Positive Voltage

2

0.35 GY

8

Instrument Panel Lamp Supply Voltage

2

0.35 GY

8

Instrument Panel Lamp Supply Voltage

3

0.35 PU/YE

171

Power Window Master Switch Right Rear Down Signal

3

0.35 PU

171

Power Window Master Switch Right Rear Down Signal

4

0.35 D-GN/L-BU

170

Power Window Master Switch Right Rear Up Signal

4

0.35 D-GN/RD

170

Power Window Master Switch Right Rear Up Signal

5

0.35 L-GN/GY

280

Power Window Master Switch Lockout Right Rear Signal

5

0.35 D-BU/PK

280

Power Window Master Switch Lockout Right Rear Signal

6

2 BN

671

Power Window Motor Right Rear Down Control

6

2 BN

671

Power Window Motor Right Rear Down Control

7

2 BK

450

Ground

7

2 BK

450

Ground

8

0.8 OG

1955

Right Rear Midrange Speaker (-)

8

0.8 WH

1955

Right Rear Midrange Speaker (-) (UQA)

9

0.8 TN/BK

1855

Right Rear Midrange Speaker (+)

9

0.8 TN/OG

1855

Right Rear Midrange Speaker (+) (UQA)

10-11

--

--

Not Used

10-11

--

--

Not Used

12

2 D-BU

670

Power Window Motor Right Rear Up Control

12

2 D-BU

670

Power Window Motor Right Rear Up Control

X810 Body Harness to Right Rear Door Harness


Object Number: 794439  Size: CH

Object Number: 655695  Size: CH

Connector Part Information

  • OEM: 12177259
  • Service: See Catalog
  • Description: 10-Way F Metri-Pack 280 GT 150 Series (BK)

Connector Part Information

  • OEM: 12177258
  • Service: See Catalog
  • Description: 17-Way M Metri-Pack Mixed (WH)

Terminal Part Information

  • Terminal: See Terminal Repair Kit
  • Core/Insulation Crimp: See Terminal Repair Kit
  • Release Tool/Test Probe: See Terminal Repair Kit

Terminal Part Information

  • Terminal: See Terminal Repair Kit
  • Core/Insulation Crimp: See Terminal Repair Kit
  • Release Tool/Test Probe: See Terminal Repair Kit

Connector Part Information

  • OEM: 12177260
  • Service: See Catalog
  • Description: 7-Way F Metri-Pack 280 GT 150 Series (BK)

 

Terminal Part Information

  • Terminal: See Terminal Repair Kit
  • Core/Insulation Crimp: See Terminal Repair Kit
  • Release Tool/Test Probe: See Terminal Repair Kit

 


X810 Body Harness to Right Rear Door Harness

Pin

Wire

Circuit

Function

Pin

Wire

Circuit

Function

A

0.35 L-GN/GY

280

Power Window Master Switch Lockout Right Rear Signal

A

0.35 L-GN/GY

280

Power Window Master Switch Lockout Right Rear Signal

B

0.35 D-GN/L-BU

170

Power Window Master Switch Right Rear Up Signal

B

0.35 D-GN/L-BU

170

Power Window Master Switch Right Rear Up Signal

C

0.35 PU/YE

171

Power Window Master Switch Right Rear Down Signal

C

0.35 PU/YE

171

Power Window Master Switch Right Rear Down Signal

D

0.35 GY

8

Instrument Panel Lamps Supply Voltage

D

0.35 GY

8

Instrument Panel Lamps Supply Voltage

E

2 RD/WH

140

Battery Positive Voltage

E

2 RD/WH

140

Battery Positive Voltage

F

2 BK

450

Ground

F

2 BK

450

Ground

G-H

--

--

Not Used

G-H

--

--

Not Used

J

0.8 TN/BK

1855

Right Rear Midrange Speaker (+) (UQA)

J

0.8 TN/BK

1855

Right Rear Midrange Speaker (+) (UQA)

K

0.8 OG

1955

Right Rear Midrange Speaker (-) (UQA)

K

0.8 OG

1955

Right Rear Midrange Speaker (-) (UQA)

L

0.35 D-BU/WH

1179

Left Rear Door Open Switch Signal

L

0.35 D-BU/WH

1179

Left Rear Door Open Switch Signal

M

0.8 TN

294

Door Lock Actuator Unlock Control

M

0.8 TN

294

Door Lock Actuator Unlock Control

N

0.8 GY

295

Door Lock Actuator Lock Control

N

0.8 GY

295

Door Lock Actuator Lock Control

P

0.35 L-GN/BK

748

Right Rear Door Ajar Switch Signal

P

0.35 L-GN/BK

748

Right Rear Door Ajar Switch Signal

R-T

--

--

Not Used

R-T

--

--

Not Used

X900 Body Harness to Right Auxiliary Tail Lamp Assembly Harness


Object Number: 1787799  Size: CH

Object Number: 1787800  Size: CH

Connector Part Information

  • OEM: 7283-3440-40
  • Service: See Catalog
  • Description: 3-Way F (GY)

Connector Part Information

  • OEM: 7282-3440-40
  • Service: See Catalog
  • Description: 3-Way M (GY)

Terminal Part Information

  • Terminal: See Terminal Repair Kit
  • Core/Insulation Crimp: See Terminal Repair Kit
  • Release Tool/Test Probe: See Terminal Repair Kit

Terminal Part Information

  • Terminal: See Terminal Repair Kit
  • Core/Insulation Crimp: See Terminal Repair Kit
  • Release Tool/Test Probe: See Terminal Repair Kit

X900 Body Harness to Right Auxiliary Tail Lamp Assembly Harness

Pin

Wire

Circuit

Function

Pin

Wire

Circuit

Function

1

0.5 L-GN

24

Backup Lamp Supply Voltage

1

0.5 L-GN

24

Backup Lamp Supply Voltage

2

0.5 BN/WH

309

Right Park Lamp Supply Voltage

2

0.5 BN

309

Right Park Lamp Supply Voltage

3

0.5 BK

1050

Ground

3

0.5 BK

1050

Ground

X901 Body Harness to Left Auxiliary Tail Lamp Assembly Harness


Object Number: 1787799  Size: CH

Object Number: 1787800  Size: CH

Connector Part Information

  • OEM: 7283-3440-40
  • Service: See Catalog
  • Description: 3-Way F (GY)

Connector Part Information

  • OEM: 7282-3440-40
  • Service: See Catalog
  • Description: 3-Way M (GY)

Terminal Part Information

  • Terminal: See Terminal Repair Kit
  • Core/Insulation Crimp: See Terminal Repair Kit
  • Release Tool/Test Probe: See Terminal Repair Kit

Terminal Part Information

  • Terminal: See Terminal Repair Kit
  • Core/Insulation Crimp: See Terminal Repair Kit
  • Release Tool/Test Probe: See Terminal Repair Kit

X901 Body Harness to Left Auxiliary Tail Lamp Assembly Harness

Pin

Wire

Circuit

Function

Pin

Wire

Circuit

Function

1

0.5 L-GN

24

Backup Lamp Supply Voltage

1

0.5 L-GN

24

Backup Lamp Supply Voltage

2

0.5 PU

709

Left Park Lamp Supply Voltage

2

0.5 BN

709

Left Park Lamp Supply Voltage

3

0.5 BK

1050

Ground

3

0.5 BK

1050

Ground