GM Service Manual Online
For 1990-2009 cars only

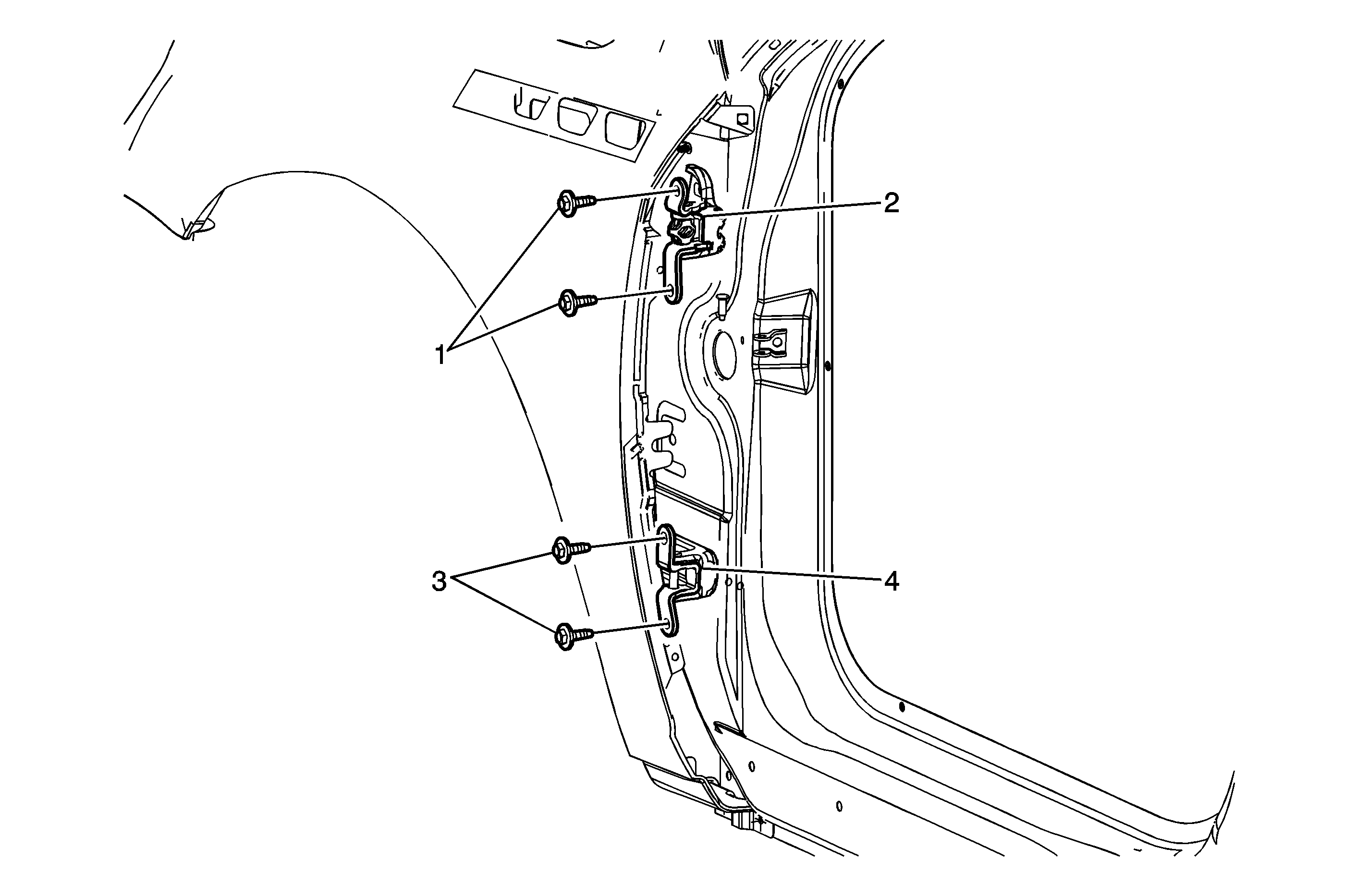
Object Number: 1660130  Size: MF

Callout

Component Name

Notice: Refer to Fastener Notice in the Preface section.

Fastener Tightening Specifications: Refer to Fastener Tightening Specifications .

Preliminary Procedure

Remove the front door. Refer to Front Side Door Replacement .

1

Upper Hinge Bolts (Qty: 2)

Tighten
34 N·m (25 lb ft)

2

Upper Hinge

Tip
With a grease pencil mark the position of the hinge.

3

Lower Hinge Bolts (Qty: 2)

Tighten
34 N·m (25 lb ft)

4

Lower Hinge

Tip
With a grease pencil mark the position of the hinge.