GM Service Manual Online
For 1990-2009 cars only

Vehicle Speed Sensor


Object Number: 53710  Size: SH

The vehicle speed sensor (VSS) is a magnetic inductive pickup that relays vehicle speed information to the PCM. The PCM uses this information in order to control shift timing, line pressure, and TCC apply and release.

The VSS mounts in the case extension at the vehicle speed sensor reluctor wheel, which is pressed onto the final drive carrier assembly. An air gap of 0.27-1.57 mm (0.011-0.062 in) occurs between the sensor and the teeth on the vehicle speed sensor reluctor wheel as the final drive carrier assembly rotates.

The sensor consists of a permanent magnet surrounded by a coil of wire. As the vehicle speed sensor reluctor wheel on the final drive carrier assembly rotates, an AC signal is produced by the VSS. This AC signal consists of a voltage and frequency that changes based on vehicle speed. The PCM uses the frequency portion of this signal to determine vehicle speed. Higher vehicle speeds induce a higher frequency and a higher voltage measurement at the sensor. The voltage portion of the signal is used in diagnostic procedures.

Sensor resistance should measure between 1,650-2,200 ohms at 20°C (68°F). Output voltage will vary with vehicle speed from a minimum of 0.5 volts AC at 100 RPM to 200 volts at 6,000 RPM.

Automatic Transmission Input Speed Sensor


Object Number: 53716  Size: SH

The automatic transmission input speed sensor (ISS) is a magnetic inductive pickup that relays turbine shaft speed information to the PCM. The PCM uses ISS information in order to control line pressure, transmission shift patterns and TCC apply and release. This information is also used in order to calculate the appropriate operating gear ratios and TCC slippage.

The ISS mounts in the case cover, next to the reluctor wheel assembly. An air gap of 0.08-2.12 mm (0.0032-0.0834 in) occurs between the sensor and the teeth on the speed sensor reluctor wheel as the drive sprocket rotates. The speed sensor reluctor wheel is secured to and turns with the drive sprocket by the tangs on the drive sprocket forward thrust washer.

The sensor consists of a permanent magnet surrounded by a coil of wire. As the turbine shaft rotates the speed sensor reluctor wheel and the drive sprocket, an AC signal is produced by the ISS. This AC signal consists of a voltage and frequency that changes based on vehicle speed. The PCM uses the frequency portion of this signal to determine input shaft speed. Higher input shaft speeds induce a higher frequency and a higher voltage measurement at the sensor. The voltage portion of the signal is used in diagnostic procedures.

Sensor resistance should measure between 820-1020 ohms at 20°C (68°F). Output voltage will vary with the vehicle speed from a minimum of 0.5 volts AC at 300 RPM to 200 volts at 6,000 RPM.

1-2 and 2-3 Shift Solenoid Valves


Object Number: 53726  Size: SH

The shift solenoid valves are two identical, normally open, electronic exhaust valves that control upshifts and downshifts in all forward gear ranges. These shift solenoid valves work together in a combination of ON and OFF sequences in order to control the positions of the 1-2 and 2-3 shift valve trains. The PCM monitors numerous inputs in order to determine the appropriate solenoid state combination and the transmission gear for the vehicle operating conditions.

Gear

1-2 Shift Solenoid Valve

2-3 Shift Solenoid Valve

Park, Reverse, Neutral

ON

ON

First

ON

ON

Second

OFF

ON

Third

OFF

OFF

Fourth

ON

OFF

The PCM energizes the shift solenoids by providing a ground to the solenoid's electrical circuit. This sends a current through the coil winding of the solenoid, thereby creating a magnetic field. The magnetic field repels the plunger inside the solenoid. This seats the solenoid metering ball against the fluid inlet port. This action prevents the exhaust of fluid through the solenoid and provides an increase in fluid pressure at the end of the shift valves. This fluid pressure initiates an upshift by moving the shift valves. Refer to the oil flow diagrams for a complete description of the hydraulic control of the shift valves for each gear range.

Shift solenoid resistance should measure between 19-24 ohms when measured at 20°C (68°F) and between 24-31 ohms when measured at 88°C (190°F).

The shift solenoid valves should energize when the voltage is greater than 7.5 volts. The shift solenoid valves should de-energize when the voltage is less than one volt.

Pressure Control Solenoid Valve


Object Number: 910536  Size: SH

The pressure control (PC) solenoid valve is a precision electronic pressure regulator that controls transmission line pressure based on current flow through its coil windings. As current flow is increased, the magnetic field which is produced by the coil moves the solenoid's plunger further away from the exhaust port. Opening the exhaust port decreases the output fluid pressure, which is regulated by the PC solenoid valve. This ultimately decreases line pressure. The PCM controls the PC solenoid valve based upon various inputs including throttle position, fluid temperature, MAP sensor, and gear state.

The PCM controls the PC solenoid valve on a positive duty cycle at a fixed frequency of 585 Hz (cycles per second). Duty cycle is defined as the percentage of time when current flows through the solenoid coil during each cycle. A higher duty cycle provides a greater current flow through the solenoid. The high (positive) side of the PC solenoid valve electrical circuit at the PCM controls the PC solenoid valve operation. The PCM provides a ground path for the circuit, monitors average current, and continuously varies the PC solenoid valve duty cycle in order to maintain the correct average current flowing through the PC solenoid valve.

Duty Cycle

Current

Line Pressure

+5%

0.02 amps

Maximum

+90%

1.1 amps

Minimum

The PC solenoid valve resistance should measure between 3-5 ohms when measured at 20°C (68°F).

Torque Converter Clutch Pulse Width Modulation Solenoid Valve


Object Number: 53740  Size: SH

The TCC PWM solenoid valve is a normally closed (hydraulically), pulse width modulation (PWM) solenoid which is used to control the apply and release of the converter clutch. The PCM operates the solenoid with a negative duty cycle at a fixed frequency of 32 Hz in order to control the rate of TCC apply/release. The solenoid's ability to ramp the TCC apply and release pressures results in smoother TCC operation.

When the vehicle's operating conditions are appropriate to apply the TCC, the PCM immediately increases the duty cycle to approximately 22 percent. The PCM then ramps the duty cycle up to a maximum of 98 percent in order to achieve full TCC apply pressure. The rate at which the PCM increases the duty cycle controls the TCC apply. Similarly, the PCM also ramps down the TCC solenoid duty cycle in order to control TCC release.

Some operating conditions prevent or enable TCC apply under various conditions. Refer to Automatic Transmission Fluid Temperature Sensor in this section. Also, if the PCM receives a zero voltage signal from the TCC brake switch, signaling that the brake pedal has been depressed, the PCM immediately releases the TCC.

TCC duty cycle for ECCC equipped vehicles is 22 percent for minimum apply pressure and 43 percent for maximum apply pressure. The TCC PWM solenoid valve will typically be 40-60 percent at full apply. Your results may vary.

The TCC PWM solenoid valve resistance should measure 10-12 ohms when measured at 20°C (68°F) and 13-15 ohms when measured at 88°C (190°F).

Automatic Transmission Fluid Pressure Manual Valve Position Switch


Object Number: 834929  Size: SH

The automatic transmission fluid pressure (TFP) switch is attached to the valve body and consists of one fluid pressure switch that monitors TCC release pressure. This switch is used as a diagnostic tool to confirm that the TCC is actually OFF when it has been commanded OFF by the PCM.

The TCC release switch is a normally-closed pressure switch. A normally-closed switch allows current to flow from the positive contact through the switch to ground when no fluid is present. Fluid pressure moves the diaphragm to disconnect the positive and ground contacts, opening the switch and stopping current flow. This change in switch state electronically signals the PCM that the TCC is released.

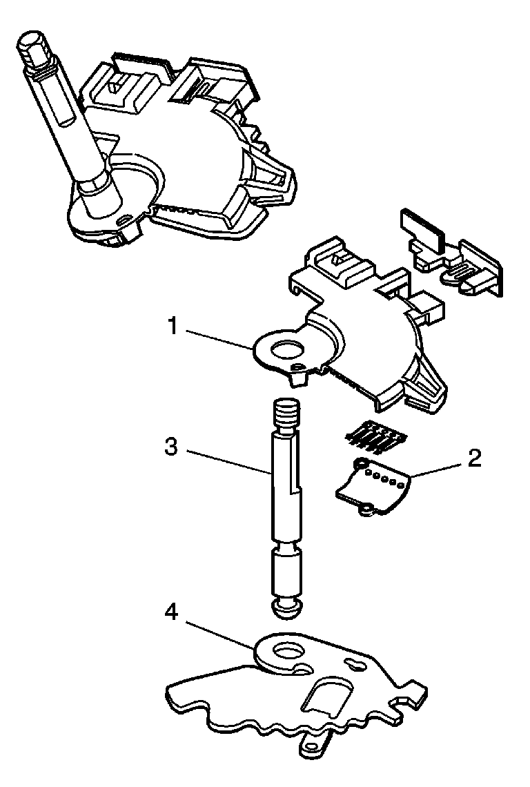
Lever Assembly-Manual Shaft Detent with Internal Mode Switch


Object Number: 954460  Size: MH

The lever assembly-manual shaft detent with internal mode switch (IMS) is a sliding contact electrical switch assembly that corresponds to the PRNDL position selected. Each of the PRNDL positions has a unique ground pattern on four wires from the PCM.

The assembly consists of two major components:

    • The internal mode switch that consists of:
       - The housing (1), which makes up the stationary contacts.
       - The insulator (2), which makes up the moving contacts and is secured on the detent lever (4).
    • The lever assembly which consists of:
       - The manual shaft (3)
       - The detent lever (4)

The range detection is accomplished by securing the moving contacts to the detent lever. When the driver selects a PRNDL position, the detent lever inside the transmission rotates. This rotates the insulator which in turn grounds the four wires in a unique pattern for each gear selection, corresponding to the PRNDL position selected. The IMS is electrically connected by five wires (four of which the PCM supplies voltage to and one wire that is a common ground) to the transmission pass through connector.

Automatic Transmission Fluid Temperature Sensor


Object Number: 53758  Size: SH

The automatic transmission fluid temperature (TFT) sensor is a negative temperature coefficient thermistor (temperature sensitive resistor) that provides information to the PCM regarding the transmission fluid temperature. The TFT sensor clips on to the valve body and is replaced as a separate component and not as a part of the AT wiring harness assembly. The TFT sensor monitors non-pressurized fluid in the sump in order to determine the operating temperature of the transmission fluid.

The internal electrical resistance of the sensor varies in relation to the operating temperature of the transmission fluid. The PCM sends a 5 volt reference signal to the TFT sensor and the PCM measures the voltage drop in the electrical circuit. A lower fluid temperature creates a higher resistance in the TFT sensor, which produces a higher voltage signal.

The PCM uses this input in order to help determine the proper line pressure, shift schedules and TCC apply. When the transmission fluid temperature reaches 130°C (266°F), the PCM enters Hot Mode. Above this temperature the PCM modifies the transmission shift schedules and the TCC apply in an attempt to reduce the fluid temperature by reducing the transmission heat generation. During Hot Mode the PCM applies the TCC at all times in third and fourth gears. Also, the PCM performs the 2-3 and the 3-4 shifts earlier in order to help reduce fluid heat generation.

The PCM stays in Hot Mode until the temperature drops below 120°C (248°F).