GM Service Manual Online
For 1990-2009 cars only

SMU - SECTION 8A - REVISED ELECTRICAL SCHEMATIC

SUBJECT: SERVICE MANUAL UPDATE - SECTION 8A - REVISED ELECTRICAL SCHEMATIC DIAGRAMS

MODELS: 1994-95 BUICK LESABRE, PARK AVENUE 1994-95 OLDSMOBILE EIGHTY EIGHT, NINETY EIGHT 1994-95 PONTIAC BONNEVILLE

THIS BULLETIN REVISES THE FOLLOWING PAGES OF THE SERVICE MANUAL:

- PAGES 8A-11-23, 8A-130-0 AND 8A-132-2 OF THE 1995 MANUAL. - PAGE 893 OF THE 1994 BUICK MANUAL. - PAGE 8A-130-0 OF THE 1994 OLDSMOBILE AND PONTIAC MANUALS.

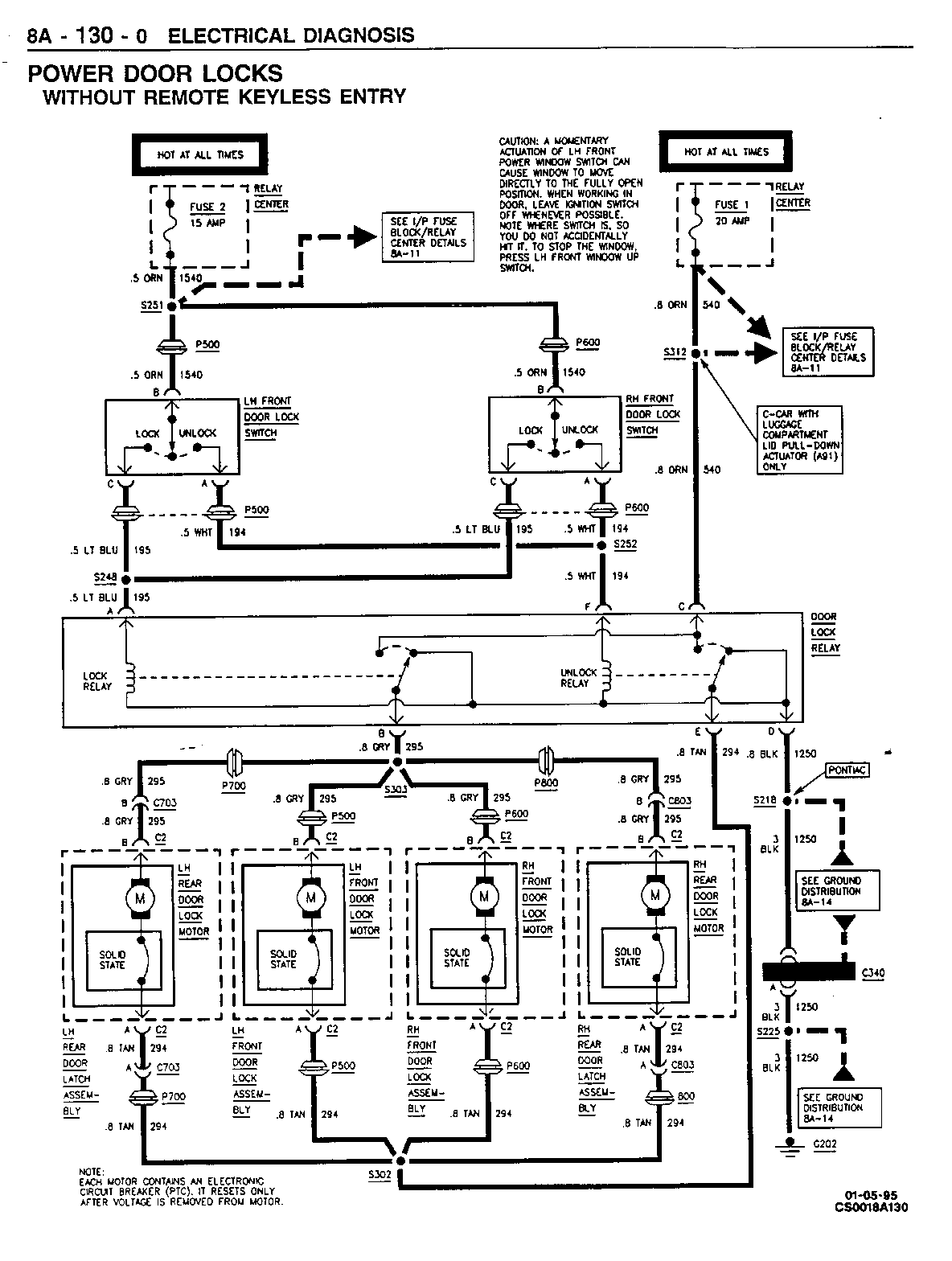
THE ATTACHED UPDATED 1994 SCHEMATIC DIAGRAM TITLED "1994 DOOR LOCK RELAY FUSE 1 CIRCUIT" SHOWS CKT 540 POWER SUPPLIED THROUGH FUSE 1 (20A) LOCATED IN THE RELAY CENTER.

THE ATTACHED UPDATED 1995 SCHEMATIC DIAGRAMS PROVIDE THE FOLLOWING REVISIONS:

1. PAGE 8A-11-23 SHOWS CKT 540 SPLICE REFERENCE AS S312.

2. PAGE 8A-130-0 SHOWS CKT 540 POWER SUPPLIED THROUGH FUSE 1 (20A) LOCATED IN THE RELAY CENTER.

3. PAGE 8A-132-2 (NOT SHOWN) IS CORRECT AS SHOWN IN THE SERVICE MANUAL, EXCEPT THAT THE SPLICE IN CKT 540 SHOULD BE S312, NOT S112.

FIGURES: 0 ATTACHMENTS: 3


Object Number: 81058  Size: FS


Object Number: 76186  Size: FS


Object Number: 76741  Size: FS

GENERAL MOTORS BULLETINS ARE INTENDED FOR USE BY PROFESSIONAL TECHNICIANS, NOT A "DO-IT-YOURSELFER". THEY ARE WRITTEN TO INFORM THOSE TECHNICIANS OF CONDITIONS THAT MAY OCCUR ON SOME VEHICLES, OR TO PROVIDE INFORMATION THAT COULD ASSIST IN THE PROPER SERVICE OF A VEHICLE. PROPERLY TRAINED TECHNICIANS HAVE THE EQUIPMENT, TOOLS, SAFETY INSTRUCTIONS AND KNOW-HOW TO DO A JOB PROPERLY AND SAFELY. IF A CONDITION IS DESCRIBED, DO NOT ASSUME THAT THE BULLETIN APPLIES TO YOUR VEHICLE, OR THAT YOUR VEHICLE WILL HAVE THAT CONDITION. SEE A GENERAL MOTORS DEALER SERVICING YOUR BRAND OF GENERAL MOTORS VEHICLE FOR INFORMATION ON WHETHER YOUR VEHICLE MAY BENEFIT FROM THE INFORMATION.

COPYRIGHT 1995 GENERAL MOTORS CORPORATION. ALL RIGHTS RESERVED.