GM Service Manual Online
For 1990-2009 cars only

Engine Component View -- Vin 1


Object Number: 12234  Size: LF
(1)Exhaust Gas Recirculation (EGR) Valve
(2)Idle Air Control (IAC) Valve
(3)Mass Air Flow (MAF) Sensor
(4)Throttle Position (TP) Sensor
(5)Bypass Valve Actuator
(6)Boost Control Solenoid
(7)Ignition Control Module
(8)Crankshaft Position (CKP) Sensor
(9)Camshaft Position (CMP) Sensor
(10)EVAP Canister Purge Valve
(11)Heated Oxygen Sensor 1 (HO2S 1)
(12)Manifold Absolute Pressure (MAP) Sensor
(13)PCV Valve

Engine Component View Vin K


Object Number: 12235  Size: LF
(1)Exhaust Gas Recirculation (EGR) Valve
(2)Idle Air Control (IAC) Valve
(3)Mass Air Flow (MAF) Sensor
(4)Throttle Position (TP) Sensor
(5)Engine Oil Level Switch
(6)Ignition Control Module
(7)Crankshaft Position (CKP) Sensor
(8)Camshaft Position (CMP) Sensor
(9)EVAP Canister Purge Valve
(10)PCV Valve
(11)Heated Oxygen Sensor 1 (HO2S 1)
(12)Manifold Absolute Pressure (MAP) Sensor

Engine Controls Component Location Table VIN K and 1

Name

Location

Locator View

Connector End View

Group No.

A/C Compressor Clutch

Lower RH front corner of engine compartment, on A/C compressor

8A-201-19

--

--

A/C Compressor Clutch Diode

Lower RH front corner of engine compartment, near A/C compressor conn

8A-201-19

--

--

A/C Pressure Switch

Lower RH front corner of engine compartment, near A/C compressor

Engine Controls

--

--

A/C Refrigerant Pressure Sensor

Lower RH front of engine, attached to A/C compressor

Engine Controls

--

--

Bank #1 Knock Sensor

Lower center front of engine, below exhaust manifold

Engine Controls

--

--

Bank #2 Knock Sensor

Lower center back of engine, below exhaust manifold

Engine Controls

--

--

Boost Control Solenoid

Top of engine, attached to fuel rail

Engine Controls

--

--

Camshaft Position Sensor

RH front of engine, above crankshaft pulley

Engine Controls

--

--

Crankshaft Position Sensor

RH front of engine, forward of the crankshaft pulley

Engine Controls

--

--

Cruise Control Module

LH rear of engine compartment, near brake master cylinder

8A-201-11

--

--

Data Link Connector (DLC)

Under LH side of I/P, left of steering column

8A-201-26

--

--

Electronic Brake and Traction Control (EBTCM) Module

LH front corner of engine compartment, near base of radiator support

8A-201-7

--

--

Engine Coolant Temperature Sensor

Top LH side of engine, below thermostat housing

Engine Controls

--

--

Engine Oil Level Switch

Lower front of engine, attached to oil pan

Engine Controls

--

--

Engine Oil Pressure Sensor

Lower RH rear of engine, below power steering reservoir

Engine Controls

--

--

Evaporative Emissions (EVAP) Purge Valve

Top RH rear of engine, above valve cover

Engine Controls

--

--

Evaporative Emissions (EVAP) Vacuum Switch

Top RH rear of engine, above valve cover

Engine Controls

--

--

Exhaust Gas Recirculation (EGR) Valve

Top LH side of engine, rear of throttle body assembly

Engine Controls

--

--

Fuel Injectors

Top of engine, below fuel rail

Engine Controls

--

--

Fuel Pump Control Module

LH side of luggage compartment, rear of wheelhouse

Engine Controls

--

--

Fuel Tank Unit

In fuel tank

8A-201-58

--

--

Heated Oxygen Sensor 1 (HO2S 1)

Rear of engine, in exhaust mainfold

Engine Controls

--

--

Heated Oxygen Sensor 2 (HO2S 2)

Below passenger compartment, rear of catalytic converter

Engine Controls

--

--

I/P Bussed Electrical Center (BEC)

Behind RH of I/P, near rear of I/P compartment

8A-201-34

--

--

Idle Air Control (IAC) Valve

LH top of engine, attached to throttle body assembly

Engine Controls

--

--

Ignition Control Module (ICM)

RH top front of engine, below ignition coils

Engine Controls

--

--

Intake Air Temperature (IAT) Sensor

LH side of engine compartment, attached to air intake tube

Engine Controls

--

--

Mainfold Absolute Pressure (MAP) Sensor

Top LH rear of engine, above valve cover

Engine Controls

--

--

Mass Air Flow (MAF) Sensor

Top LH side of engine, on throttle body assembly

Engine Controls

--

--

Powertrain Control Module (PCM)

LH front of engine compartment, in air cleaner assembly

8A-201-8

--

3.670

Rear Bussed Electrical Center (BEC)

Center RH rear of passenger compartment, under rear seat

8A-201-43

--

--

TCC/ABS Switch

Under LH of I/P, above brake pedal

8A-201-28

--

--

Throttle Position (TP) Sensor

Top LH side of engine, attached to throttle body assembly

Engine Controls

--

--

Underhood Bussed Electrical Center (BEC)

RH front corner of engine compartment, front of strut tower

8A-201-5

--

--

Vehicle Speed Sensor (VSS)

Lower RH rear of engine, below power steering reservoir, attached to transaxle

Engine Controls

--

3.682

C100

LH front of transaxle, below throttle body

8A-201-18

--

--

C101

Center rear of engine compartment

8A-201-18

--

--

C102

LH side of engine compartment, near windshield washer reservoir

8A-201-10

--

--

C107

RH front of engine, near ignition control module

8A-201-

17

--

--

C111

RH rear of engine, below power steering reservoir

8A-201-20

--

--

C200

Under LH side of I/P, left of steering column base

8A-201-25

--

--

G100

RH front of Engine, under ignition control module

8A-201-17

--

--

G101

RH rear of engine, below power steering pump

8A-201-26

--

--

G102

Lower center front of engine, near base of oil pan

8A-201-13

--

--

G202

LH front of passenger compartment, under kick panel trim

8A-201-22

--

--

G402

LH side of luggage compartment, rear of wheel house

8A-201-54

--

--

P100

LH rear corner of engine compartment, near bottom of windshield washer reservoir

8A-201-10

--

--

P102

RH rear corner of engine compartment, below windshield w

iper motor

8A-201-12

--

--

P403

LH rear of passenger compartment, under rear seat

8A-201-43

--

--

S103

Engine harn, approx 6.5 cm from throttle position sensor conn breakout

8A-201-15

--

--

S105

Engine harn, approx 47.5 cm from

powertrain control module C1

8A-201-8

--

--

S106

Engine harn, approx 6 cm from A/C compressor clutch

8A-201-19

--

--

S107

Engine harn, approx 6 cm from A/C compressor clutch

8A-201-19

--

--

S108

Engine Harn, approx 20 cm from

EBTCM breakout

8A-201-

9

--

--

S135

Ignition control module harn, approx 26.5 cm from ignition control module

8A-201-

9

--

--

S136

Ignition control module harn, approx 20 cm from Ignition control module

8A-201-11

--

--

S203

Body harn, approx 6.5 cm from left front door breakout

8A-201-27

--

--

S400

Body harn, approx 10.5 cm from G402 breakout

8A-201-

54

--

--


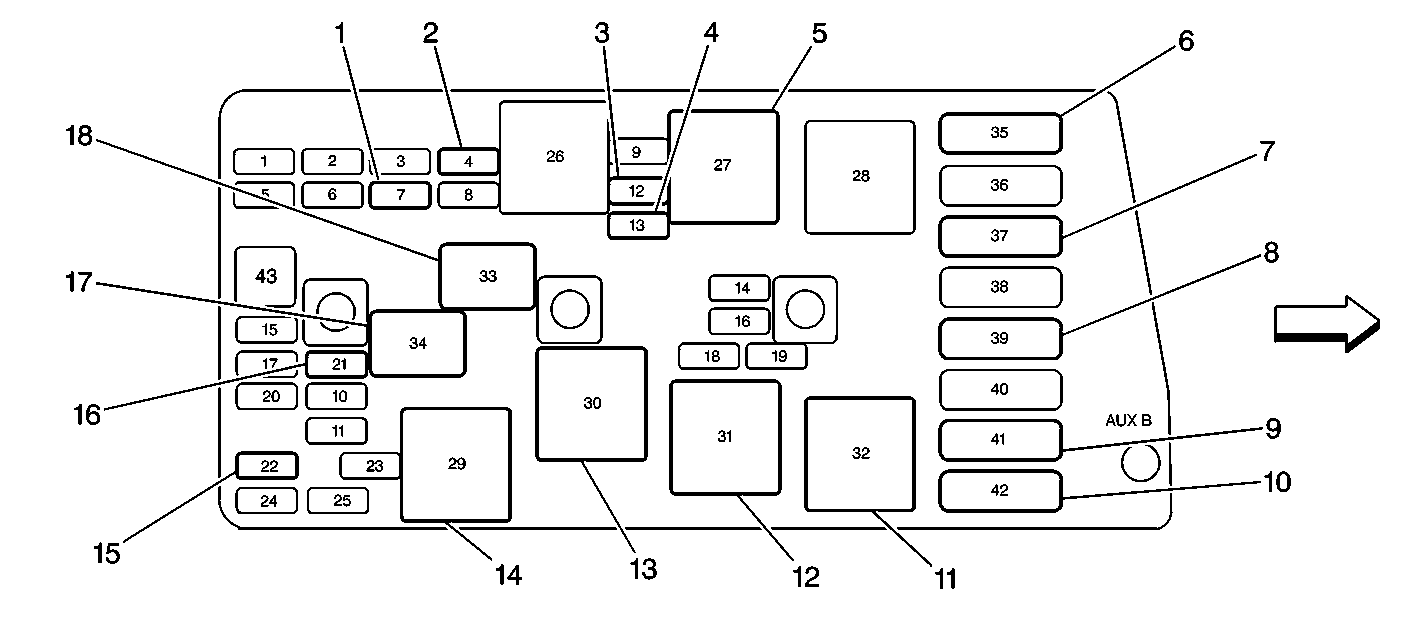
Object Number: 65224  Size: SH
(1)Fuse #7 A/C Clutch 10 Amp
(2)Fuse #4 Oxy Sensor 10 Amp
(3)Fuse #12 Injectors 10 Amp
(4)Fuse #13 C3I 10 Amp
(5)Relay 27 Cooling Fans Relay #2
(6)Fuse # 35 Bat 60 Amp
(7)Fuse #37 Cooling Fans # 2 30 Amp
(8)Fuse # 39 Bat 60 Amp
(9)Fuse # 41 Theft 30 Amp
(10)Fuse # 42 Cooling Fans #1 30 Amp
(11)Relay 32 Cooling Fans Relay #1
(12)Relay 31 Series/Parallel Cooling Fans Relay
(13)Relay 30 Starter Enable Relay #2
(14)Relay 29 Starter Enable Relay #1
(15)Fuse # 22 Run/Crank 10 Amp
(16)Fuse # 21 F/PMP 20 Amp
(17)Relay 34 F/PMP
(18)Relay 33 A/C Clutch