GM Service Manual Online
For 1990-2009 cars only

Air Distribution System

Air Distribution


Object Number: 246970  Size: MF
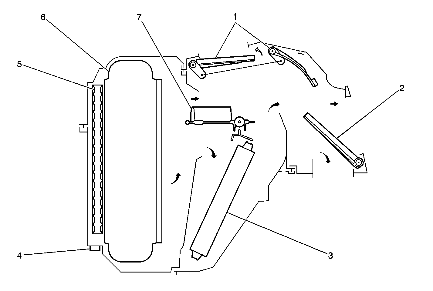
(1)Defroster Door
(2)A/C Door
(3)Heater Core
(4)Filter Access Door
(5)HVAC Air Filters
(6)Evaporator
(7)Air Mix Door

Air for the HVAC system enters into the blower module through the air inlet assembly at the base of the windshield. The blower forces the air through the HVAC filter (5) and then through the evaporator core (6).

The evaporator core dehumidifies and cools the air. The air is heated as required by passing through or around the heater core (3). Air valves in the A/C module direct the conditioned air to one of the following outlets, depending upon the mode that the driver selects:

    • The instrument panel outlets
    • The heater outlets at the floor (front and rear)
    • The defroster outlets

Air Inlet Assembly

The air inlet assembly provides outside (fresh) or inside (recirculated) air to the blower, depending upon the mode the driver selects. An actuator varies the inlet air. The heater and A/C programmer controls the actuator.

Mode Air Valve

After passing through the evaporator core, all or part of the cooled and dehumidified air will pass through the heater core. The air will heat to the desired temperature that the driver requests.

The adjusted air enters the air distribution chamber. The heater and A/C programmer energizes the mode door actuators in order to position the valves in the air distribution chamber. Variations in the position of the mode valve door directs airflow through the floor, windshield and instrument panel ducts. Air is always directed to the rear air floor duct.

Ducts and Outlets

The ducting is the network of tubing that is used to get conditioned air from the HVAC module to the instrument panel and rear seat outlets.

The following 4 major ducts attach to the air distribution chamber:

    • The cross car ducts
    • The rear seat duct
    • The heater duct
    • The defrost and side window duct

The cross car ducts attach to the instrument panel carrier. The ducts receive air from the distribution chamber.

The rear seat duct receives air from the bottom of the distribution chamber. The rear seat duct delivers the air through 2 outlets at the rear of the front seat center arm rest or console.

The heater ducts are part of the insulator panels. The heater ducts distribute heater air to the front occupants. The heater ducts are located on either side of the vehicle.

The defroster and side window ducts attach to the top of the HVAC module. The defroster and side window ducts distribute the air to the windshield and to the front side windows.