GM Service Manual Online
For 1990-2009 cars only

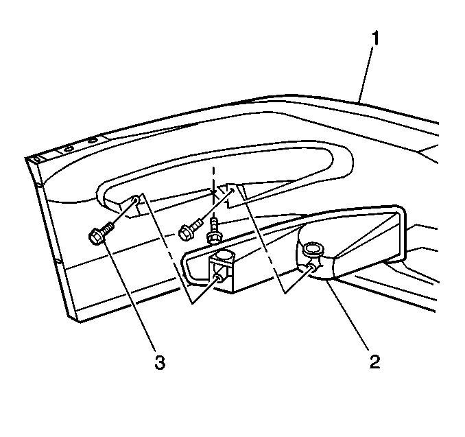
Removal Procedure


    Object Number: 255304  Size: SH
  1. Remove the headlamp. Refer to Headlamp Replacement .
  2. Remove the bulbs and the sockets from the park/side marker lamp (2).
  3. Remove the screw (3) that retains the park/side marker lamp (2) to the fascia (1).
  4. Rotate the park/side marker lamp (2) inward and to the rear.
  5. Lift the park/side marker lamp (2) from the headlamp opening.

Installation Procedure


    Object Number: 255304  Size: SH
  1. Position the park/side marker lamp (2) in through the headlamp opening.
  2. Install the screw (3) in order to retain the park/side marker lamp (2) to the fascia (1).
  3. Install the bulbs and the sockets to the park/side marker lamp (2).
  4. Install the headlamp. Refer to Headlamp Replacement .