GM Service Manual Online
For 1990-2009 cars only
Makes
🢒
Buick
🢒
1998
🢒
Park Avenue
🢒
Body and Accessories
🢒
Bumpers
🢒 Front License Plate Bracket Replacement
Removal Procedure
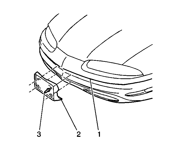
Drill out the rivets (3) retaining the license bracket (2).
Remove the license bracket (2).
Installation Procedure
Install the license bracket (2).
Install the rivets (3) in order to retain the license bracket (2).