GM Service Manual Online
For 1990-2009 cars only
Makes
🢒
Buick
🢒
1998
🢒
Park Avenue
🢒
Body and Accessories
🢒
Seats
🢒 Power Seats Schematics
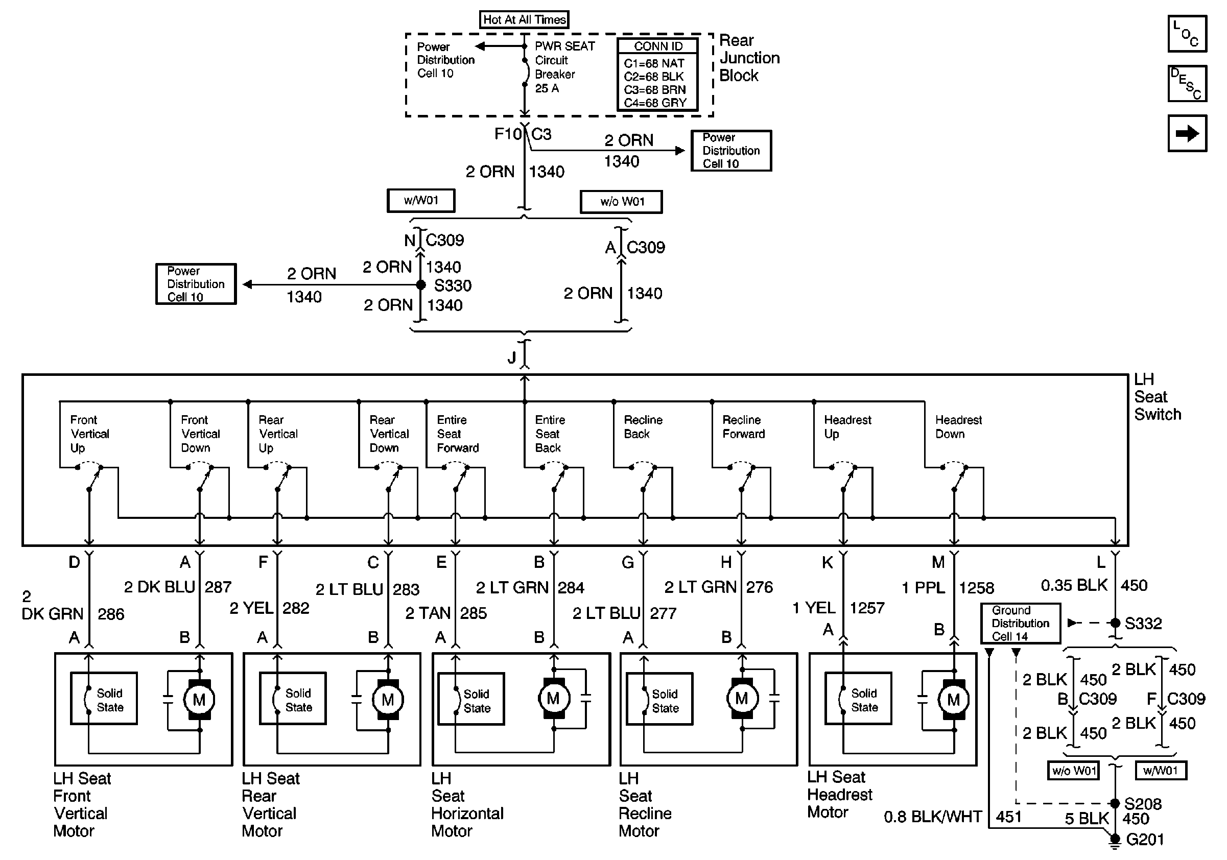
Figure
1:
Cell 140: Left Power Seat (w/o A43)
Power and Grounding Connector End Views
Power Distribution Schematics
Power Distribution Schematics
Ground Distribution Schematics
Power Distribution Schematics
Power Seat Systems Components
Power Seats Circuit Description
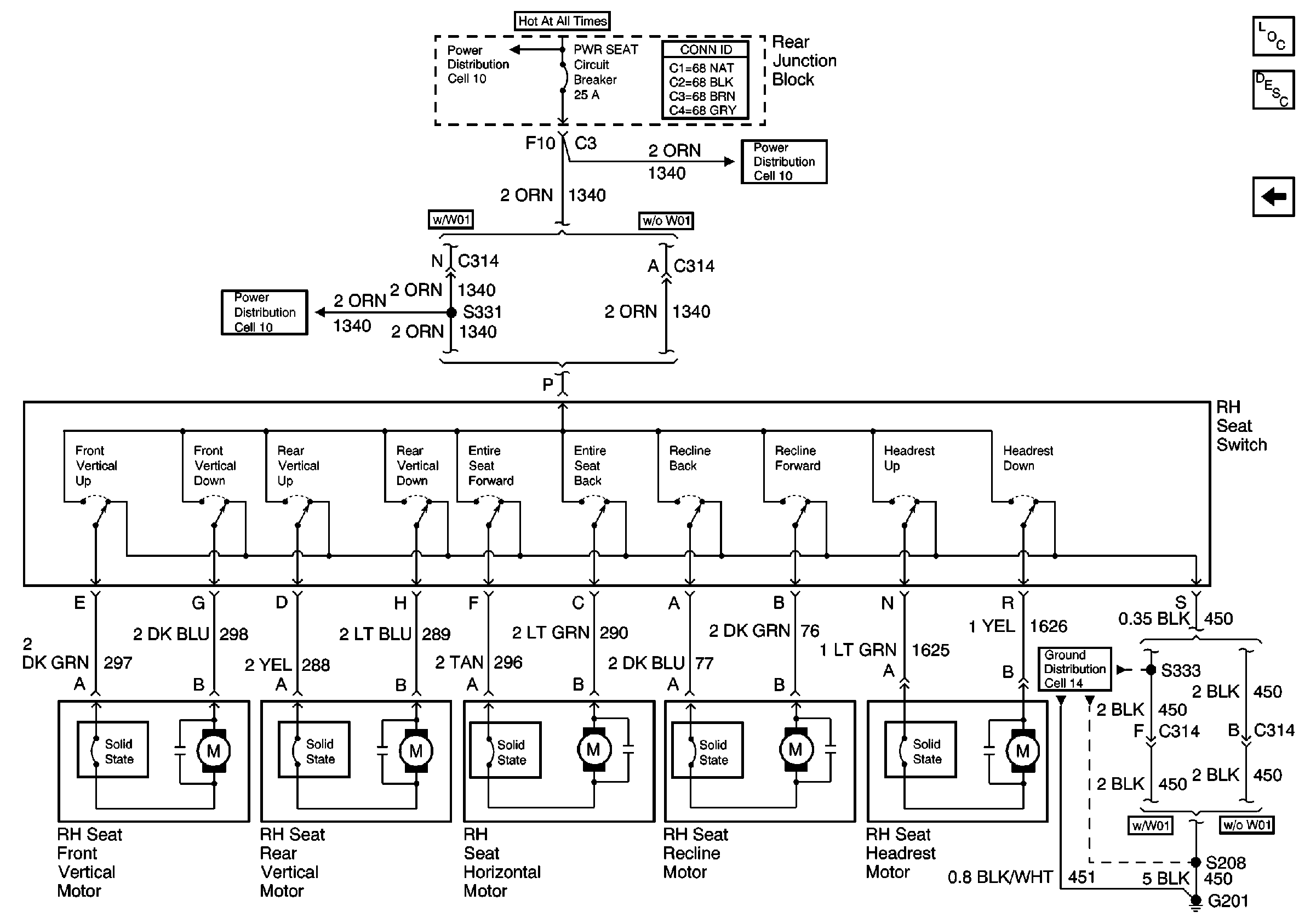
Cell 140: Right Power Seat
Figure
2:
Cell 140: Right Power Seat
Power Distribution Schematics
Power Distribution Schematics
Power and Grounding Connector End Views
Ground Distribution Schematics
Power Distribution Schematics
Cell 140: Left Power Seat (w/o A43)
Power Seats Circuit Description
Power Seat Systems Components