GM Service Manual Online
For 1990-2009 cars only
Makes
🢒
Buick
🢒
1998
🢒
Park Avenue
🢒 Cell 20: Engine Controls - PCM 4T65-E Automatic Transaxle Controls (Sensors)
Cell 20: Engine Controls - PCM 4T65-E Automatic Transaxle Controls (Sensors)
Cell 20: Engine Controls -- PCM 4T65-E Automatic Transaxle Controls (Sensors)
Engine Controls Components
Powertrain Control Module Description
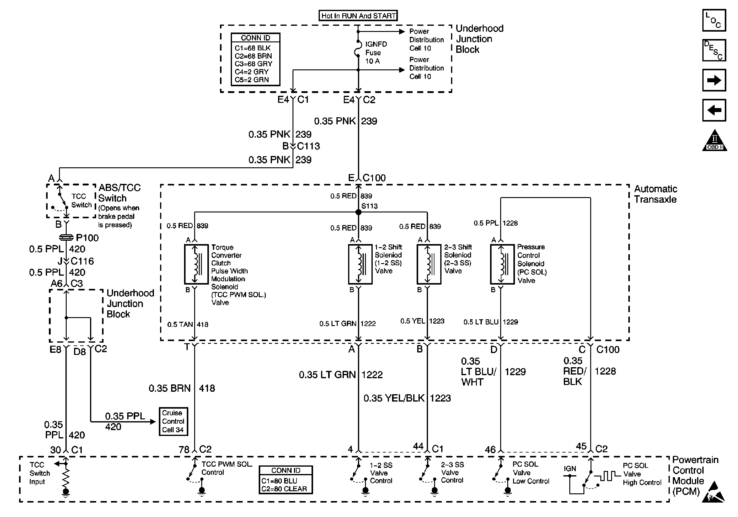
Cell 20: Engine Controls - PCM ABS/TCC Switch and 4T65-EAutomatic Transaxle Controls (Solenoids)
Cell 20: Engine Controls - PCM PNP Switch and Starter Enable Control
OBD II Symbol Description Notice
Handling ESD Sensitive Parts Notice
Power Distribution Schematics
Power Distribution Schematics