GM Service Manual Online
For 1990-2009 cars only
Makes
🢒
Buick
🢒
1998
🢒
Park Avenue
🢒 Cell 45
Cell 45
Cell 45
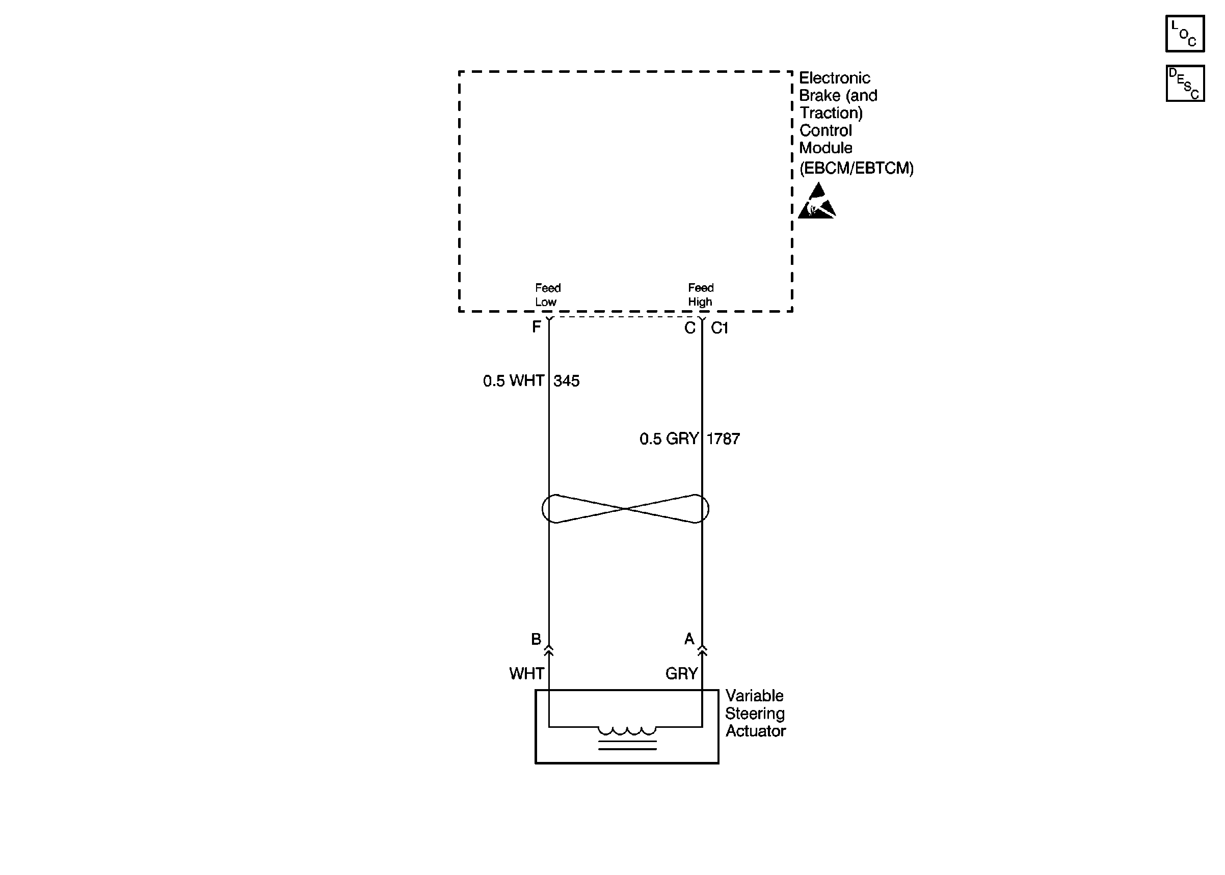
Steering Controls Components
Variable Effort Steering Description
Handling ESD Sensitive Parts Notice