GM Service Manual Online
For 1990-2009 cars only

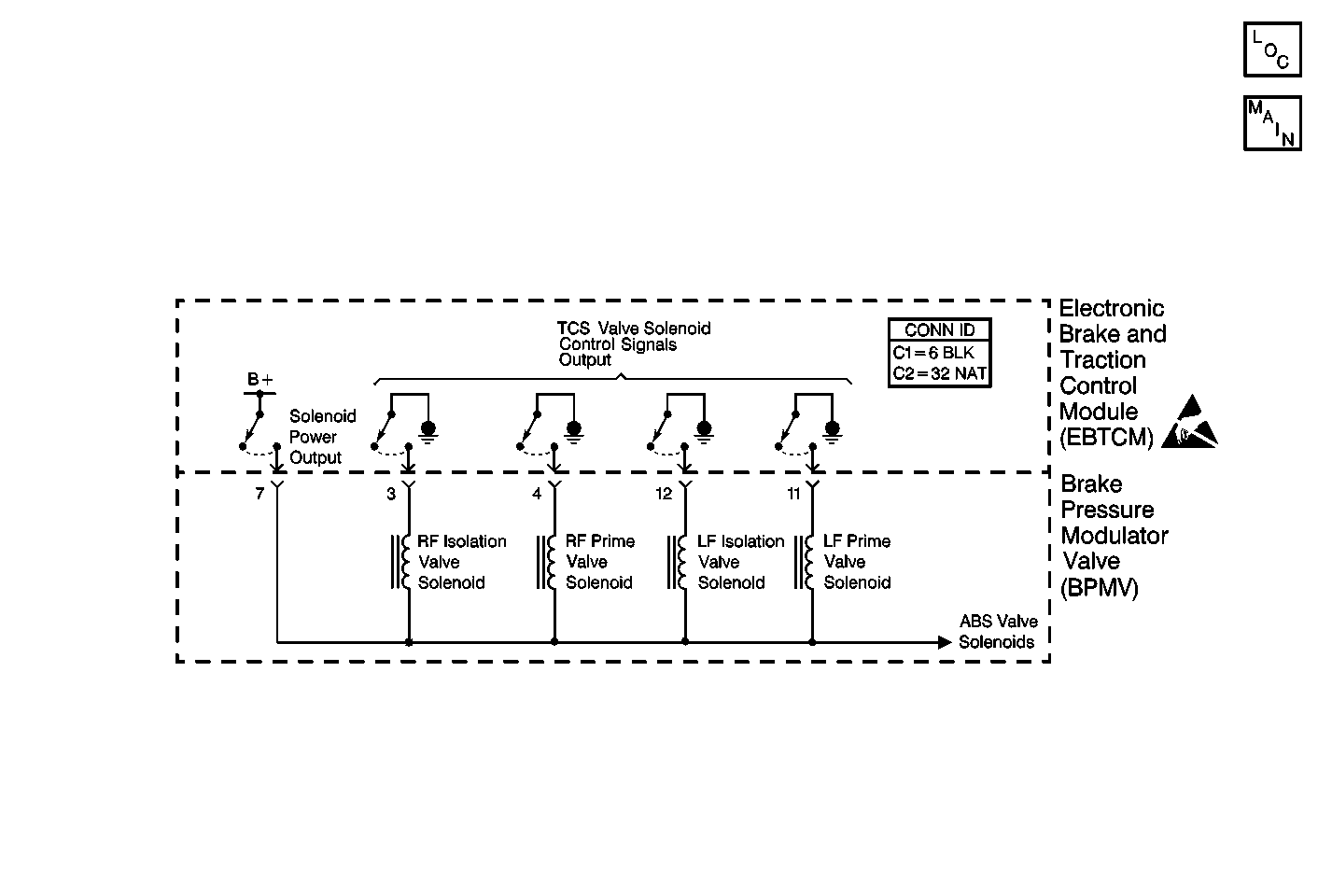
Object Number: 397527  Size: MF
ABS Components
Cell 44: Power, Ground, EBCM/EBTCM, BPMV Motor and Solenoids
Handling ESD Sensitive Parts Notice
Cell 44: Power, Ground, EBCM/EBTCM, BPMV Motor and Solenoids

Circuit Description

The Master Cylinder Isolation valve solenoid circuits are supplied with battery power when the ignition is in the RUN position. The EBTCM controls the valve functions by grounding the circuit when necessary.

Conditions for Setting the DTC

The EBTCM senses a discrepancy such as an open, short to ground, or short to voltage in the circuit.

Action Taken When the DTC Sets

A malfunction DTC is stored, ABS/TCS is disabled and the ABS and TRACTION OFF Indicators are turned on.

Conditions for Clearing the DTC

    • The condition for the DTC is no longer present and you used the scan tool Clear DTC function.
    • The EBCM/EBTCM does not detect the DTC in 50 drive cycles.

Diagnostic Aids

Make sure the integrity of the connection between the EBTCM and the BPMV is secure, tight, and free from corrosion.

Test Description

The numbers below refer to step numbers on the diagnostic table.

  1. Checks the resistance value of the solenoid.

  2. Checks for a short to ground in the BPMV.

  3. Checks for an internal short to voltage.

DTC C1271 LF TCS Master Cylinder Isolation Valve Malfunction

Step

Action

Value(s)

Yes

No

1

Was the ABS Diagnostic System Check performed?

--

Go to Step  2

Go to Diagnostic System Check

2

  1. Turn the ignition switch to the OFF position.
  2. Disconnect the EBTCM connector.
  3. Remove the EBTCM from the BPMV.
  4. Inspect the EBTCM to BPMV connector for conditions which could cause intermittents such as damage, corrosion, or poor terminal contact.

Are internal connectors OK and cavity free of brake fluid?

--

Go to Step  3

Go to Step  6

3

  1. Install the J 41247 BPMV pinout box to the BPMV connector.
  2. Using the J 39200 DMM, measure the resistance between the J 41247 terminals 12 and 7.

Is the resistance within the specified range?

8-12ohms

Go to Step  4

Go to Step  8

4

Using the J 39200 DMM, measure the resistance between the J 41247 terminal 12 and the BPMV case.

Is the resistance equal to the specified value?

OL (infinite)

Go to Step  5

Go to Step  8

5

  1. Remove the J 41247 .
  2. Reinstall the EBTCM to BPMV.
  3. Reconnect the EBTCM connector.
  4. Turn the ignition switch to the RUN position, engine off.

Does DTC C1271 reset as a current DTC?

--

Go to Step  9

Go to Step  7

6

  1. If connector corrosion or damage are present, replace BPMV and/or EBTCM as necessary.
  2. If brake fluid is present, replace both the BPMV and EBTCM. Refer to Electronic Brake Control Module Replacement or Brake Pressure Modulator Valve Replacement .

Is the repair complete?

--

Go to Diagnostic System Check

--

7

Using a scan tool in ABS/TCS Special Functions run the AUTOMATED Test.

Does DTC C1271 reset as a current DTC?

--

Go to Step  8

Go to Diagnostic System Check

8

Replace the BPMV. Refer to Brake Pressure Modulator Valve Replacement .

Is the replacement complete?

--

Go to Diagnostic System Check

--

9

Replace the EBTCM. Refer to Electronic Brake Control Module Replacement .

Is the replacement complete?

--

Go to Diagnostic System Check

--