GM Service Manual Online
For 1990-2009 cars only

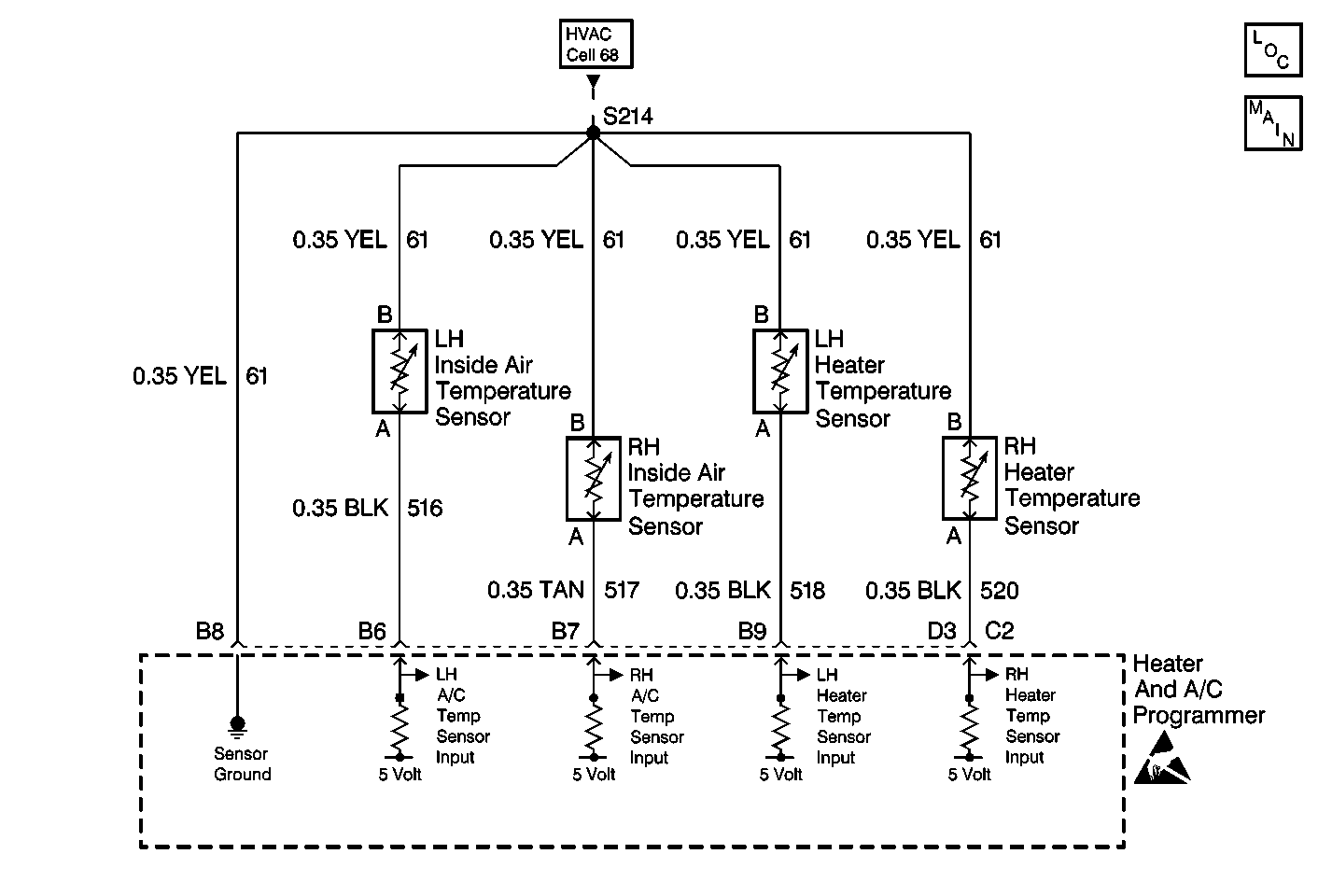
Object Number: 452107  Size: MF
HVAC Components
HVAC Air Delivery/Temperature Control Schematics
Cell 68: Temperature Sensors
Handling ESD Sensitive Parts Notice

Circuit Description

The right heater temperature sensor is a thermistor that controls signal voltage to the heater and A/C programmer. The heater and A/C programmer supplies voltage on CKT 520. When the sensor is cold, the resistance is high and the heater and A/C programmer senses a high signal voltage at terminal B9, connector C2. When the sensor warms, resistance is reduced and the signal voltage is pulled low through CKT 61. Signal voltage varies from 5 V (open circuit) to 0 V (short circuit).

Conditions for Setting the DTC

    • The ignition is on.
    • The circuit is open or shorted.

Action Taken When the DTC Sets

    • A default value of 128 counts and 24 degrees C (75 degrees F) will be used by the heater and A/C programmer.
    • The default value allows the system to operate.
    • If the air delivery is heater, defog, or defrost, the air mix two door will cycle between full hot and full cold.

Conditions for Clearing the DTC

    • Use a Scan Tool .
    • A history DTC will clear after 50 consecutive ignition cycles have occurred without a malfunction.
    • Battery voltage to the body control module is interrupted.

Test Description

The numbers below refer to the step numbers on the diagnostic table.

  1. Perform the Body Control Module (BCM) Diagnostic System Check before continuing with the diagnosis of this DTC.

  2. This step ensures that the DTC was not set in error.

  3. This step determines whether the cause of the malfunction is the sensor or an open/short in a circuit.

  4. The Scan Tool tests for proper sensor operation. Clear all of the DTCs after the repair procedures are complete.

Step

Action

Value(s)

Yes

No

1

Did you perform the BCM Diagnostic System Check?

--

Go to Step 2

Go to Diagnostic System Check - Body Control System in Body Control System

2

  1. Turn the ignition on.
  2. Disconnect the sensor.
  3. Measure the voltage between the sensor harness connector A and connector B. Refer to Measuring Voltage in Wiring Systems.

Is the specified voltage measured?

4.5-5.5 V

Go to Step 3

Go to Step 6

3

  1. Turn the ignition off.
  2. Reconnect the sensor.
  3. Connect a Scan Tool .
  4. Turn the ignition on.
  5. Use the Scan Tool in order to clear the DTC.
  6. Start the engine.

Did the DTC reset?

--

Go to Step 4

Go to Intermittents and Poor Connections

4

  1. Select Heater and A/C programmer open/short data on the Scan Tool .
  2. Display the right heater temperature data.
  3. Start the engine.
  4. Unplug the right heater temperature sensor.
  5. When the right heater temperature voltage increases to 5 V, reconnect the right heater temperature sensor connector.

Did the right heater temperature sensor voltage decrease?

--

Go to Step 5

Go to Step 6

5

Replace the sensor. Refer to Heater Temperature Sensor Replacement .

Is the repair complete?

--

Go to Step 9

--

6

Inspect CKT 61 (YEL) for an open or short.

Was an open or short condition located?

--

Go to Step 8

Go to Step 7

7

  1. Inspect CKT 520 (BLK) for an open or short.
  2. If CKT 520 is OK, replace the heater and A/C programmer. Refer to Programmer Replacement .

Is the repair complete?

--

Go to Step 9

--

8

Repair an open or a short in CKT 61 (YEL). Refer to Wiring Repairs in Wiring Systems.

Is the repair complete?

--

Go to Step 9

--

9

Use the Scan Tool in order to clear all of the DTCs.

Confirm proper operation of the A/C system.

Is the A/C system operating properly?

--

Go to Diagnostic System Check - Body Control System in Body Control System

--