GM Service Manual Online
For 1990-2009 cars only

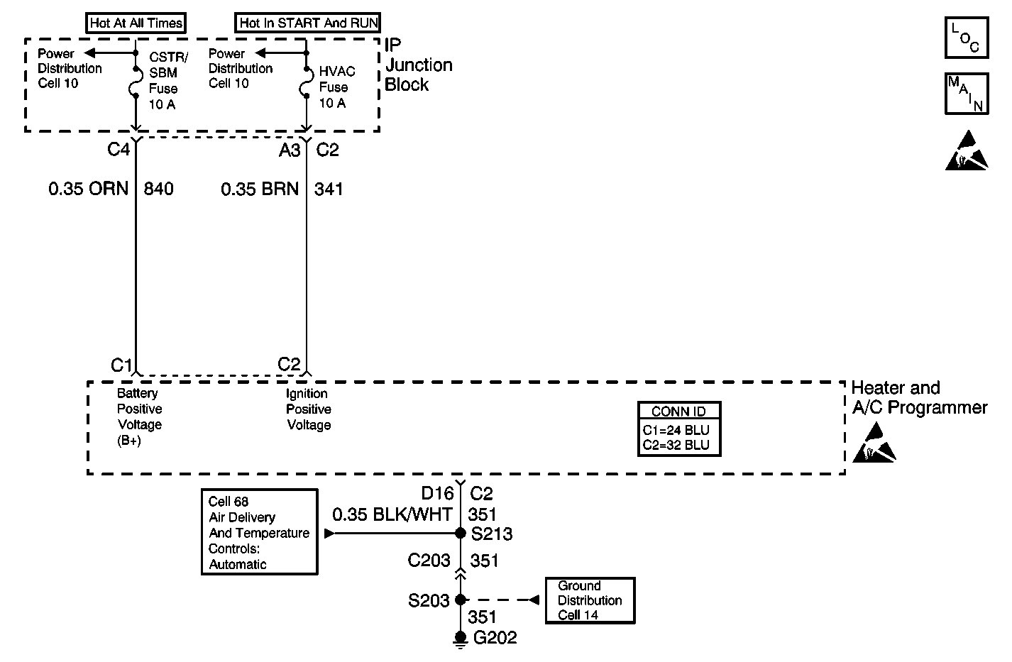
Object Number: 452118  Size: MF
HVAC Components
Cell 68: IP Junction Block
HVAC Air Delivery/Temperature Control Schematics
Handling ESD Sensitive Parts Notice
Handling ESD Sensitive Parts Notice
Cell 10: BATT 1, RDM, C/LTR, DDM, HTDST L, TRK REL, PDM, SBM, and CSTR/SBM FuseS
Cell 10: WSW, WSW/RFA, HUD, ELC, CR CONT, A/C and HVAC Fuses
HVAC Connector End Views
Cell 14: G202 (4 of 4)

Circuit Description

The module contains a data storage area which can save pertinent data when the ignition is turned off. The Keep Alive Memory (KAM) data is lost if battery power is removed from the module. The KAM area is an integral part of the microprocessor and cannot be serviced separately.

Conditions for Setting the DTC

DTC B1652 indicates that the keep alive, or long-term, memory in the module has been reset. This is a normal occurrence whenever power or ground is removed from the module, such as when the battery is disconnected and reconnected.

Action Taken When the DTC Sets

The module memory resets to initial values.

Conditions for Clearing the DTC

    • This DTC requires an ignition cycle in order to change from current to history.
    • The DTC clears if the module no longer detects a KAM failure (check sum error).
    • A history DTC will clear after 50 consecutive ignition cycles have occurred without a malfunction.
    • The DTC may be cleared using a Scan Tool

Diagnostic Aids

If DTC B1652 sets without a battery disconnect, ensure that good terminal contacts exist at the power feed CKT 840 (ORN) at connector C1 and ground CKT 341 (BRN) at connector C2. If the power and the ground are OK, replace the heater and A/C programmer.

Test Description

  1. This step ensures that the DTC was not set in error.

Step

Action

Value(s)

Yes

No

1

Was the battery disconnected or recently discharged?

--

Go to Step 2

Go to Step 2

2

Use the Scan Tool in order to clear DTC B1652.

Does DTC B1652 reset when cleared?

--

Go to Step 3

Go to Step 4

3

Inspect CKT 840 (ORN) for an intermittent condition.

Did you find an intermittent condition?

--

Go to Step 5

Go to Step 4

4

  1. Inspect the heater and A/C programmer connector for proper contact. Refer to Intermittents and Poor Connections .
  2. If the contact is OK, replace the heater and A/C programmer. Refer to Programmer Replacement .

Is the repair complete?

--

System OK

--

5

Repair an intermittent short or an open in CKT 840 (ORN). Refer to Wiring Repairs in Wiring Systems.

Is the repair complete?

--

System OK

--