GM Service Manual Online
For 1990-2009 cars only

Object Number: 313521  Size: MF
Instrument Cluster and HUD Components
Cell 81: Brake, Fuel, Oil, Cruise, Volt and Airbag Indicators

Circuit Description

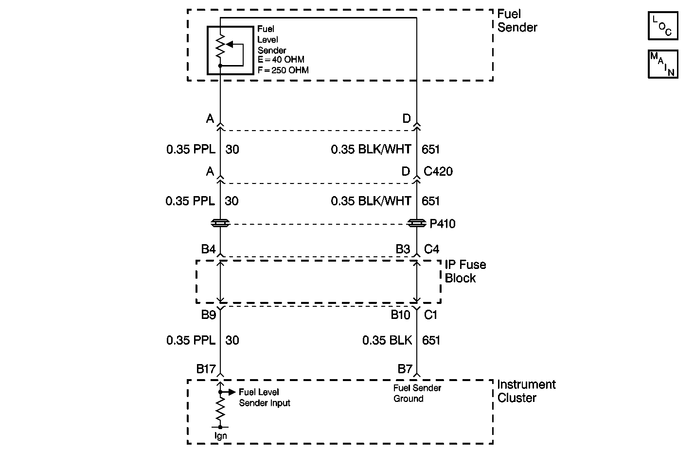
The instrument cluster monitors the fuel level directly from the fuel level sender on a discrete input. The fuel level sender has a resistance range from 40 ohms (below E) to 250 ohms (above F). The instrument cluster filters the raw fuel level data in order to display the data on the gauge. The instrument cluster has 2 filter modes.

One filter mode is a slow (heavy) filter. The vehicle uses the slow filter when the vehicle is not in PARK . The slow filter prevents fuel slosh from affecting the fuel gauge display.

The second filter mode is a fast (light) filter. The vehicle uses the fast filter when the vehicle is in PARK. The fast filter allows the fuel gauge display to respond quickly whenever the vehicle is refueling.

The instrument cluster also sends raw fuel level data to the PCM through the class 2 serial data line.

Conditions for Setting the DTC

DTC B0530 sets when the instrument cluster detects that the fuel level sender has not moved up or down one liter for 100 miles.

Action Taken When the DTC Sets

When the DTC B0530 sets, the following events occur:

    • The set current moving through the instrument cluster moves the fuel gauge pointer to the lowest position below E.
    • The instrument cluster does not illuminate the low fuel LED indicator.
    • The instrument cluster sends a class 2 message to the PCM indicating the condition.

Diagnostic Aids

  1. Connect a scan tool.
  2. Test for other DTCs.
  3. Compare diagnostics.
  4. If no other DTCs are set, inspect the fuel tank unit for a stuck fuel level sender.