GM Service Manual Online
For 1990-2009 cars only

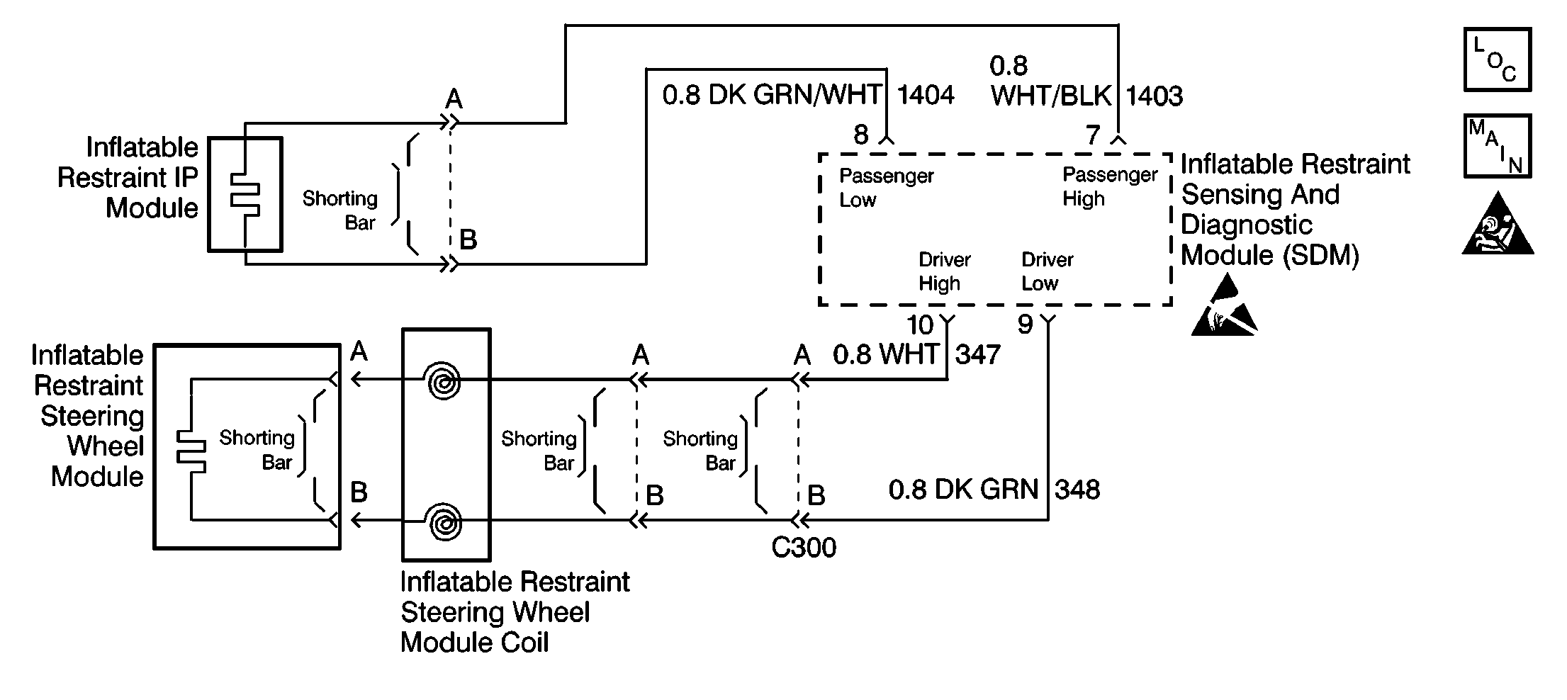
Object Number: 205551  Size: SF
SIR Schematic References
SIR Component Views
SIR Caution
Handling ESD Sensitive Parts Notice

Circuit Description

When you first turn the ignition switch to the RUN position, the inflatable restraint Sensing and Diagnostic Module (SDM) performs tests to diagnose critical malfunctions within itself. Upon passing these tests Ignition Positive Voltage, 23VLR and the deployment loop voltages are measured to make sure they are within their respective normal voltage ranges. The SDM monitors the voltages at DRIVER LOW terminal 9 and PASSENGER LOW terminal 8 to detect shorts to ground in the inflator module circuits.

Conditions for Setting the DTC

    • The driver and passenger deployment loops are not open.
    • The voltage at DRIVER LOW terminal 9 OR PASSENGER LOW terminal 8 is less than 2.2 volts for 500 milliseconds.

The following tests check for this DTC. These tests occur when Ignition Positive Voltage is within the normal operating voltage range.

    • POWER-ON - When the malfunction is detected in this test, the RESISTANCE MEASUREMENT test will not be performed.
    • CONTINUOUS MONITORING

Action Taken When the DTC Sets

    • The SDM sets a diagnostic trouble code.
    • The SDM commands the Instrument Panel Cluster (IPC) to turn ON the AIR BAG warning lamp.

Conditions for Clearing the MIL/DTC

The DTC will clear when one of the following conditions is met:

    • Current DTC
        The voltage measured at DRIVER LOW and PASSENGER LOW is above 2.2 volts for 500 milliseconds or the ignition switch is cycled.
    • History DTC
       - You issue a scan tool CLEAR CODES command.
       - Once 250 malfunction free ignition cycles have occurred.

When you issue a scan tool CLEAR CODES command and the malfunction is still present, the DTC will not reappear until the next ignition cycle.

Diagnostic Aids

A short-to-ground in the inflatable restraint steering wheel module circuit or the passenger inflator module circuit can cause an intermittent condition. Moving wires while monitoring DRIVER SENSELO and PASSENGER SENSELO may help to locate the fault. Inspect CKT 347, CKT 348, 1403, and 1404 carefully for cutting or chafing. The diagnostic table directs the technician to note the entry value of DRIVER SENSELO and PASSENGER SENSELO. Noting the value of DRIVER SENSELO and PASSENGER SENSELO during diagnosis can be helpful in determining if an intermittent condition exists. An intermittent open in the inflatable restraint steering wheel module coil could also set this DTC. To test for a bad inflatable restraint steering wheel module coil, monitor DRIVER SENSELO while you turn the steering wheel back and forth with the ignition switch in the RUN position. If DRIVER SENSELO changes while you are turning the steering wheel, it is likely the inflatable restraint steering wheel module coil is malfunctioning.

When measurements are requested in this table, use the J 39200 DMM with the correct terminal adapter from the J 35616 Connector Test Adapter Kit. When an inspection for proper connection is requested, refer to Testing for Electrical Intermittents in Wiring Systems. When a wire, connector or terminal repair is requested, use the J-38125 Terminal Repair Kit and refer to Wiring Repairs in Wiring Systems.

Test Description

The numbers below refer to the step numbers on the diagnostic table:

  1. This test determines the DRIVER LOW voltage measured by the inflatable restraint Sensing and Diagnostic Module (SDM) and if the malfunction is occurring now.

  2. This test isolates the malfunction to one side of the inflatable restraint steering wheel module coil yellow 2-way connector.

  3. This test determines whether the malfunction is due to the inflatable restraint steering wheel module or the module coil.

  4. This test determines whether the malfunction is in CKT 347.

  5. This test determines whether the malfunction is in CKT 348.

  6. This test isolates the malfunction to one side of the inflatable restraint IP module, yellow 2-way connector.

  7. This test determines whether the malfunction is in CKT 1403.

  8. This test determines whether the malfunction is in CKT 1404.

DTC B1124 Driver Or Passenger Deployment Loop Short to Ground

Step

Action

Value(s)

Yes

No

1

Was the SIR Diagnostic System Check performed?

--

Go to Step 2

Go to SIR Diagnostic System Check

2

  1. Turn the ignition switch to the OFF position.
  2. Connect a scan tool to the DLC.
  3. Turn the ignition switch to the RUN position.
  4. Request the SIR data list display.
  5. Read and record on the repair order the driver frontal low voltage DRIVER SENSELO.

Is DRIVER SENSELO less than the specified value?

2.2 V

Go to Step 3

Go to Step 17

3

  1. Turn the ignition switch to the OFF position.
  2. Disconnect the inflatable restraint steering wheel module, yellow 2-way connector located near the base of the steering column. Leave the inflatable restraint IP module connected.
  3. Connect the J 38715-A to the inflatable restraint steering wheel module harness connector.
  4. Turn the ignition switch to the RUN position.
  5. Using the scan tool, request the SIR data List display and read the driver frontal low voltage DRIVER SENSELO.

Is DRIVER SENSELO less than the specified value?

2.2 V

Go to Step 7

Go to Step 4

4

  1. Turn the ignition switch to the OFF position.
  2. Remove the inflatable restraint steering wheel module. Refer to Steering.
  3. Disconnect the J 38715-A from the driver 2-way harness connector.
  4. Connect the driver 2-way connector.
  5. Connect the J 38715-A to the upper inflatable restraint steering wheel module coil connector on the steering column.
  6. Turn the ignition switch to the RUN position.
  7. Using the scan tool, request the SIR data list display.
  8. Read the driver side low voltage DRIVER SENSELO.

Is DRIVER SENSELO less than the specified value?

2.2V

Go to Step 6

Go to Step 5

5

  1. Turn the ignition switch to the OFF position
  2. Replace the inflatable restraint steering wheel module. Refer to Steering.

Are the repairs complete?

--

Go to Step 18

--

6

  1. Turn the ignition switch to the OFF position.
  2. Remove the inflatable restraint steering wheel module coil. Refer to Steering.
  3. Inspect the coil and the wires for damage.
  4. Replace the inflatable restraint steering wheel module coil. Refer to Steering.

Are the repairs complete?

--

Go to Step 18

--

7

  1. Turn the ignition switch to the OFF position.
  2. Disconnect the inflatable restraint IP module, yellow 2-way connector located above the RH sound insulator.
  3. Disconnect the inflatable restraint Sensing and Diagnostic Module (SDM).
  4. Disconnect the J 38715-A .
  5. Measure the resistance on the SDM harness connector from terminal 10 to terminal 18 (ground).

Is the resistance reading less than the specified value?

OL

Go to Step 8

Go to Step 9

8

Repair a short-to-ground condition in CKT 347.

Are the repairs complete?

--

Go to Step 18

--

9

Measure the resistance on the SDM harness connector from terminal 9 to terminal 18 (ground).

Is the resistance reading less than the specified value?

OL

Go to Step 10

Go to Step 11

10

Repair a short-to-ground condition in CKT 348.

Are the repairs complete?

--

Go to Step 18

--

11

  1. Turn the ignition switch to the OFF position.
  2. Disconnect the inflatabIe restraint IP module yellow 2-way connector above the RH sound insulator. Leave the inflatable restraint steering wheel module connected.
  3. Connect the J 38715-A to the IP module harness connector.
  4. Turn the ignition switch to the RUN position.
  5. Using the scan tool, request the SIR data list display.
  6. Read the passenger low voltage PASS. SENSELO.

Is PASS. SENSELO less than the specified value?

2.2 V

Go to Step 13

Go to Step 12

12

  1. Turn the ignition switch to the OFF position.
  2. Inspect the inflatable restraint IP module pigtail for damage and proper routing.
  3. Replace the inflatable restraint IP module. Refer to Inflatable Restraint Instrument Panel Module Replacement .

Are the repairs complete?

--

Go to Step 18

--

13

  1. Turn the ignition switch to the OFF position.
  2. Disconnect the inflatable restraint IP module, yellow 2-way connector located above the RH sound insulator.
  3. Disconnect the inflatable restraint Sensing and Diagnostic Module (SDM).
  4. Disconnect the J 38715-A .
  5. Measure the resistance on the SDM harness connector from terminal 8 to terminal 18 (ground).

Is the resistance less than the specified value?

OL

Go to Step 14

Go to Step 15

14

Repair a short-to-ground condition in CKT 1404.

Are the repairs complete?

--

Go to Step 18

--

15

Measure the resistance on the SDM harness connector from terminal 7 to terminal 18 (ground).

Is the resistance less than the specified value?

OL

Go to Step 16

Go to Sensing and Diagnostic Module Integrity Check

16

Repair a short-to-ground condition in CKT 1403.

Are the repairs complete?

--

Go to Step 18

--

17

  1. An intermittent short-to-ground condition caused DTC B1124 to set. Do not clear DTC B1124 (history or current) until the intermittent short to ground is found and repaired.
  2. Turn the ignition switch to OFF.
  3. Disable the SIR System.
  4. Remove the inflatable restraint steering wheel module. Refer to Steering.
  5. Connect the J 38715-A to the upper inflatable restraint steering wheel module coil connector on the steering column.
  6. Connect the J 38715-A to the inflatable restraint IP module connector.
  7. Connect the driver yellow 2-way connector at the base of the steering column.
  8. Turn the ignition switch to the RUN position.
  9. Use the Diagnostic Aids for DTC B1124 and the DTC B1124 table to find the intermittent short to ground.

Has the intermittent short to ground been found and repaired?

--

Go to Step 18

--

18

  1. Reconnect all the SIR system components, make sure all the components are properly mounted.
  2. Turn the ignition switch to the RUN position.
  3. Make sure that DRIVER SENSELO and PASS. SENSELO are more than the specified value.

Have all the SIR components been reconnected and properly mounted?

2.2 V

Go to SIR Diagnostic System Check

--