GM Service Manual Online
For 1990-2009 cars only

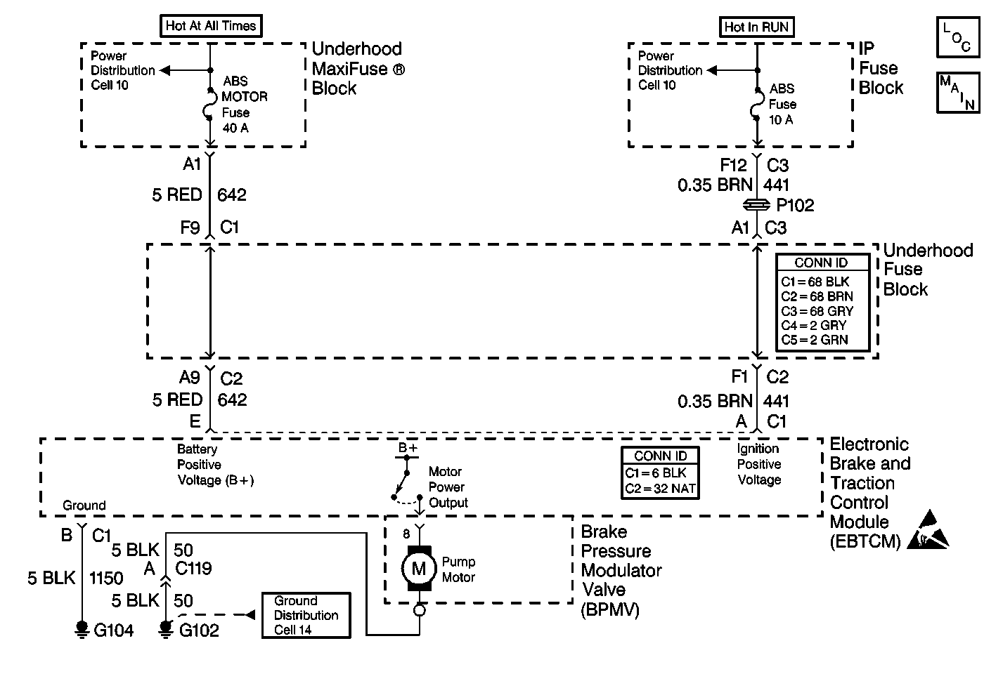
Object Number: 397520  Size: MF
ABS Components
Cell 44: Power, Ground, EBCM/EBTCM, BPMV Motor and Solenoids
Cell 10: Battery Power Circuits to Fuse Blocks (1 of 2)
Cell 14: G100, G101, G102 and G103
Handling ESD Sensitive Parts Notice
Cell 10: IGN SEN, ABS, RR DEFOG and AUXOT LT Fuses

Circuit Description

The BPMV pump motor ground is supplied through the stud on the pump motor to ground.

Conditions for Setting the DTC

The pump relay is commanded off and the pump motor ground CKT 50 resistance is greater than 6900 ohms.

Action Taken When the DTC Sets

    • A DTC C1242 is stored
    • The ABS/TCS is disabled
    • The ABS and the TRACTION OFF indicators are turned on

Conditions for Clearing the DTC

    • The condition for the DTC is no longer present and you used the scan tool Clear DTC function.
    • The EBCM/EBTCM does not detect the DTC in 50 drive cycles.

Diagnostic Aids

    • Thoroughly inspect the wiring and the connectors. Failure to carefully and fully inspect the wiring and the connectors can result in misdiagnosis. Misdiagnosis may cause replacement of parts without repairing the malfunction.
    • The following conditions may cause an intermittent malfunction:
       - Poor connections
       - Broken insulation
       - A broken wire inside the insulation
    • If an intermittent malfunction exists, refer to Testing for Electrical Intermittents in Wiring Systems.

Test Description

The numbers below refer to the step numbers on the diagnostic table.

  1. This step checks for a good pump motor ground.

  2. This step checks for proper pump motor resistance.

DTC C1242 BPMV Pump Motor Ground Circuit Open

Step

Action

Value(s)

Yes

No

1

Was the ABS Diagnostic System Check performed?

--

Go to Step 2

Go to Diagnostic System Check

2

  1. Turn the ignition switch to the OFF position.
  2. Using the J 39200 DMM, measure the resistance between the motor ground stud and a good chassis ground.

Is the resistance less than the specified value?

2 ohms

Go to Step 3

Go to Step 8

3

  1. Disconnect the EBCM/EBTCM connector.
  2. Remove the EBCM/EBTCM from the BPMV.
  3. Inspect the EBCM/EBTCM to BPMV connector for any of the following conditions:
  4. • Damage
    • Corrosion
    • Poor terminal contact
    • The presence of brake fluid

Is the connector free of the previous conditions?

--

Go to Step 4

Go to Step  5

4

  1. Install the J 41247 to the BPMV connector.
  2. Using the J 39200 DMM, measure the resistance between the BPMV internal connector terminal 8 and the motor ground stud.

Is the resistance within specifications?

0.2 -10.0 ohms

Go to Step 6

Go to Step 7

5

  1. If corrosion or connector damage is evident, replace the BPMV or the EBCM/EBTCM as necessary.
  2. If brake fluid is present, replace the BPMV and the EBCM/EBTCM.

Refer to Electronic Brake Control Module Replacement or Brake Pressure Modulator Valve Replacement .

Is the replacement complete?

--

Go to Diagnostic System Check

--

6

Replace the EBCM/EBTCM. Refer to Electronic Brake Control Module Replacement .

Is the replacement complete?

--

Go to Diagnostic System Check

--

7

Replace the BPMV. Refer to Brake Pressure Modulator Valve Replacement .

Is the replacement complete?

--

Go to Diagnostic System Check

--

8

Repair the open or high resistance in CKT 50. Refer to Wiring Repairs in Wiring Systems.

Is the circuit repair complete?

--

Go to Diagnostic System Check

--