GM Service Manual Online
For 1990-2009 cars only
Makes
🢒
Buick
🢒
1999
🢒
Park Avenue
🢒
Body and Accessories
🢒
Entertainment
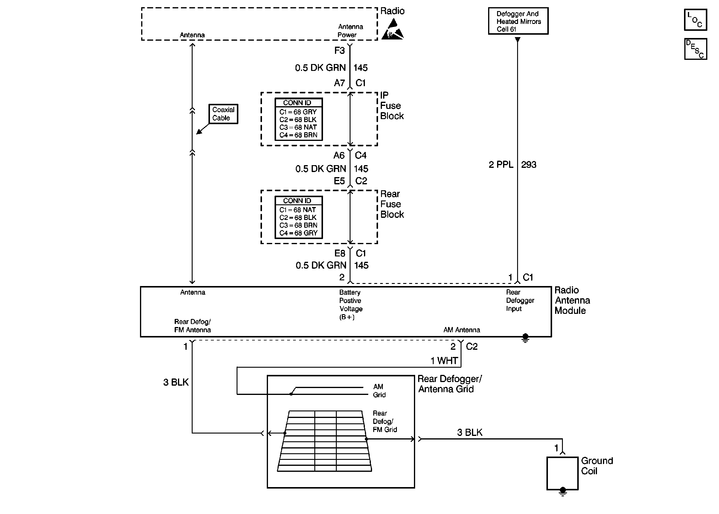
🢒 Power Antenna Schematics
Cell 150
Entertainment Components
Steering Wheel Controls System Circuit Description
Defogger Schematics
Entertainment Connector End Views
Entertainment Connector End Views
Handling ESD Sensitive Parts Notice