GM Service Manual Online
For 1990-2009 cars only
Makes
🢒
Buick
🢒
1999
🢒
Park Avenue
🢒
Body and Accessories
🢒
Seats
🢒 Power Seats Schematics
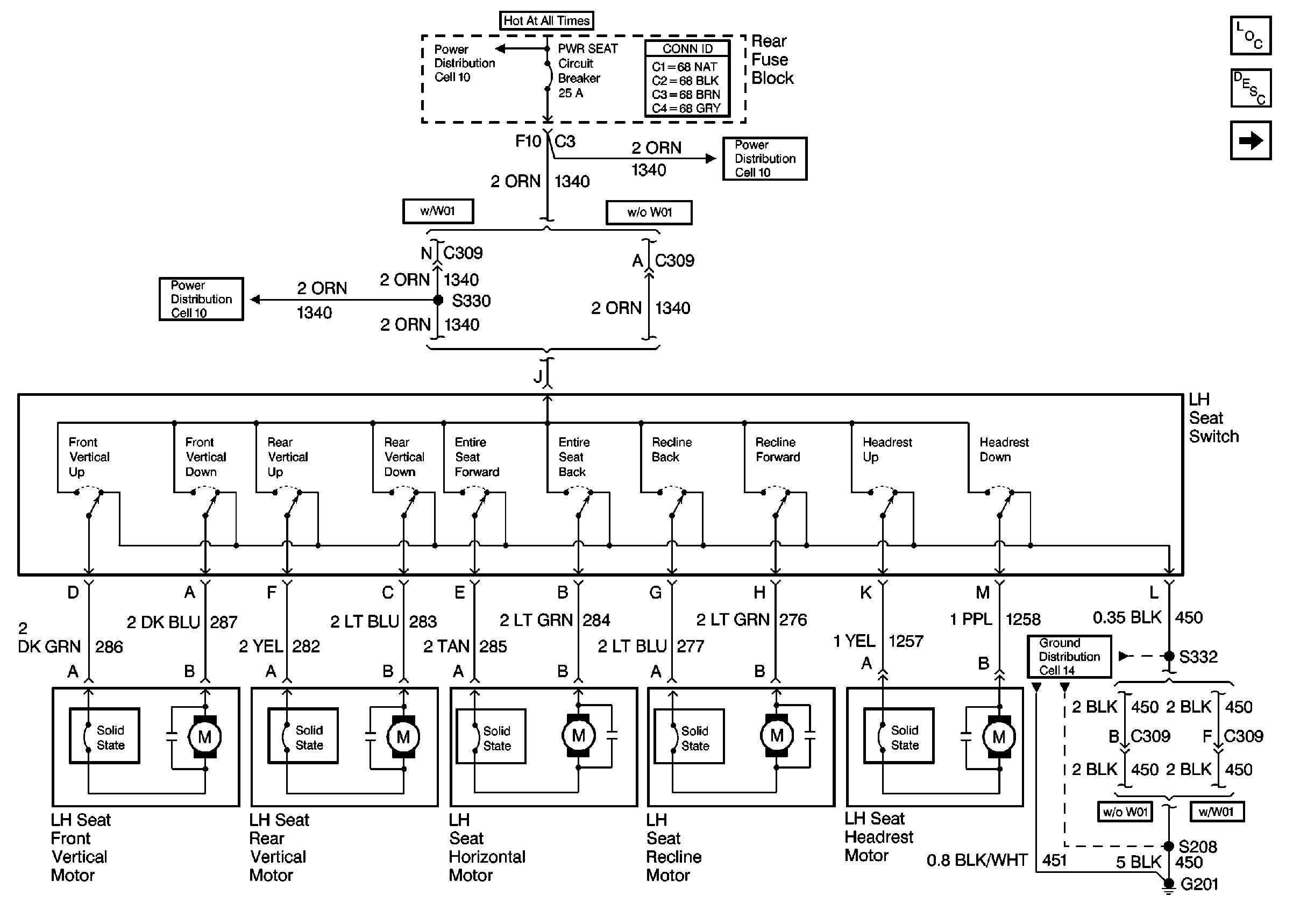
Figure
1:
Cell 140: LH Power Seat (w/o A43)
Power Seat Systems Components
Power Seats Circuit Description
Cell 140: RH Power Seat
Power and Grounding Connector End Views
Power Distribution Schematics
Power Distribution Schematics
Power Distribution Schematics
Ground Distribution Schematics
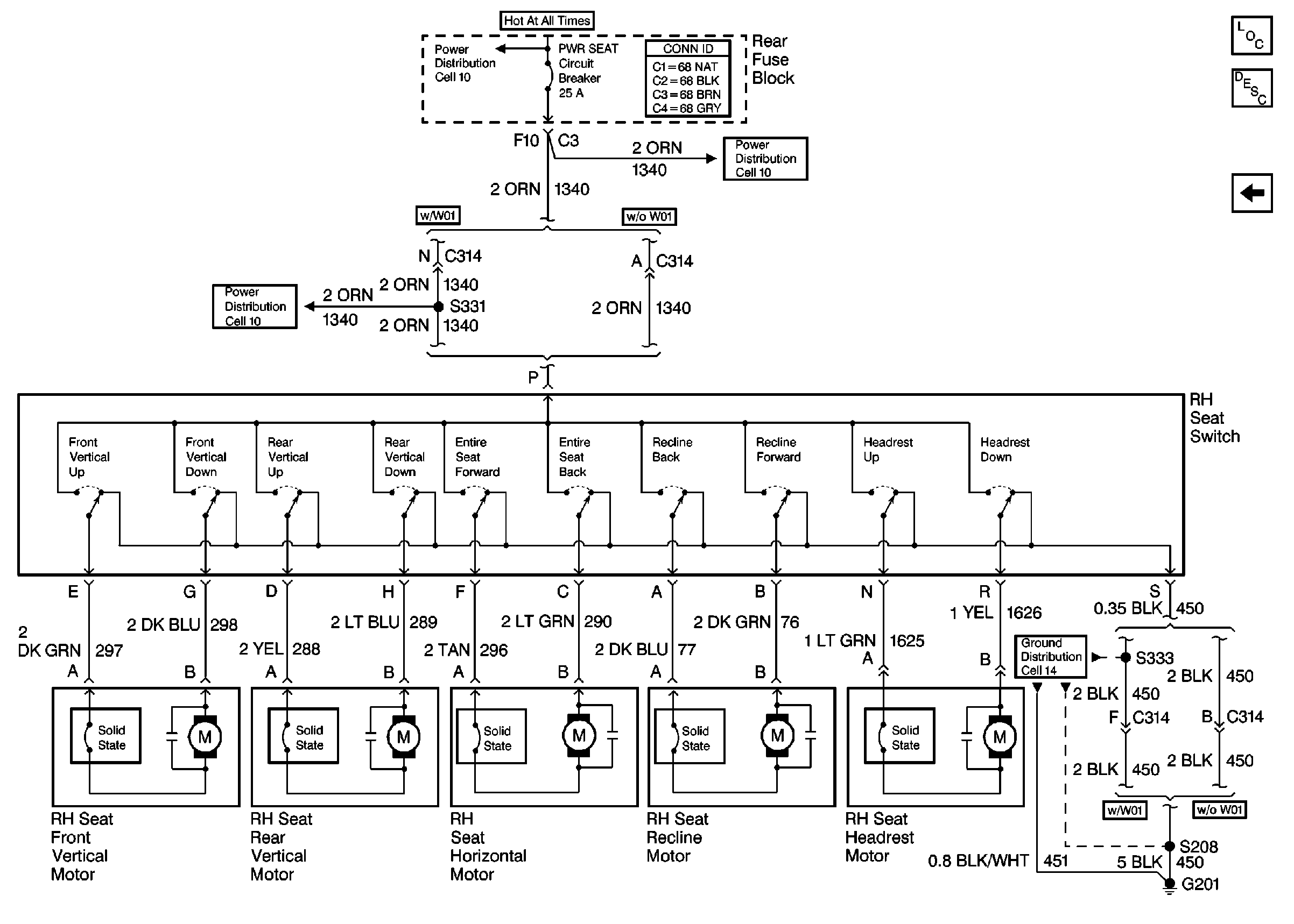
Figure
2:
Cell 140: RH Power Seat
Power Seat Systems Components
Power Seats Circuit Description
Cell 140: LH Power Seat (w/o A43)
Power Distribution Schematics
Power Distribution Schematics
Power Distribution Schematics
Power and Grounding Connector End Views
Ground Distribution Schematics