GM Service Manual Online
For 1990-2009 cars only

Object Number: 324030  Size: MF
Power Door Systems Components
Cell 130: Left Front Power Door Components
Handling ESD Sensitive Parts Notice
Handling ESD Sensitive Parts Notice
Cell 14: G202 (CKT 350)

Circuit Description

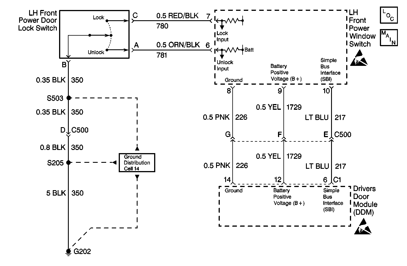
The LH front power door lock switch feeds switch signals to the LH Front power window switch over CKT 780 (RED/BLK) and CKT 781 (ORN/BLK). The LH front power window switch converts the switch inputs to serial digital data and broadcasts the message out on the simple bus interface. The simple bus interface, CKT 217 (LT BLU), provides a communications path from the driver' s door switch to the driver's door module (DDM). The DDM contains the following two types of software:

    • Switch message decoding software
    • Simple bus interface diagnostic software

The software enables the DDM to accept messages from the door switch and test the interface between the two components.

Conditions for Setting the DTC

    • If either of the switch inputs for LOCK or UNLOCK remain closed continuously for 30 seconds, DTC B2220 sets.
    • DTCs B1982 (Battery Voltage High) and B1983 (Battery Voltage Low) must not be current or the diagnostic will not run.

Action Taken when the DTC Sets

The switch actuation will be ignored until the switch leaves the low state change of the lock switch input. The manual door lock levers and key locks will still function normally.

Conditions for Clearing the MIL/DTC

    • This DTC will be set from current to history when the LOCK input cycles off or when the power mode changes from OFF to RUN.
    • The history DTC will clear after 50 ignition cycles.
    • Use a scan tool in order to clear the history DTC.

Diagnostic Aids

The scan tool can be selected to monitor DDM inputs and set outputs as well as view DTCs. The scan tool may also used to select remote function actuator (RFA) inputs, outputs and options.

Test Description

The number(s) below refer to the step number(s) on the diagnostic table.

  1. Perform the Power Door Diagnostic System Check prior to Diagnosing DTC B2220

  2. This step checks for the RH Front Power Door Lock Switch failing mechanically

  3. This test step checks for inputs to the DDM.

  1. This test step tests the LH Front Power Door Lock Switch

  1. This test step tests circuit 780 for a short to ground

B2220 LF Door Lock/Unlock Switch Stuck in Lock

Step

Action

Value(s)

Yes

No

1

Has the Power Door Diagnostic System Check been performed?

--

Go to Step  2

Go to Diagnostic System Check - Power Door Systems

2

Is the LH Front Power Door Lock Switch mechanically stuck in the lock or unlock position?

--

Go to Step  5

Go to Step  3

3

  1. Turn the ignition ON
  2. Install the Scan Tool Tech 2 Scan Tool Diagnostics
  3. Go to DDM inputs.

Does the LH Front Door Lock Switch display lock or unlock?

--

Go to Step  4

Go to Step  6

4

  1. Disconnect the LH front power door lock switch.
  2. Connect a digital multimeter (DMM) across the LH front power door lock switch terminals A and B.
  3. Move the door lock switch to the unlock position.

  4. Connect a DMM across the LH front power door lock switch terminals B and C.
  5. Move the door lock switch to the lock position.

Does the resistance measure within the specified range?

0-5 ohms

Go to Step  7

Go to Step  5

5

Replace the LH Front Power Door Lock Switch. Refer to Door Lock Switch Replacement .

Is the repair complete?

--

Go to step 10

--

6

Replace the DDM. Refer to Front Door Module Replacement .

Is the repair complete?

--

Go to step 10

--

7

Test CKT 780 RED/BLK for a short to ground.

Is the circuit OK?

--

Go to Step  9

Go to Step  8

8

Repair the short to ground in CKT 780 RED/BLK. Refer to Wiring Repairs in Wiring Systems.

Is the repair complete?

--

Go to Step 10

--

9

Replace the LH Front Power window Switch. Refer to Front Side Door Window Switch Replacement .

Is the repair complete?

--

Go to Step 10

--

10

  1. Turn OFF the ignition.
  2. Reconnect or install any connectors or components that were disconnected or removed.
  3. Turn ON the ignition.
  4. Clear any DTCs.

Are all the DTCs cleared?

--

Go to Diagnostic System Check - Power Door Systems

--