GM Service Manual Online
For 1990-2009 cars only

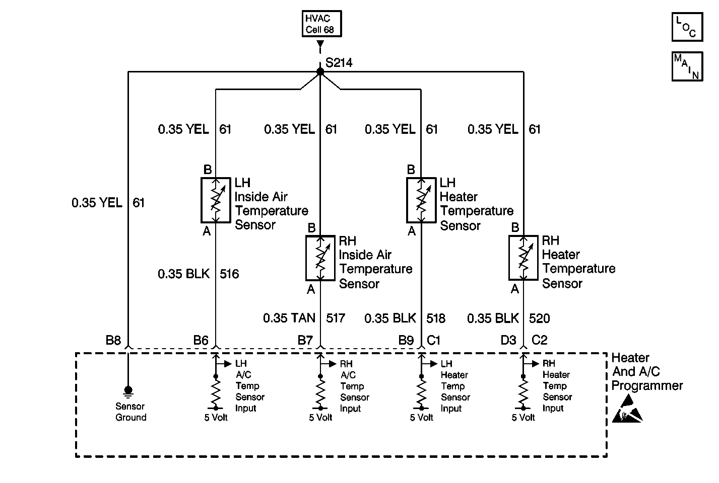
Object Number: 246921  Size: MF
HVAC Components
Cell 68: Temperature Sensors
HVAC Air Delivery/Temperature Control Schematics
Handling ESD Sensitive Parts Notice

Circuit Description

The right heater temperature sensor is a thermistor that controls signal voltage to the HVAC Control Module (HCM). The HCM supplies voltage on circuit 520. When the sensor is cold, the resistance is high and the HCM will sense a high signal voltage at terminal B9, connector C2. When the sensor warms, resistance is reduced and the signal voltage is pulled low through circuit 61. Signal voltage will vary from 5 V (open circuit) to 0 V (short circuit).

Conditions for Setting the DTC

    • The ignition is ON.
    • Circuit open or short.

Action Taken When the DTC Sets

    • A default value of 128 counts and 24°C (75°F) will be used by the HCM.
    • The default value allows the system to operate.
    • If the air delivery is heater, defog or defrost the air mix two door will cycle between full hot and full cold.

Conditions for Clearing the DTC

    • Using a Scan Tool .
    • A history DTC will clear after 50 fault free ignition cycles.
    • HCM battery voltage is interrupted.

Test Description

The numbers below refer to the step numbers on the diagnostic table.

  1. Perform the Body Control Module (BCM) diagnostic system check before continuing with the diagnosis of this DTC.

  2. Ensures that the DTC was not set in error.

  3. Determines whether the cause of the malfunction is the sensor or an open/short in a circuit.

  4. The Scan Tool checks for proper sensor operation. Clear all the DTCs after the repair procedures are complete.

Step

Action

Value(s)

Yes

No

1

Was the BCM diagnostic system check performed?

--

Go to Step 2

Go to Diagnostic System Check - Body Control System

2

  1. Turn the ignition ON.
  2. Disconnect the sensor.
  3. Measure the voltage between sensor harness connectors A and B.

Refer to Measuring Voltage in Wiring Systems.

Is the specified voltage measured?

4.5-5.5 V

Go to Step 3

Go to Step 6

3

  1. Turn the ignition OFF.
  2. Reconnect the sensor.
  3. Connect the Scan Tool .
  4. Turn the ignition ON.
  5. Use a Scan Tool to clear the DTC.
  6. Start the engine.

Did the DTC reset?

--

Go to Step 4

Refer to Intermittents and Poor Connections

4

  1. Select HCM open/short data with the Scan Tool .
  2. Display RH heater temperature data.
  3. Start the engine.
  4. Unplug the RH heater temperature sensor.
  5. When the RH heater temperature voltage increases to 5 V, reconnect the RH heater temperature sensor connector.

Did the RH heater temperature sensor voltage decrease?

--

Go to Step 5

Go to Step 6

5

Replace the sensor. Refer to Heater Temperature Sensor Replacement .

Is the replacement complete?

--

Go to Step 9

--

6

Inspect CKT 61 (YEL) for an open or short.

Was an open or short condition located?

--

Go to Step 8

Go to Step 7

7

  1. Inspect CKT 520 (TAN) for an open or short. Refer to Wiring Repairs in Wiring Systems.
  2. If OK, replace the HCM. Refer to Programmer Replacement

Is the replacement complete?

--

Go to Step 9

--

8

Repair an open or short in CKT 61 (YEL).

Refer to Wiring Repairs in Wiring Systems.

Is the repair complete?

--

Go to Step 9

--

9

Using the Scan Tool clear all the DTCs.

Confirm proper operation of the A/C system.

Is the A/C system operating normally?

--

Go to Diagnostic System Check - Body Control System

--