GM Service Manual Online
For 1990-2009 cars only

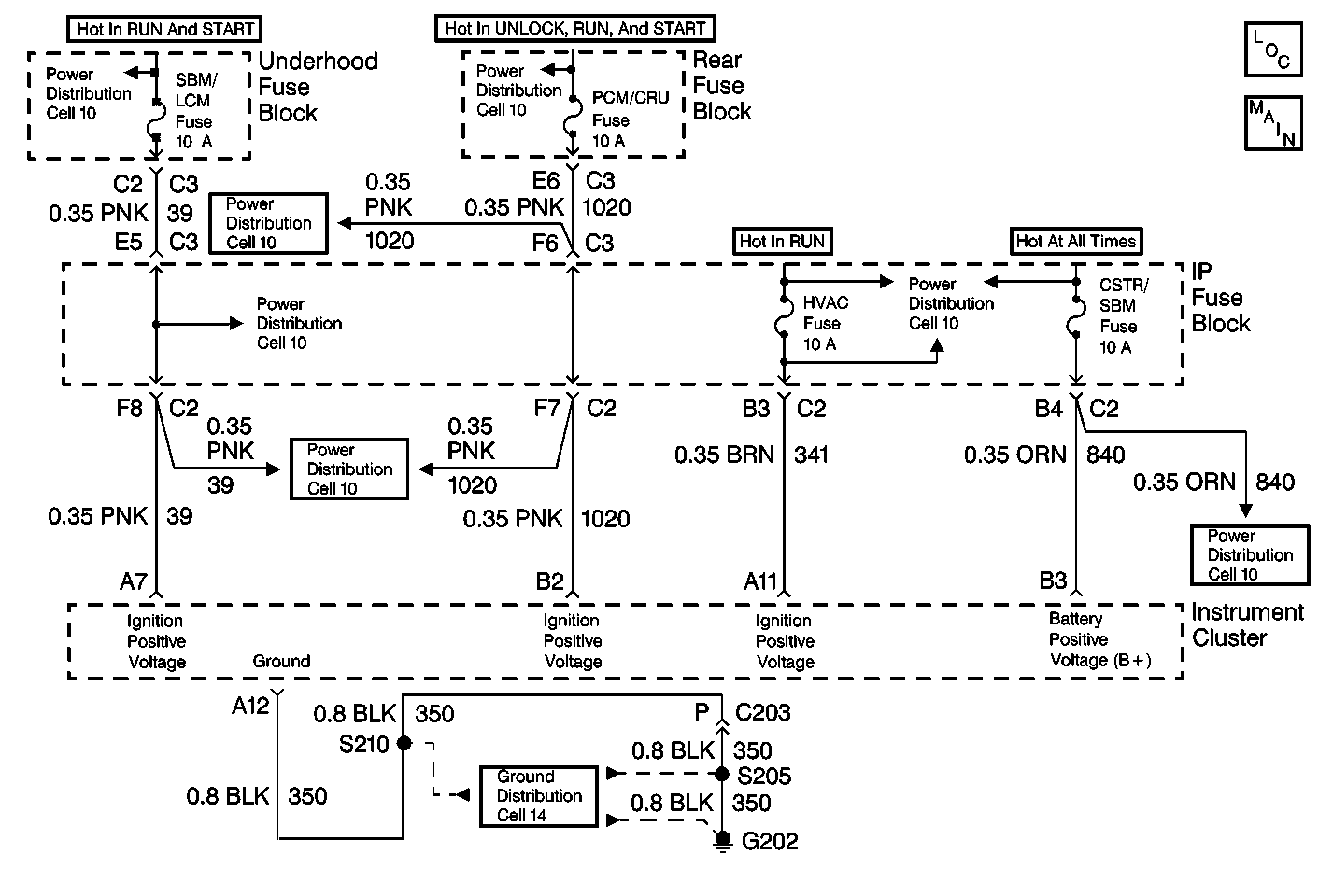
Object Number: 313536  Size: MF
Instrument Cluster and HUD Components
Cell 81: Power Distribution
Power Distribution Schematics
Power Distribution Schematics
Power Distribution Schematics
Power Distribution Schematics
Power Distribution Schematics
Power Distribution Schematics
Power Distribution Schematics
Ground Distribution Schematics

Conditions for Setting the DTC

DTC B1983 sets when the instrument cluster detects that the battery source voltage is below the normal range (9.5 to 15.5 volts) for more than 1.2 seconds. The instrument cluster battery source voltage is determined from class 2 messages sent by the SBM, through the class 2 serial data line.

Action Taken When the DTC Sets

When DTC B1983 sets current, the instrument cluster displays may temporarily turn off in order to protect the circuit. The following DTC do not set current in order to prevent the setting of erroneous DTC:

    • Class 2 Short to Ground
    • Class 2 Short to Battery
    • Loss of Serial Data.

Diagnostic Aids

  1. Test the SBM for DTC. If DTC B1983 is set as a history DTC, refer to Diagnostic System Check - Body Control System .
  2. Test other modules for the same Battery Voltage Low DTC. If this DTC is set current, refer to Starter and Charging Cell 30 in Electrical Diagnosis.