GM Service Manual Online
For 1990-2009 cars only
Makes
🢒
Buick
🢒
2000
🢒
Park Avenue
🢒
Transmission/Transaxle
🢒
Automatic Transaxle - 4T65-E
🢒 Horn Component Views
Figure
1:
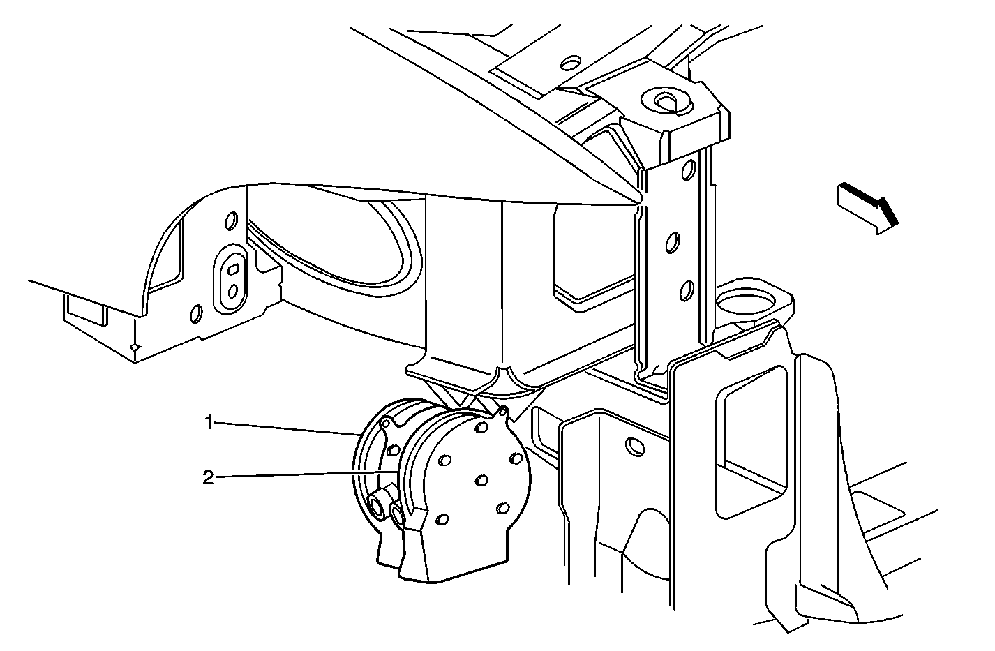
Right Front of the Vehicle, Behind the Headlamp Assembly
(1)
Right Rear Horn
(2)
Right Front Horn
Figure
2:
Left Front of the Vehicle, Behind the Headlamp
(1)
Left Horn