GM Service Manual Online
For 1990-2009 cars only
Figure 1:

Right Front of the Vehicle


Object Number: 317464  Size: MF
(1)C114
(2)S101
Figure 2:

Left Front of the Vehicle


Object Number: 317489  Size: MF
(1)C112
(2)S102
Figure 3:

Left Side of the Engine Compartment


Object Number: 592287  Size: LF
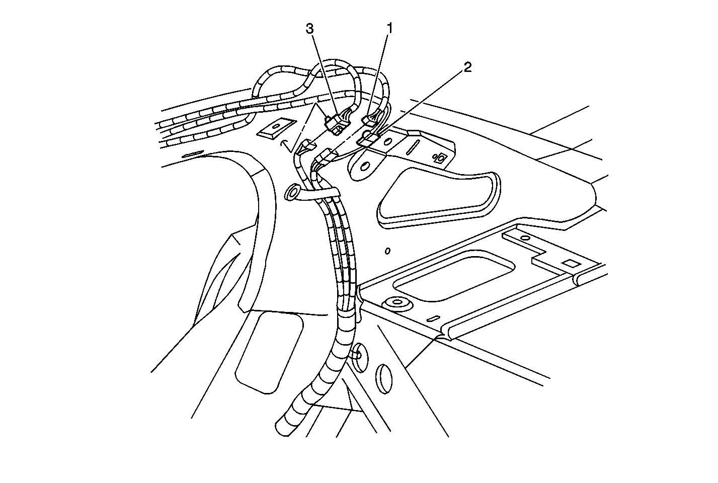
(1)S102
(2)G106
Figure 4:

Engine Compartment, LH Rear


Object Number: 629392  Size: MF
(1)S198
(2)S199
Figure 5:

Engine Compartment, RH Rear


Object Number: 629391  Size: MF
(1)S112
(2)S111
Figure 6:

Engine Compartment, Near the Left Strut Tower


Object Number: 636389  Size: LF
(1)G104
(2)C113
(3)C115
(4)C102
(5)C122
(6)S100
(7)P100
(8)Windshield Washer Pump Motor
(9)Windshield Washer Solvent Level Switch
Figure 7:

Engine Compartment, On the Underside of the Hood


Object Number: 317508  Size: LF
(1)Underhood Lamp
(2)C125
Figure 8:

Right Rear of the Engine Compartment


Object Number: 317518  Size: MF
(1)C117
(2)C116
(3)C101
(4)P102
Figure 9:

Right Front of the Engine


Object Number: 317549  Size: MF
(1)C107
(2)S135
(3)S136
(3)S136
(4)G100
Figure 10:

Lower Front of the Engine


Object Number: 317562  Size: MF
(1)S107 -- A/C (Compressor) Clutch Diode
(2)S106 -- A/C (Compressor) Clutch Diode
Figure 11:

Left Front of the Engine


Object Number: 317567  Size: MF
(1)S108
Figure 12:

Left Rear of the Engine


Object Number: 317573  Size: MF
(1)S115
Figure 13:

Engine Compartment, on the Left Side Above the Transmission


Object Number: 317578  Size: LF
(1)C100
(2)G104
(3)S105
Figure 14:

Lower Right Rear of the Engine


Object Number: 317583  Size: MF
(1)C111
(2)G101
Figure 15:

Under the Left of the Instrument Panel


Object Number: 626643  Size: MF
(1)S218
(2)S200
(3)S201
(4)P100
(5)S219
(6)G202
(7)S206
(8)S205
(9)S203
(10)S202
Figure 16:

Instrument Panel, Behind the Left Side


Object Number: 593567  Size: LF
(1)C206
(2)C207
(3)S210
(4)S209
(5)Inside Air Temperature Sensor
(6)Data Link Connector (DLC)
Figure 17:

Top of the Instrument Panel


Object Number: 317620  Size: MF
(1)C207
Figure 18:

Under the Left of the Instrument Panel


Object Number: 317609  Size: MF
(1)C203
(2)C202
(3)C200
(4)C201
(5)C209
Figure 19:

Behind the Center of the Instrument Panel


Object Number: 317626  Size: MF
(1)S214
(2)S211
(3)S212
(4)S213
Figure 20:

Behind the Right Side of the Instrument Panel


Object Number: 317630  Size: MF
(1)C205
Figure 21:

Behind the Right Side of the Instrument Panel


Object Number: 317636  Size: MF
(1)C204
Figure 22:

Below the Right Side of the Instrument Panel


Object Number: 317639  Size: MF
(1)G201
(2)S207
(3)S208
Figure 23:

Center Front of the Passenger Compartment


Object Number: 317649  Size: MF
(1)C308
Figure 24:

Passenger Compartment, Under the Left Front Seat


Object Number: 317653  Size: MF
(1)S331 (w/ WO1)
(2)S333 (w/ WO1)
Figure 25:

Passenger Compartment, Under the Left Front Seat


Object Number: 593571  Size: LF
(1)S336
(2)S337
(3)S338
(4)S330
(5)S334
(6)S332
(7)S339
(8)Memory Seat Module
Figure 26:

Center Front of the Passenger Compartment


Object Number: 317661  Size: MF
(1)S311
(2)S310
(3)C300
(4)S309
(5)C314
(6)S300
Figure 27:

Left Front Door


Object Number: 317667  Size: LF
(1)S500
(2)S501
(3)S503
(4)S502
(5)C500
(6)LH Front Door Courtesy Lamp
(7)LH Front Power Window Switch (RH Similar)
(8)Outside Rear View Mirror Switch
(9)Memory Seat/Mirror Switch
(10)LH Front Power Door Lock Switch (RH Similar)
Figure 28:

Right Front Door


Object Number: 317672  Size: LF
(1)C602
(2)S602
(3)S601
(4)S600
(5)C601
Figure 29:

Behind the Right Front Door Trim


Object Number: 317676  Size: MF
(1)P600 (Right), P500 (Left)
Figure 30:

Right Rear Door


Object Number: 317680  Size: LF
(1)C800 (Right), C700 (Left)
(2)RH Rear Courtesy Lamp (LH Similar)
(3)RH Rear Door Speaker -- Midrange (LH Similar)
(4)RH Rear Cigar Lighter (LH Similar)
Figure 31:

Rear Door


Object Number: 317685  Size: MF
(1)C801 (Right), C701 (Left)
(2)C304 (Right), C302 (Left)
(3)C303 (Right), C301 (Left)
(4)P800 (Right), P700 (Left)
Figure 32:

Right Sail Panel


Object Number: 317691  Size: MF
(1)C307
(2)C305
(3)C306
Figure 33:

Below the Rear Shelf Trim Panel


Object Number: 317701  Size: MF
(1)C402
(2)C310
Figure 34:

Under the Rear of the Vehicle


Object Number: 593603  Size: LF
(1)Right Rear Wheel Speed Sensor Connector (Left Similar)
(2)C415
(3)Automatic Level Control Sensor Connector
Figure 35:

Rear Compartment, in the Left Rear Corner


Object Number: 317711  Size: LF
(1)S400
(2)G402
(3)P403
(4)P401
(5)LH Rear Side Marker Lamp (RH Similar)
(6)C404
Figure 36:

Right of the Rear Compartment


Object Number: 317719  Size: MF
(1)C405
(2)P402
(3)P410
(4)G400
(5)S401
Figure 37:

Rear of the Vehicle


Object Number: 404017  Size: LF
(1)C404 (Left), C405 (Right)
(2)S402 (Left), S403 (Right)
(3)S404 (Left), S405 (Right)
(4)P404 (Left), P405 (Right)
(5)Left Tail / Stop Lamp (Right Similar)
(6)Left Tail / Signal Lamp (Right Similar)
Figure 38:

Rear Compartment Lid


Object Number: 626596  Size: MF
(1)C401
(2)P406
Figure 39:

Rear Compartment Lid, Behind the Backup Lamp Assembly


Object Number: 317728  Size: MF
(1)S408
(2)S407
(3)P406
(4)S406
(5)S409
(6)C401
Figure 40:

Wheel Well, Right Rear


Object Number: 596754  Size: MF
(1)P410
(2)C420
(3)Fuel Tank Jumper Harness
(4)Body Harness, RH
(5)Automatic Level Control Compressor Connector