GM Service Manual Online
For 1990-2009 cars only
Makes
🢒
Buick
🢒
2000
🢒
Park Avenue
🢒
Restraints
🢒
SIR
🢒 SIR Schematics
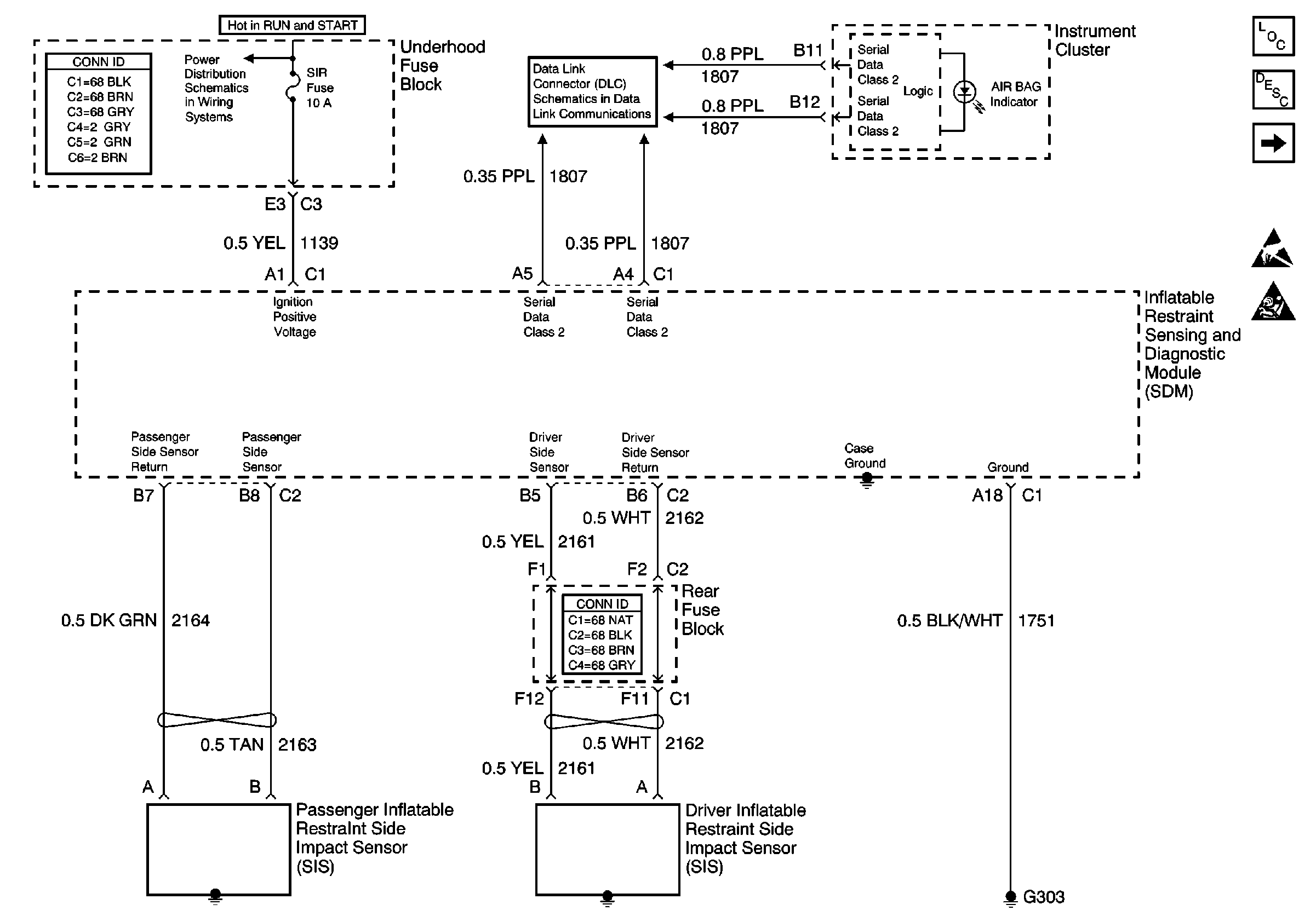
Figure
1:
Power, Ground and Side Impact Sensors
SIR Components
SIR System Component Description and Definitions
SDM and Inflator Modules
Handling ESD Sensitive Parts Notice
SIR Handling Caution
Underhood Fuse Block, PCM, SDM and INJ Fuses
Data Link Connector Schematics
Figure
2:
SDM and Inflator Modules
SIR Components
SIR System Component Description and Definitions
Power, Ground and Side Impact Sensors
Handling ESD Sensitive Parts Notice
SIR Handling Caution
SIR Schematic Icons
SIR Schematic Icons
SIR Schematic Icons
SIR Schematic Icons