GM Service Manual Online
For 1990-2009 cars only
Makes
🢒
Buick
🢒
2000
🢒
Park Avenue
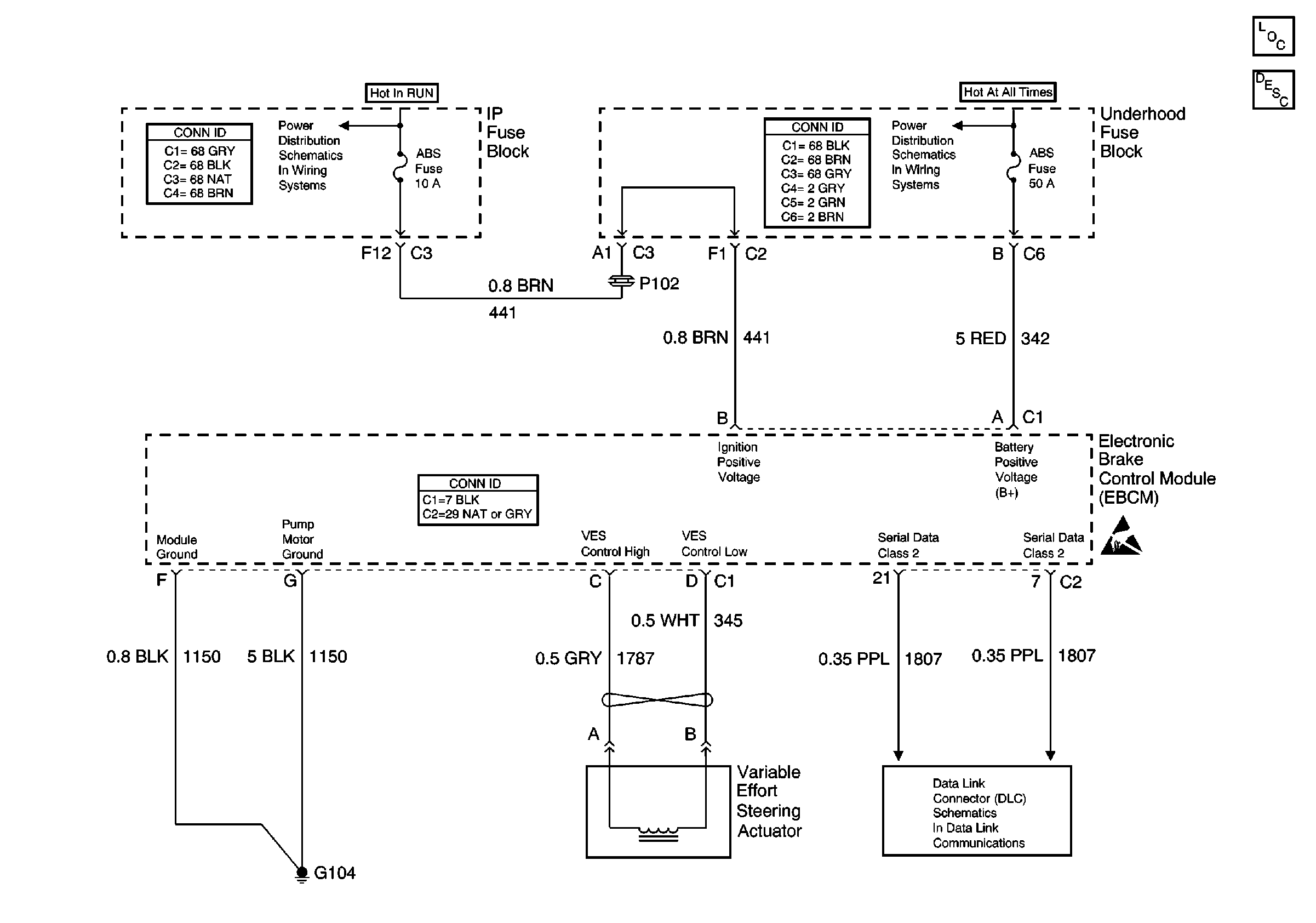
🢒 Steering Controls Schematics
Steering Controls Schematics
Steering Controls Components
Variable Effort Steering Description
Handling ESD Sensitive Parts Notice