GM Service Manual Online
For 1990-2009 cars only
Makes
🢒
Buick
🢒
2000
🢒
Park Avenue
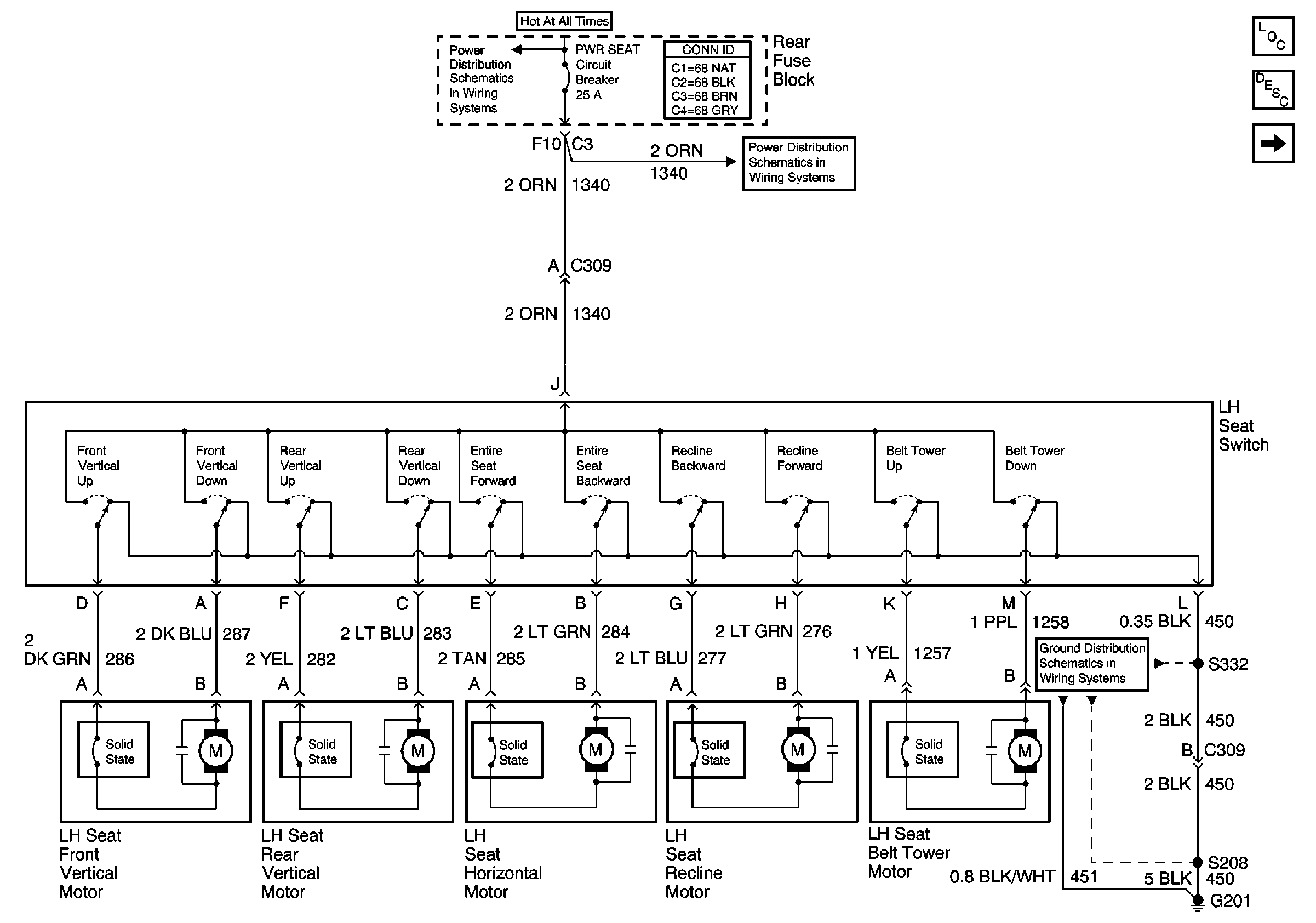
🢒 Power Seat Schematics: LH Power Seat (w/o A45)
Power Seat Schematics: LH Power Seat (w/o A45)
Power Seat Schematics: LH Power Seat (w/o A45)
Power Seat Systems Components
Power Seats Circuit Description
Power Seats Schematics: RH Power Seat
Power Distribution Schematics
Power Distribution Schematics
Power Distribution Schematics
Ground Distribution Schematics