GM Service Manual Online
For 1990-2009 cars only
Makes
🢒
Buick
🢒
2000
🢒
Park Avenue
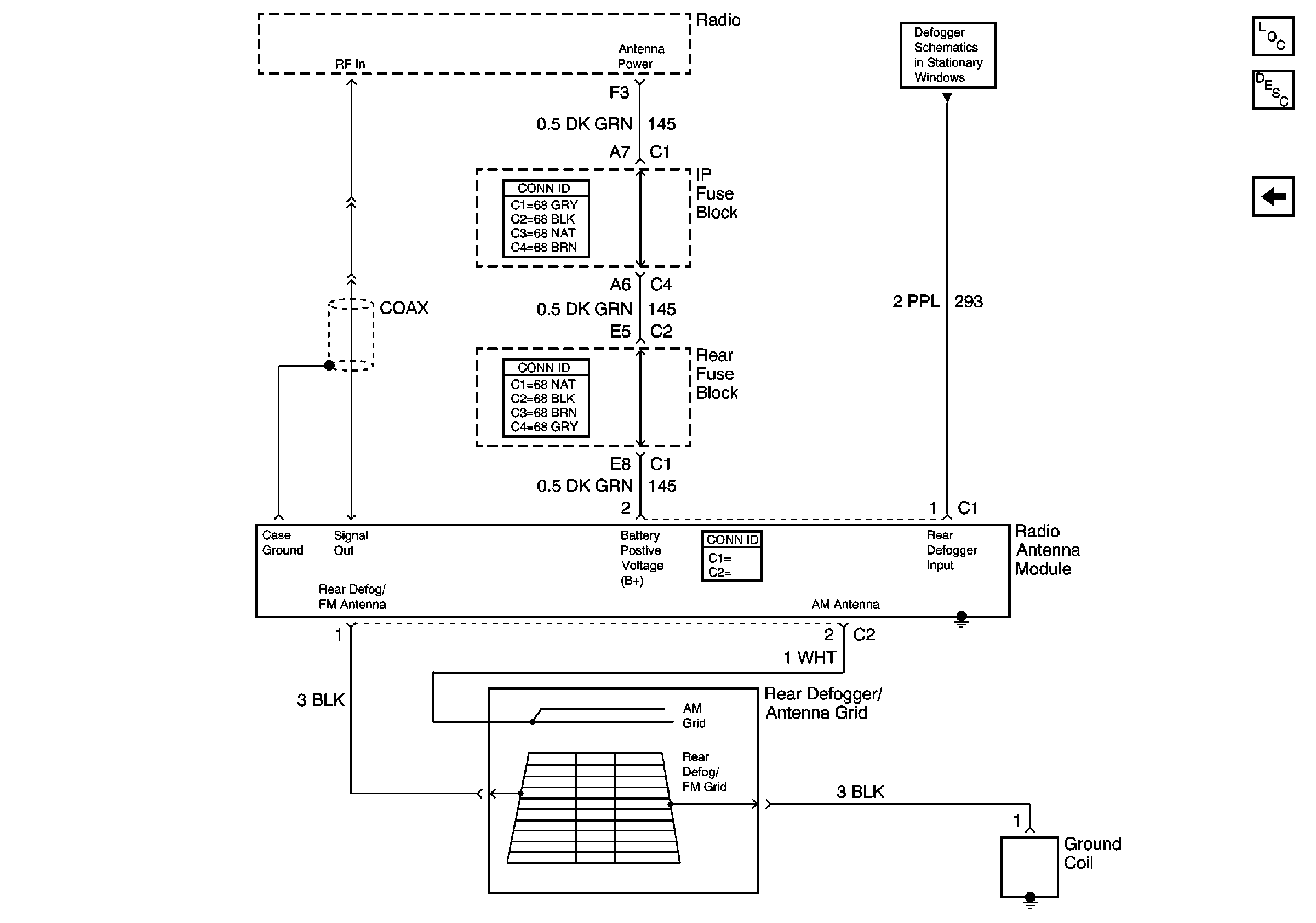
🢒 Antenna Module
Antenna Module
Antenna Module
Entertainment Components
Radio/Audio System Circuit Description
Audio Speaker Output (U99)
00_C Rear Defog Schematic