GM Service Manual Online
For 1990-2009 cars only

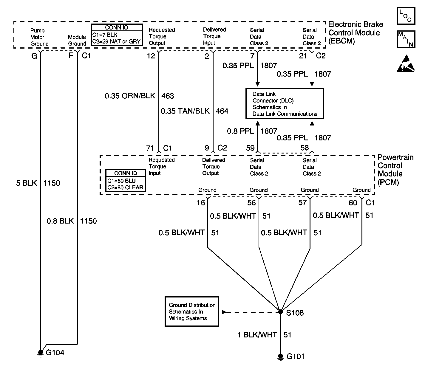
DTC C1276 Delivered Torque Signal Circuit Malfunction w/NW9


Object Number: 538019  Size: LF
ABS Components
Traction Control (w/NW9) and Variable Effort Steering (w/NV8)
Handling ESD Sensitive Parts Notice
Class 2 Serial Data Line
G100, G101, G102, G103

Circuit Description

The EBCM and the PCM simultaneously control the traction control. The PCM sends a Delivered Torque message via a pulse width modulated (PWM) signal to the EBCM. The duty cycle of the signal is used to determine how much engine torque the PCM is delivering. Normal values are between 10 and 90 percent duty cycle. The signal should be at low values (around 10 percent) at idle and higher values under driving conditions. The EBCM supplies the pull up voltage that the PCM switches to ground to create the signal.

Conditions for Running the DTC

The ignition is ON.

Conditions for Setting the DTC

One of the following conditions occurs:

    • The delivered torque PWM signal is less than 5 percent duty cycle or greater than 95 percent duty cycle.
    • The EBCM does not receive a delivered torque PWM signal for a period of 7 seconds.

Action Taken When the DTC Sets

    • The EBCM disables the TCS for the duration of the ignition cycle.
    • The TRAC OFF indicator turns ON.
    • The ABS remains functional.

Conditions for Clearing the DTC

    • The condition for the DTC is no longer present and the DTC is cleared with a scan tool.
    • The electronic brake control module (EBCM) automatically clears the history DTC when a current DTC is not detected in 100 consecutive drive cycles.

Diagnostic Aids

The following conditions can cause this concern:

    • An open in the delivered torque circuit.
    • An short to ground or voltage in the delivered torque circuit.
    • A wiring problem, terminal corrosion, or poor connection in the delivered torque circuit.
    • A communication frequency problem.
    • A communication duty cycle problem.
    • The EBCM is not receiving information from the PCM.
    • Loose or corroded EBCM ground or PCM ground.

Test Description

The numbers below refer to the step numbers on the diagnostic table.

  1. This step uses the scan tool to determine whether the delivered torque signal has a valid duty cycle.

  2. This step measures whether the delivered torque signal has a valid duty cycle.

  3. This step measures whether the delivered torque signal has a valid frequency.

Step

Action

Value(s)

Yes

No

1

Did you perform the ABS Diagnostic System Check?

--

Go to Step 2

Go to Diagnostic System Check - ABS

2

Inspect the EBCM ground and PCM ground, making sure each ground is clean and torqued to the proper specification. Refer to Circuit Testing and Wiring Repairs in Wiring Systems.

Did you find and correct the condition?

--

Go to Step 13

Go to Step 3

3

  1. Install a scan tool.
  2. Start the engine.
  3. With a scan tool, observe the Delivered Torque parameter in the DRP/ABS/TCS/TIM data list.

Does the scan tool display within the specified range?

5-95%

Go to Testing for Intermittent Conditions and Poor Connections in Wiring Systems

Go to Step 4

4

  1. Turn OFF the ignition.
  2. Important: If equipped with TIM, removing battery voltage or ground from the EBCM will result in the following conditions.

       • Loss of the TIM learned tire inflation configuration parameters
       • Set DTC C1245 Low Tire Pressure Detected
    When the diagnosis is complete, inspect the tire pressures and perform the TIM reset. Refer to Tire Inflation Monitor Resetting in Tire Pressure Monitoring.

  3. Disconnect the EBCM harness connector.
  4. Install the J 39700 universal breakout box using the J 39700-300 cable adapter to the EBCM harness connector and the EBCM connector.
  5. Start the engine.
  6. Measure the DC duty cycle at the J 39700 universal pinout box between the delivered torque signal circuit and a good ground.

Does the duty cycle measure within the specified range?

5-95%

Go to Step 5

Go to Step 6

5

Measure the DC Hz at the J 39700 universal pinout box between the delivered torque signal circuit and a good ground.

Does the frequency measure within the specified range?

121-134 Hz

Go to Step 10

Go to Step 9

6

  1. Turn OFF the ignition.
  2. Disconnect the powertrain control module (PCM) harness connector.
  3. Turn ON the ignition, with the engine OFF.
  4. Measure the voltage from the delivered torque signal circuit to a good ground.

Does the voltage measure near the specified value?

B+

Go to Step 7

Go to Step 8

7

  1. Turn OFF the ignition.
  2. Disconnect the J 39700-300 cable adapter from the EBCM connector.
  3. Turn ON the ignition, with the engine OFF.
  4. Test the delivered torque signal circuit for a short to voltage. Refer to Circuit Testing and Wiring Repairs in Wiring Systems.

Did you find and correct the condition?

--

Go to Step 13

Go to Step 9

8

  1. Turn OFF the ignition.
  2. Disconnect the J 39700-300 cable adapter from the EBCM connector.
  3. Turn ON the ignition, with the engine OFF.
  4. Test the delivered torque signal circuit for the following conditions:
  5. • An open
    • A short to ground
    • A high resistance

Refer to Circuit Testing and Wiring Repairs in Wiring Systems.

Did you find and correct the condition?

--

Go to Step 13

Go to Step 10

9

Inspect for poor connections the harness connector of the PCM. Refer to Testing for Intermittent Conditions and Poor Connections and Connector Repairs in Wiring Systems.

Did you find and correct the condition?

--

Go to Step 13

Go to Step 11

10

Inspect for poor connections the harness connector of the EBCM. Refer to Testing for Intermittent Conditions and Poor Connections and Connector Repairs in Wiring Systems.

Did you find and correct the condition?

--

Go to Step 13

Go to Step 12

11

Important: The replacement PCM must be programmed.

Replace the PCM. Refer to Powertrain Control Module Replacement/Programming in Engine Controls - 3.8L.

Did you complete the repair?

--

Go to Step 13

--

12

Important: Perform the setup procedure for the EBCM. An unprogrammed EBCM will result in the following conditions:

   • Inoperative or poorly functioning DRP/ABS/TCS/VSES/VES/TIM (if equipped)
   • Set DTC C1248 EBCM Turned the Red Brake Warning Indicator On
   • Set DTC C1255m3 EBCM Internal Malfunction

Replace the EBCM. Refer to Electronic Brake Control Module Replacement .

Did you complete the repair?

--

Go to Step 13

--

13

  1. Use the scan tool in order to clear the DTCs.
  2. Operate the vehicle within the Conditions for Running the DTC as specified in the supporting text.

Does the DTC reset?

--

Go to Step 2

System OK