GM Service Manual Online
For 1990-2009 cars only

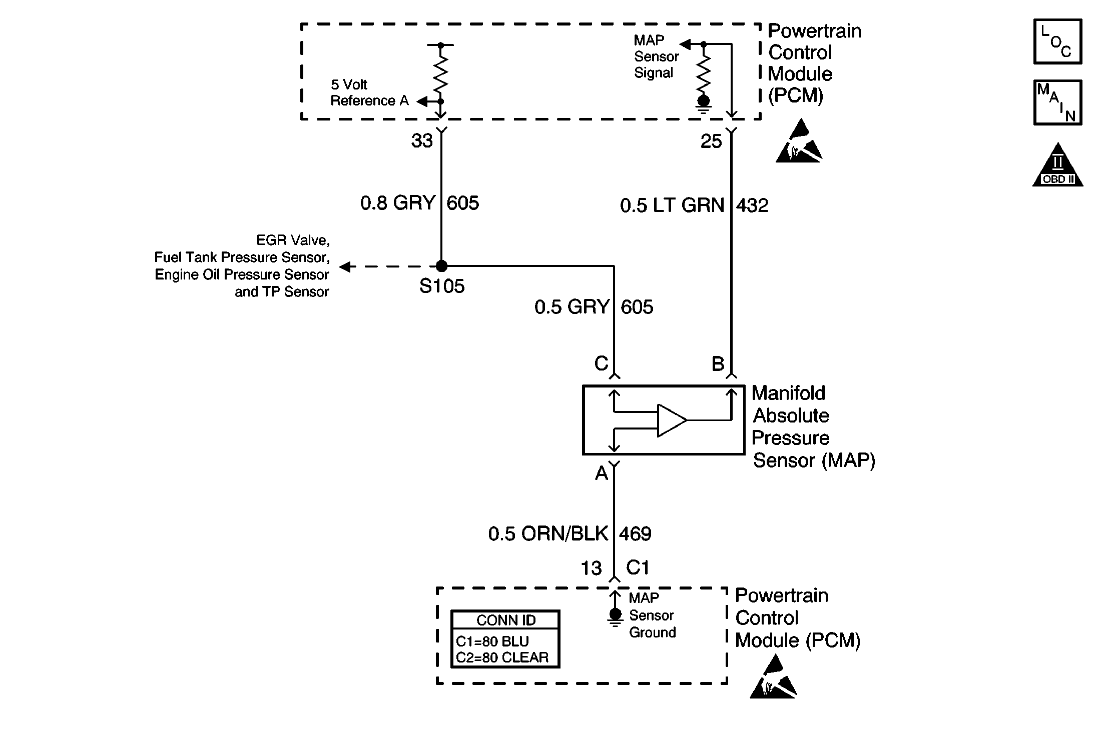
Object Number: 571268  Size: MF
Engine Controls Components
Sensors
Handling ESD Sensitive Parts Notice
OBD II Symbol Description Notice
Handling ESD Sensitive Parts Notice

Circuit Description

VIN K

The manifold absolute pressure (MAP) sensor responds to changes in intake manifold pressure (vacuum). The MAP sensor signal voltage to the PCM varies from below 2 volts at idle (high vacuum) to above 4 volts with the key on, engine not running or at wide-open throttle (low vacuum).

The MAP sensor is used to determine manifold pressure changes while the linear EGR flow test diagnostic is being run (refer to DTC P0401 Exhaust Gas Recirculation (EGR) Flow Insufficient ), to determine engine vacuum level for some other diagnostics and to determine barometric pressure (BARO). The PCM monitors the MAP signal for voltages outside the normal range of the MAP sensor. If the PCM detects a MAP signal voltage that is intermittently high, DTC P1106 will be set.

VIN 1

The manifold absolute pressure (MAP) sensor responds to changes in intake manifold pressure. The PCM supplies a 5 volt reference and a ground for the MAP sensor. The MAP sensor circuit provides a signal to the PCM relative to pressure changes in the manifold. With the key ON, engine not running, the MAP sensor signal voltage to the PCM varies between 1.5-2.5 volts. With the engine running, the MAP sensor voltage to the PCM varies from below 2 volts at idle (low manifold absolute pressure - high vacuum) to above 4 volts at wide-open throttle (high manifold absolute pressure - low vacuum). The PCM monitors the MAP signals for voltages outside the normal range of the MAP sensor. If the PCM detects a MAP signal voltage that is intermittently high, DTC P01106 will be set.

Conditions for Running the DTC

    • No TP sensor DTCs are present.
    • The ignition ON.
    • Throttle angle is steady below 2 percent if engine speed is less than 900 rpm.

Conditions for Setting the DTC

    • The MAP sensor intermittently indicates a voltage more than 4.2 volts.
    •  Above conditions are present more than 10 seconds.

Action Taken When the DTC Sets

The PCM stores conditions which were present when the DTC set as Failure Records only. This information will not be stored as Freeze Frame Records.

Conditions for Clearing the MIL/DTC

    • The DTC becomes history when the conditions for setting the DTC are no longer present.
    • The history DTC clears after 40 malfunction free warm-up cycles.
    • The PCM receives a clear code command from the scan tool.

Diagnostic Aids

Check for the following conditions:

    •  Monitor the MAP sensor using the scan tool. If the MAP sensor does not respond to throttle changes, check the 3X circuits from the ignition control module to the PCM.
         If the 3X signal is lost the PCM will only update the MAP sensor reading once per key cycle, when the engine is first started.
         Depending on where the MAP sensor voltage (high voltage or low voltage) is when the engine is started, the high or low voltage MAP sensor DTCs will set.
    •  Inspect PCM harness connectors for backed out terminals, improper mating, broken locks, improperly formed or damaged terminals, and poor terminal to wire connection.
    •  Inspect the wiring harness for damage. If the harness appears to be OK, observe the MAP display on the scan tool while moving connectors and wiring harnesses related to the sensor. A change in the display will indicate the location of the fault.

Reviewing the Failure Records vehicle mileage since the diagnostic test last failed may help determine how often the condition that caused the DTC to be set occurs. This may assist in diagnosing the condition.

Step

Action

Values

Yes

No

1

Did you perform the Powertrain On-Board Diagnostic (OBD) System Check ?

--

Go to Step 2

Go to Powertrain On Board Diagnostic (OBD) System Check

2

Important: If DTC P1635 5 Volt Reference Circuit is set, perform that diagnostic first.

Select DTC info, Last Test Fail and note any other DTCs set.

Is DTC P0108 also set?

--

Go to DTC P0108 Manifold Absolute Pressure (MAP) Sensor Circuit High Voltage

Go to Step 3

3

Is DTC P1111, P1115, and P1121 also set?

--

Go to Step 6

Go to Step 4

4

Check for a poor sensor ground circuit terminal connection at the MAP sensor. Refer to Repairing Connector Terminals in Wiring Systems.

Was a problem found?

--

Go to Step 9

Go to Step 5

5

Check the MAP signal circuit between the MAP sensor connector and the PCM for an intermittent short to voltage. Refer to Wiring Repairs in Wiring Systems.

Was a problem found?

--

Go to Step 10

Go to Step 6

6

Check for an intermittent short to voltage on the 5 Volt Reference A circuit between the PCM and the following components:

    •  MAP sensor
    •  EGR valve
    •  TP sensor

Refer to Wiring Repairs in Wiring Systems.

Was a problem found?

--

Go to Step 10

Go to Step 7

7

Check for a poor sensor ground circuit terminal connection at the PCM. Refer to Repairing Connector Terminals in Wiring Systems .

Was a problem found?

--

Go to Step 9

Go to Step 8

8

Check for an intermittent open or a faulty splice in the sensor ground circuit. Refer to Wiring Repairs in Wiring Systems.

Was a problem found?

--

Go to Step 10

Go to Diagnostic Aids

9

Replace the faulty harness connector terminal for sensor ground circuit. Refer to Repairing Connector Terminals in Wiring Systems.

Is the action complete?

--

Go to Step 11

--

10

Locate and repair intermittent open/short circuit in wiring harness as necessary. Refer to Wiring Repairs in Wiring Systems .

Is the action complete?

--

Go to Step 11

--

11

  1. Review and record scan tool Failure Records data.
  2. Clear DTCs.
  3. Operate vehicle within Failure Records conditions as noted.
  4. Use a scan tool in order to monitor specific DTC info for DTC P1106.

Does scan tool indicate DTC P1106 failed?

--

Go to Step 2

System OK