GM Service Manual Online
For 1990-2009 cars only

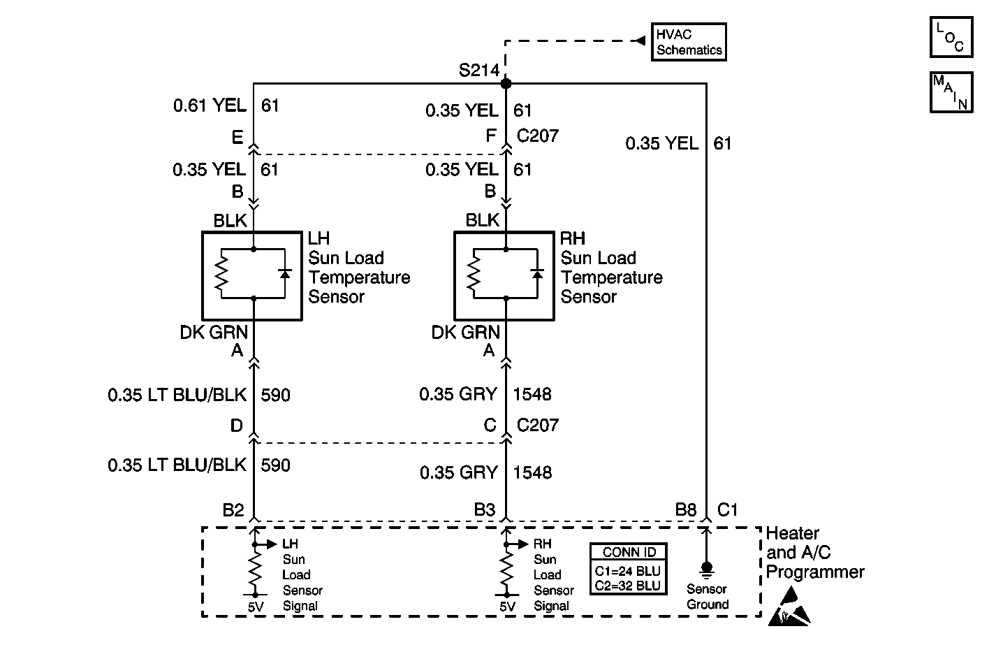
Object Number: 554217  Size: MF
HVAC Components
Sensors
Handling ESD Sensitive Parts Notice
Sensors

Circuit Description

The heater and A/C programmer monitors the ambient light on the driver's side of the vehicle via a light sensitive photodiode. The heater and A/C programmer uses this information to compensate for the effect of the sun on the inside temperature of the vehicle. When the sensor is in direct sunlight, the signal voltage is low. When the sensor is shaded, the signal voltage is high. The heater and A/C programmer requests A/C clutch engagement and controls the air mix door positions in order to maintain the temperature selected on the temperature controls.

Conditions for Running the DTC

The ignition is turned ON.

Conditions for Setting the DTC

The heater and A/C programmer detects the signal circuit is less than 0.09 V (5 counts) or greater than 4.90 V (250 counts).

Action Taken When the DTC Sets

A default value of 240 counts will be used for the sensor data by the heater and A/C programmer. The sun load displayed on the scan tool in the HVAC Sensors data list will be the default value. The actual sensor reading will be displayed on the scan tool in the Open/Short data list.

Conditions for Clearing the DTC

    • The DTC will become history if the heater and A/C programmer no longer detects a failure.
    • The history DTC will clear after 50 fault free ignition cycles.
    • The DTC can be cleared with a scan tool.

Test Description

The number(s) below refer to the step number(s) on the diagnostic table.

  1. Tests for the proper operation of the circuit in the high voltage range.

  2. Tests for the proper operation of the circuit in the low voltage range. If the fuse in the jumper opens when you perform this test, the signal circuit is shorted to voltage.

Step

Action

Value(s)

Yes

No

1

Did you perform the HVAC Diagnostic System Check?

--

Go to Step 2

Go to Diagnostic System Check

2

  1. Install a scan tool.
  2. Turn ON the ignition, with the engine OFF.
  3. With a scan tool, observe the Left Solar Sensor parameter in the Heating and Air Conditioning Open/Short data list.

Does the scan tool indicate that the Left Solar Sensor parameter is within the specified range?

0.09-4.90 V

Go to Testing for Intermittent Conditions and Poor Connections

Go to Step 3

3

  1. Turn OFF the ignition.
  2. Disconnect the LH sunload sensor.
  3. Turn ON the ignition, with the engine OFF.
  4. With a scan tool, observe the Left Solar Sensor parameter.

Does the scan tool indicate that the Left Solar Sensor parameter is greater than the specified value?

4.90 V

Go to Step 4

Go to Step 5

4

  1. Turn OFF the ignition.
  2. Connect a 3 amp fused jumper wire between the signal circuit of the LH sunload sensor and the ground circuit of the LH sunload sensor.
  3. Turn ON the ignition, with the engine OFF.
  4. With a scan tool, observe the Left Solar Sensor parameter.

Does the scan tool indicate that the Left Solar Sensor parameter is less than the specified value?

0.09 V

Go to Step 8

Go to Step 6

5

Test the signal circuit of the LH sunload sensor for a short to ground. Refer to Circuit Testing and Wiring Repairs in Wiring Systems.

Did you find and correct the condition?

--

Go to Step 12

Go to Step 9

6

Test the signal circuit of the LH sunload sensor for a short to voltage, a high resistance, or an open. Refer to Circuit Testing and Wiring Repairs in Wiring Systems.

Did you find and correct the condition?

--

Go to Step 12

Go to Step 7

7

Test the ground circuit of the LH sunload sensor for a high resistance or an open. Refer to Circuit Testing and Wiring Repairs in Wiring Systems.

Did you find and correct the condition?

--

Go to Step 12

Go to Step 9

8

Inspect for poor connections at the harness connector of the LH sunload sensor. Refer to Testing for Intermittent Conditions and Poor Connections and Connector Repairs in Wiring Systems.

Did you find and correct the condition?

--

Go to Step 12

Go to Step 10

9

Inspect for poor connections at the harness connector of the heater and A/C programmer. Refer to Testing for Intermittent Conditions and Poor Connections and Connector Repairs in Wiring Systems.

Did you find and correct the condition?

--

Go to Step 12

Go to Step 11

10

Replace the LH sunload sensor. Refer to Sun Load Sensor Replacement .

Did you complete the replacement?

--

Go to Step 12

--

11

Replace the heater and A/C programmer. Refer to Programmer Replacement .

Did you complete the replacement?

--

Go to Step 12

--

12

  1. Use the scan tool in order to clear the DTCs.
  2. Operate the vehicle within the Conditions for Running the DTC as specified in the supporting text.

Does the DTC reset?

--

Go to Step 2

System OK