GM Service Manual Online
For 1990-2009 cars only

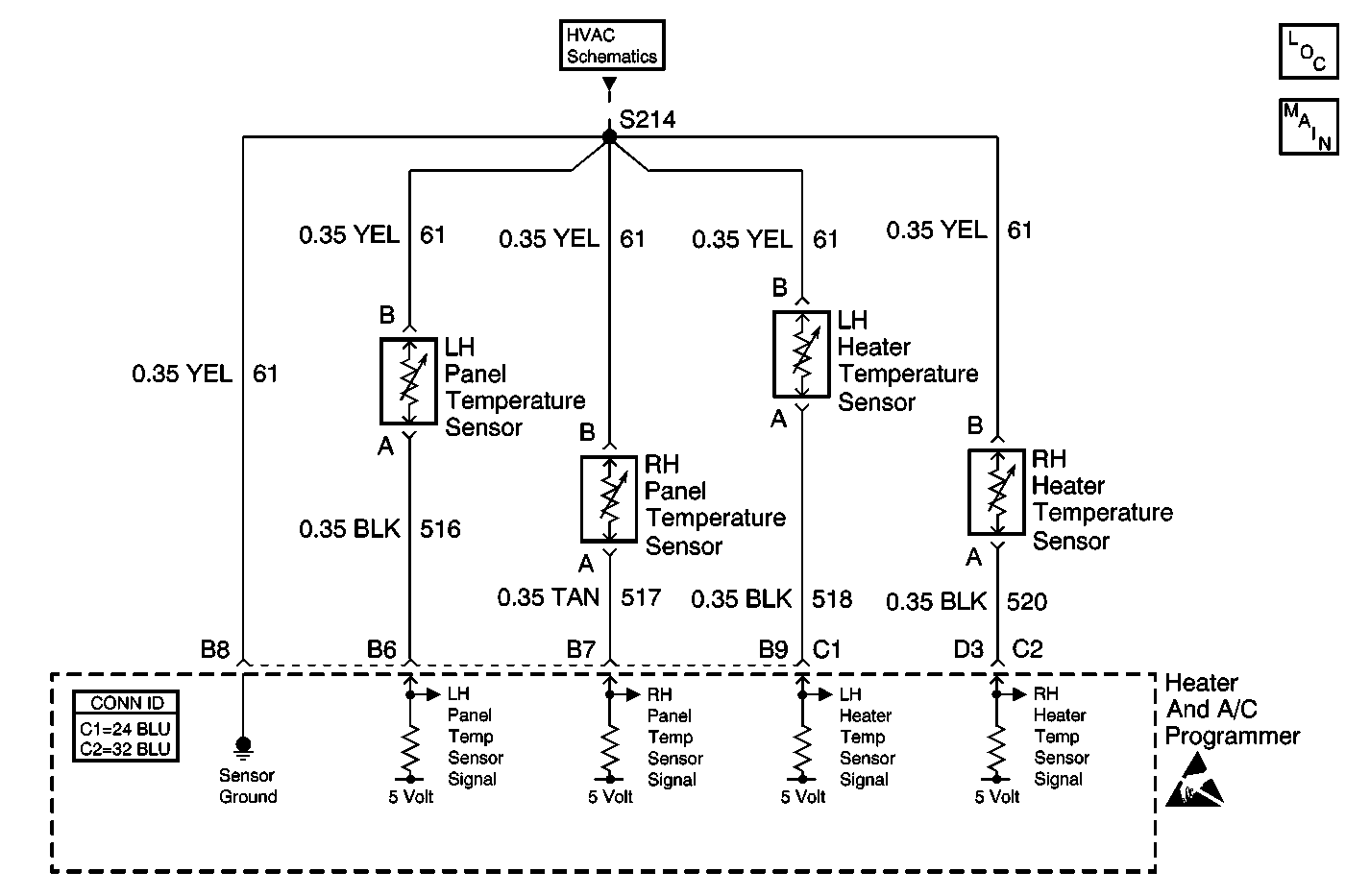
Object Number: 554203  Size: MF
HVAC Components
Sensors
Sensors
Handling ESD Sensitive Parts Notice

Circuit Description

The heater and A/C programmer monitors the air temperature in the right heater duct via a temperature sensor. When the air is cold, the sensor resistance and signal voltage are high. When the air is warm, the sensor resistance and signal voltage are low. The heater and A /C programmer controls the right air mix door position in order to maintain the temperature selected on the passenger temperature control.

Conditions for Running the DTC

The ignition is turned ON.

Conditions for Setting the DTC

The heater and A/C programmer detects the signal circuit is less than 0.09 V (5 counts) or greater than 4.90 V (250 counts).

Action Taken When the DTC Sets

    • When outside air temperature (OAT) is at or below 15°C (59°F), a default value of 4.80 V (245 counts) will be used by the heater and A/C programmer. The temperature displayed on the scan tool, -31°C (-23°F) in the HVAC Sensors data list, will be the default value. The actual sensor reading will be displayed on the scan tool in the Open/Short data list.
    • When OAT is at or above 16°C (60°F), a default value of 0.19 V (10 counts) will be used by the heater and A/C programmer. The temperature displayed on the scan tool, 119°C (246°F) in the HVAC Sensors data list, will be the default value. The actual sensor reading will be displayed on the scan tool in the Open/Short data list.

Conditions for Clearing the DTC

    • The DTC will become history if the heater and A/C programmer no longer detects a failure.
    • The history DTC will clear after 50 fault free ignition cycles.
    • The DTC can be cleared with a scan tool.

Test Description

The number(s) below refer to the step number(s) on the diagnostic table.

  1. Tests for the proper operation of the circuit in the high voltage range.

  2. Tests for the proper operation of the circuit in the low voltage range. If the fuse in the jumper opens when you perform this test, the signal circuit is shorted to voltage.

Step

Action

Value(s)

Yes

No

1

Did you perform the HVAC Diagnostic System Check?

--

Go to Step 2

Go to Diagnostic System Check

2

  1. Install a scan tool.
  2. Turn ON the ignition, with the engine OFF.
  3. With a scan tool, observe the Right HTR Duct Temp parameter in the Heating and Air Conditioning Open/Short data list.

Does the scan tool indicate that the Right HTR Duct Temp parameter is within the specified range?

0.09-4.90 V

Go to Testing for Intermittent Conditions and Poor Connections

Go to Step 3

3

  1. Turn OFF the ignition.
  2. Disconnect the RH heater temp sensor.
  3. Turn ON the ignition, with the engine OFF.
  4. With a scan tool, observe the Right HTR Duct Temp parameter.

Does the scan tool indicate that the Right HTR Duct Temp parameter is greater than the specified value?

4.90 V

Go to Step 4

Go to Step 5

4

  1. Turn OFF the ignition.
  2. Connect a 3 amp fused jumper wire between the signal circuit of the RH heater temp sensor and the ground circuit of the RH heater temp sensor.
  3. Turn ON the ignition, with the engine OFF.
  4. With a scan tool, observe the Right HTR Duct Temp parameter.

Does the scan tool indicate that the Right HTR Duct Temp parameter is less than the specified value?

0.09 V

Go to Step 8

Go to Step 6

5

Test the signal circuit of the RH heater temp sensor for a short to ground. Refer to Circuit Testing and Wiring Repairs in Wiring Systems.

Did you find and correct the condition?

--

Go to Step 12

Go to Step 9

6

Test the signal circuit of the RH heater temp sensor for a short to voltage, a high resistance, or an open. Refer to Circuit Testing and Wiring Repairs in Wiring Systems.

Did you find and correct the condition?

--

Go to Step 12

Go to Step 7

7

Test the ground circuit of the RH heater temp sensor for a high resistance or an open. Refer to Circuit Testing and Wiring Repairs in Wiring Systems.

Did you find and correct the condition?

--

Go to Step 12

Go to Step 9

8

Inspect for poor connections at the harness connector of the RH heater temp sensor. Refer to Testing for Intermittent Conditions and Poor Connections and Connector Repairs in Wiring Systems.

Did you find and correct the condition?

--

Go to Step 12

Go to Step 10

9

Inspect for poor connections at the harness connector of the heater and A/C programmer. Refer to Testing for Intermittent Conditions and Poor Connections and Connector Repairs in Wiring Systems.

Did you find and correct the condition?

--

Go to Step 12

Go to Step 11

10

Replace the RH heater temp sensor. Refer to Heater Temperature Sensor Replacement .

Did you complete the replacement?

--

Go to Step 12

--

11

Replace the heater and A/C programmer. Refer to Programmer Replacement .

Did you complete the replacement?

--

Go to Step 12

--

12

  1. Use the scan tool in order to clear the DTCs.
  2. Operate the vehicle within the Conditions for Running the DTC as specified in the supporting text.

Does the DTC reset?

--

Go to Step 2

System OK