GM Service Manual Online
For 1990-2009 cars only

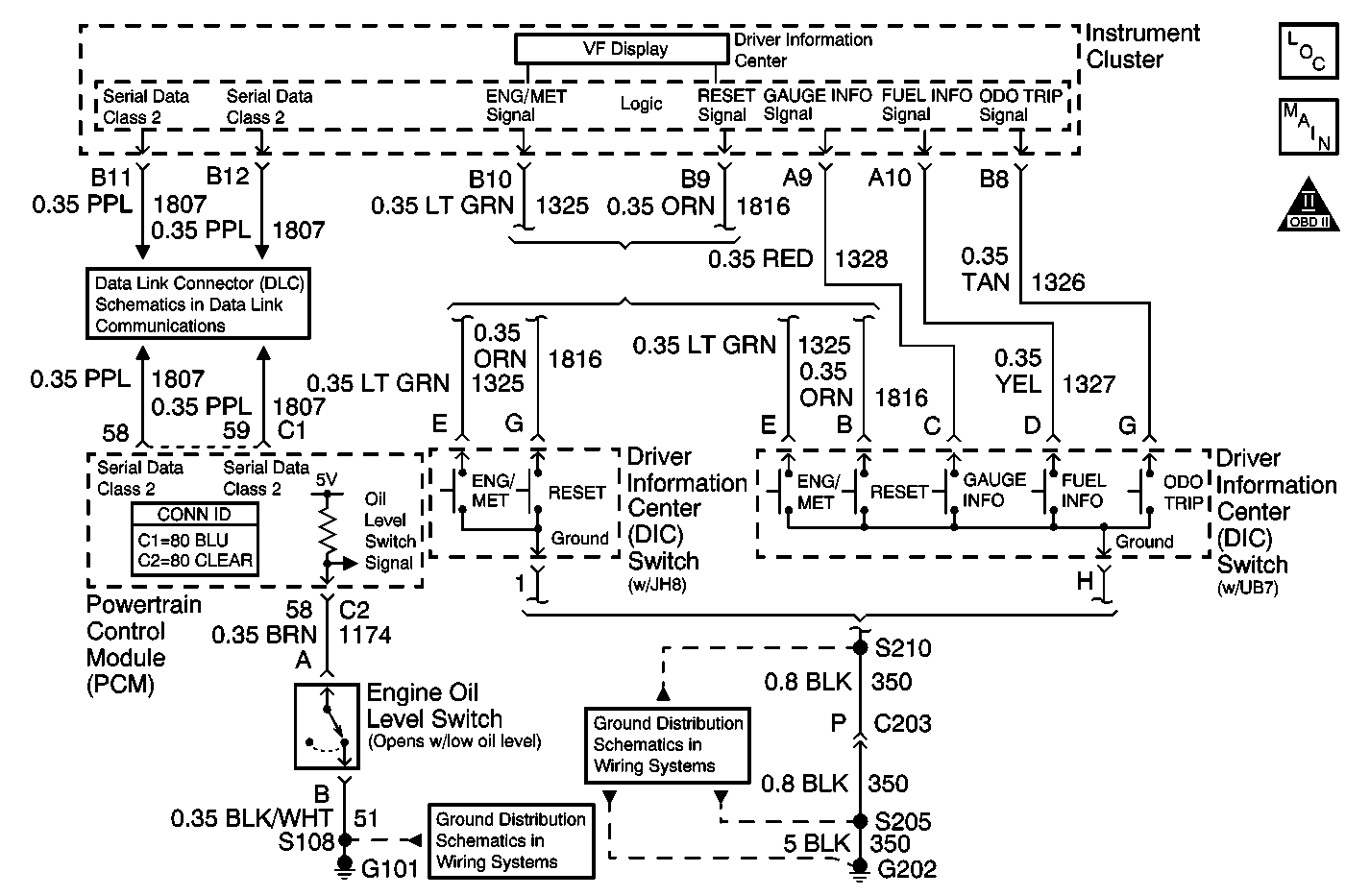
Object Number: 562866  Size: MF
Instrument Cluster and HUD Component Views
Driver Information Center
Handling ESD Sensitive Parts Notice
G400, 1 of 2

Circuit Description

The instrument panel cluster (IPC) contains switch circuits that allow certain functions to be performed when depressed. The IPC monitors these circuit voltage levels and detects when a certain button has been pressed by the voltage drop. If the voltage is not within range for a pre determined amount of time, the IPC detects the malfunction and sets the DTC.

Conditions for Running the DTC

The IPC and the odo/trip switch must be active.

Conditions for Setting the DTC

The IPC detects that the odometer / trip switch input is low (shorted to ground) for more than 60 continuous seconds.

Action Taken When the DTC Sets

The IPC will disable (ignore) the reset switch input, therefore the correct status of the switch will not be known when requested through the DLC.

Conditions for Clearing the DTC

The IPC does not detect a failure during the diagnostic self test after the ignition has been cycled.

Diagnostic Aids

The IPC will store the code as current only as long as the failure exists. An intermittent failure will be stored as a history DTC.

Test Description

The numbers below refer to the step numbers on the diagnostic table.

  1. Tests for a short to ground in the signal circuit.

Step

Action

Value(s)

Yes

No

1

Did you perform the Instrument Cluster Diagnostic System Check?

--

Go to Step 2

Go to Diagnostic System Check - Instrument Cluster

2

  1. Install a scan tool.
  2. Turn ON the ignition, with the engine OFF.
  3. With a scan tool, observe the Trip A/B parameter in the Instrument Panel Cluster data list.

Does the scan tool display OFF?

--

Go to Step 3

Go to Step 4

3

  1. Depress the ODO/TRIP switch.
  2. With the scan tool, observe the Trip A/B parameter.

Does the Trip A/B parameter change state?

--

Go to Testing for Intermittent Conditions and Poor Connections in Wiring Systems

Go to Step 4

4

  1. Turn OFF the ignition.
  2. Disconnect the driver information center (DIC) switch.
  3. Turn ON the ignition, with the engine OFF.
  4. With a scan tool, observe the Trip A/B parameter.

Does the scan tool display OFF?

--

Go to Step 7

Go to Step 5

5

Test the signal circuit of the ODO/TRIP switch for a short to ground. Refer to Circuit Testing and Wiring Repairs in Wiring Systems.

Did you find and correct the condition?

--

Go to Step 10

Go to Step 6

6

Inspect for poor connections at the harness connector of the IPC. Refer to Testing for Intermittent Conditions and Poor Connections and Connector Repairs in Wiring Systems.

Did you find and correct the condition?

--

Go to Step 10

Go to Step 8

7

Inspect for poor connections at the harness connector of the DIC switch. Refer to Testing for Intermittent Conditions and Poor Connections and Connector Repairs in Wiring Systems.

Did you find and correct the condition?

--

Go to Step 10

Go to Step 9

8

Replace the IPC. Refer to Instrument Cluster Replacement .

Did you complete the replacement?

--

Go to Step 10

--

9

Replace the DIC switch. Refer to Driver Information Display Switch Replacement .

Did you complete the replacement?

--

Go to Step 10

--

10

  1. Use the scan tool in order to clear the DTCs.
  2. Operate the vehicle within the Conditions for Running the DTC as specified in the supporting text.

Does the DTC reset?

--

Go to Step 2

System OK