GM Service Manual Online
For 1990-2009 cars only

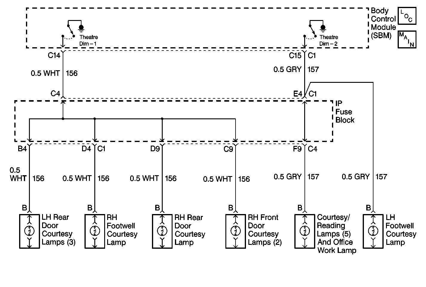
Object Number: 596628  Size: MF
Lighting Systems Components
Interior Lights Dimming Schematics

Circuit Description

The body control module (BCM) controls the courtesy lamps for theatre dimming. The ground will slowly reduce in order to turn the lamps to the OFF position. If there is a short to voltage condition in the Theater Dim #1 control circuit, the DTC will set.

Conditions for Setting the DTC

The BCM detects a short to voltage in the Theater Dim #1 control circuit.

Action Taken When the DTC Sets

    • Stores a DTC B2453 in the BCM memory
    • No driver warning message will be displayed for this DTC.

Conditions for Clearing the DTC

    • A short to voltage is no longer detected by the BCM in the Theater Dim #1 control circuit.
    • A history DTC clears after 50 consecutive ignition cycles if the condition for the fault is no longer present.

Test Description

The number(s) below refer to the step number(s) on the diagnostic table.

  1. This step tests the theater dim #1 for a short to power.

Step

Action

Value(s)

Yes

No

1

Did you perform the Lighting System Diagnostic System Check?

--

Go to Step 2

Go to Diagnostic System Check - Lighting Systems

2

  1. Disconnect the body control module (BCM).
  2. Test the Theater Dim #1 control circuit for a short to power. Refer to Circuit Testing and Wiring Repairs in Wiring Systems.

Did you find and correct the condition?

--

Go to Step 5

Go to Step 3

3

Inspect for poor connections at the BCM. Refer to Testing for Intermittent Conditions and Poor Connections and Connector Repairs in Wiring Systems.

Did you find and correct the condition?

--

Go to Step 5

Go to Step 4

4

Replace the BCM. Refer to Body Control Module Replacement in Body Control System.

Did you complete the replacement?

--

Go to Step 5

--

5

Operate the system in order to verify the repair.

Did you find and correct the condition?

--

System OK

Go to Step 2